Skip to main content

Parts Diagrams

customer service agent speaking with a customer

Welcome, Kawasaki owners. Access the information and tools you need to get the most out of your vehicle.

Welcome, Kawasaki owners. Access the information and tools you need to get the most out of your vehicle.

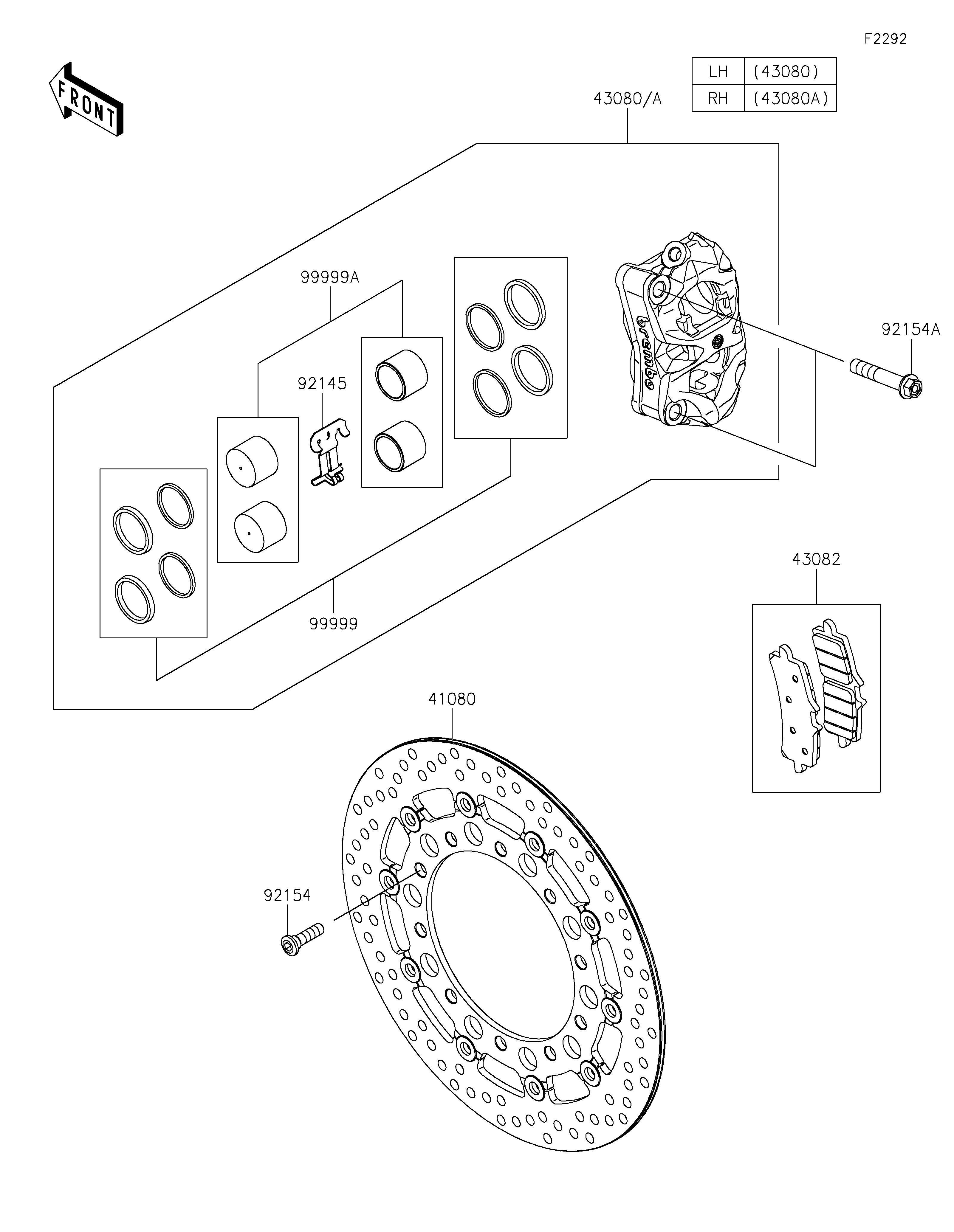
41080
43080
43080A
43082
92145
92154
92154A
99999
99999A
Part Item Information
ITEM NAME REF # PART NUMBER QUANTITY DESTINATION REMARKS
DISC,FR,320MM,BLACK+BLK 41080 41080-0688-18U 2
CALIPER-SUB-ASSY,FR,LH 43080 43080-0227 1
CALIPER-SUB-ASSY,FR,RH 43080A 43080-0228 1
PAD-ASSY-BRAKE 43082 43082-0157 2
SPRING 92145 92145-1892 2
BOLT,SOCKET,8X30 92154 92154-1723 10
BOLT,FLANGED,10X55 92154A 92154-3894 4
KIT.,DUST SEAL 99999 99999-0557 2
KIT.,CALIPER PISTON 99999A 99999-0698 2