Skip to main content

Parts Diagrams

customer service agent speaking with a customer

Welcome, Kawasaki owners. Access the information and tools you need to get the most out of your vehicle.

Welcome, Kawasaki owners. Access the information and tools you need to get the most out of your vehicle.

Part Item Information
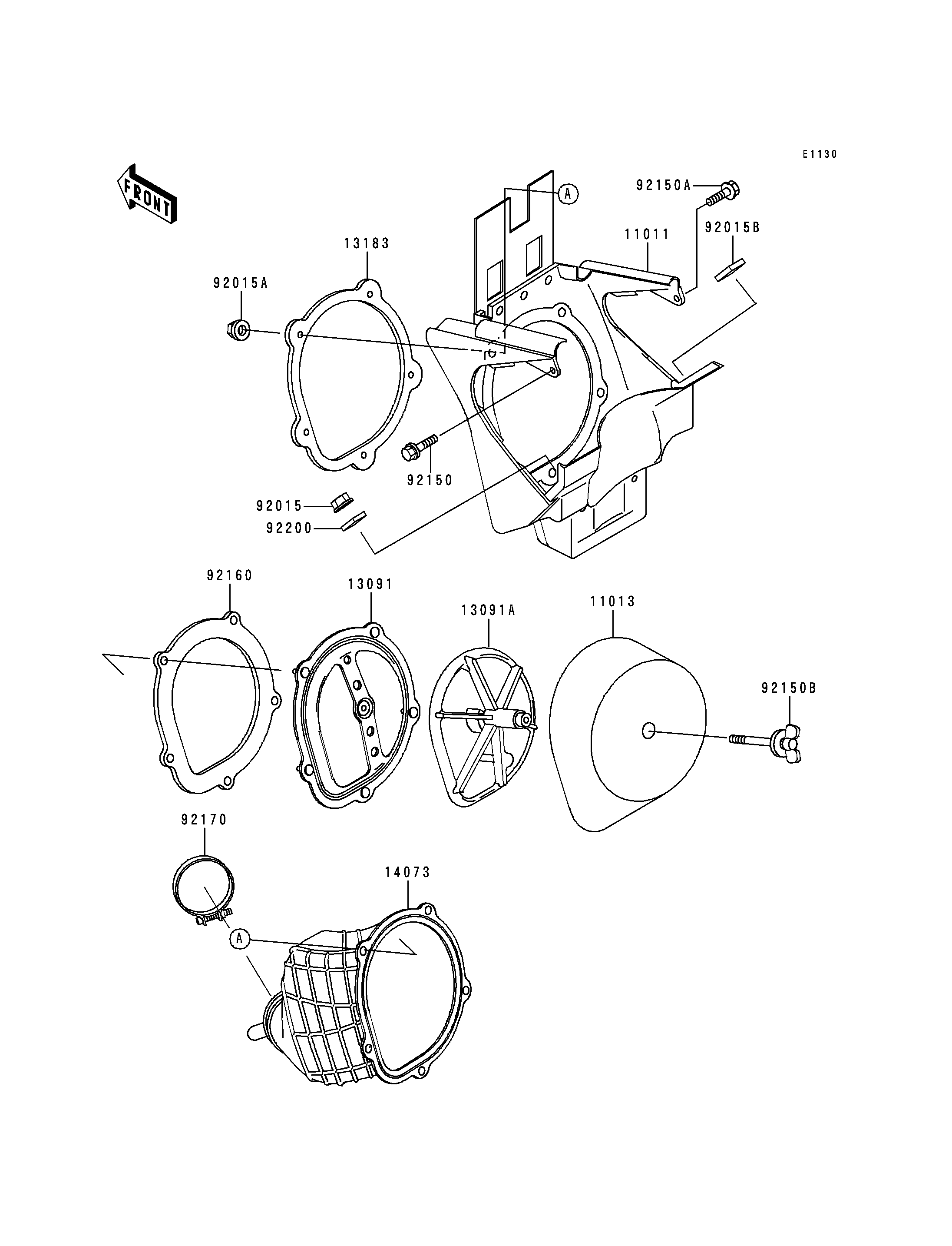
ITEM NAME REF # PART NUMBER QUANTITY DESTINATION REMARKS
CASE-AIR FILTER,S.GRAY 11011 11011-1534-RG 1
ELEMENT-AIR FILTER 11013 11013-1264 1
HOLDER 13091 13091-1664 1
HOLDER,ELEMENT 13091A 13091-1708 1
PLATE,DUCT FITTING 13183 13183-1530 1
DUCT 14073 14073-1649 1
NUT,FLANGED,6MM 92015 92015-1078 1
NUT,FLANGED,5MM 92015A 92015-1259 5
NUT 92015B 92015-1918 1
BOLT,FLANGED,6X30 92150 92150-1486 1
BOLT,FLANGED,6X16 92150A 92150-1506 1
BOLT,WING 92150B 92150-1565 1
DAMPER,DUCT SEAL 92160 92160-1196 1
CLAMP,AIR FILTER 92170 92170-1464 1
WASHER 92200 92200-1404 1