Skip to main content

Parts Diagrams

customer service agent speaking with a customer

Welcome, Kawasaki owners. Access the information and tools you need to get the most out of your vehicle.

Welcome, Kawasaki owners. Access the information and tools you need to get the most out of your vehicle.

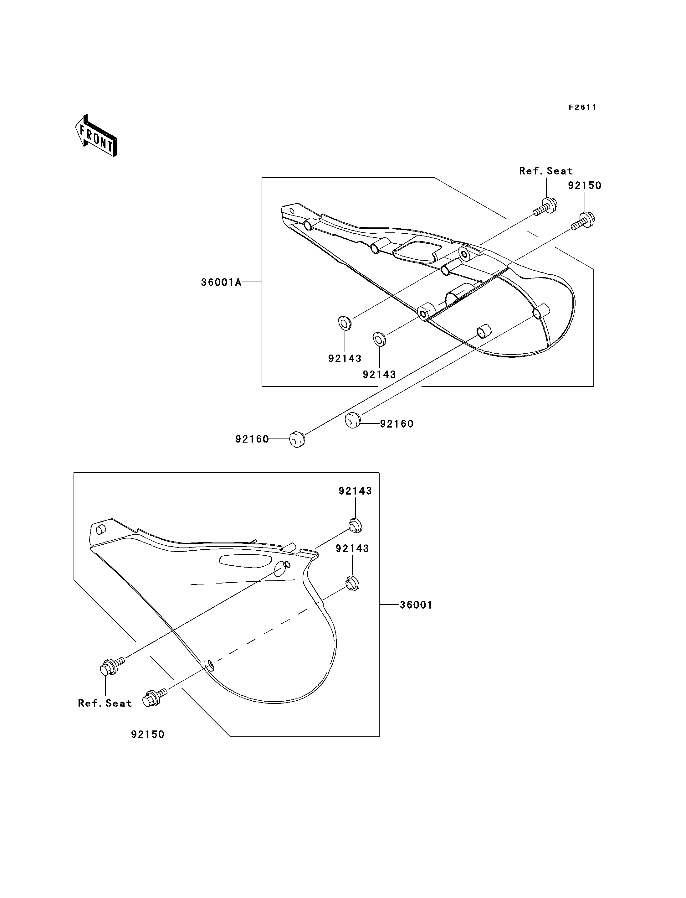
36001
36001A
92143
92143
92143
92143
92150
92150
92160
92160
Part Item Information
ITEM NAME REF # PART NUMBER QUANTITY DESTINATION REMARKS
COVER-SIDE,LH,P.WHITE 36001 36001-1656-6F 1
COVER-SIDE,RH,P.WHITE 36001A 36001-1657-6F 1
COLLAR 92143 92143-1196 4
BOLT,6X20 92150 92150-1339 2
DAMPER 92160 92160-1994 2