Skip to main content

Parts Diagrams

customer service agent speaking with a customer

Welcome, Kawasaki owners. Access the information and tools you need to get the most out of your vehicle.

Welcome, Kawasaki owners. Access the information and tools you need to get the most out of your vehicle.

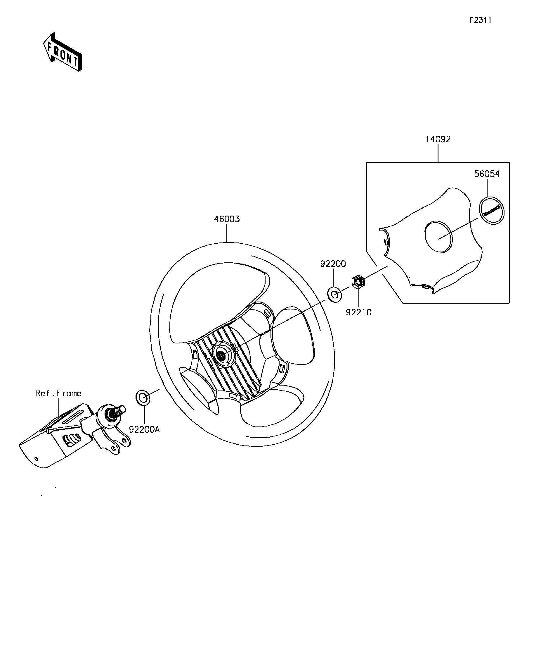
2017 MULE PRO-FX RANCH EDITION - Steering Wheel

14092
46003
56054
92200
92200A
92210
Part Item Information
ITEM NAME REF # PART NUMBER QUANTITY DESTINATION REMARKS
COVER,HORN SWITCH 14092 14092-1029 1
HANDLE 46003 46003-0595 1
MARK,CENTER LOGO,KAWASAKI 56054 56054-1188 1
WASHER,12.1X25X1.6 92200 92200-0455 1
WASHER,15X25X1.6 92200A 92200-0460 1
NUT,LOCK,12MM 92210 92210-1249 1