main content of page
Parts Diagrams
OWNER CENTER |

Welcome, Kawasaki owners. Access the information and tools you need to get the most out of your vehicle.
OWNER CENTER |
Welcome, Kawasaki owners. Access the information and tools you need to get the most out of your vehicle.
Parts Diagrams |
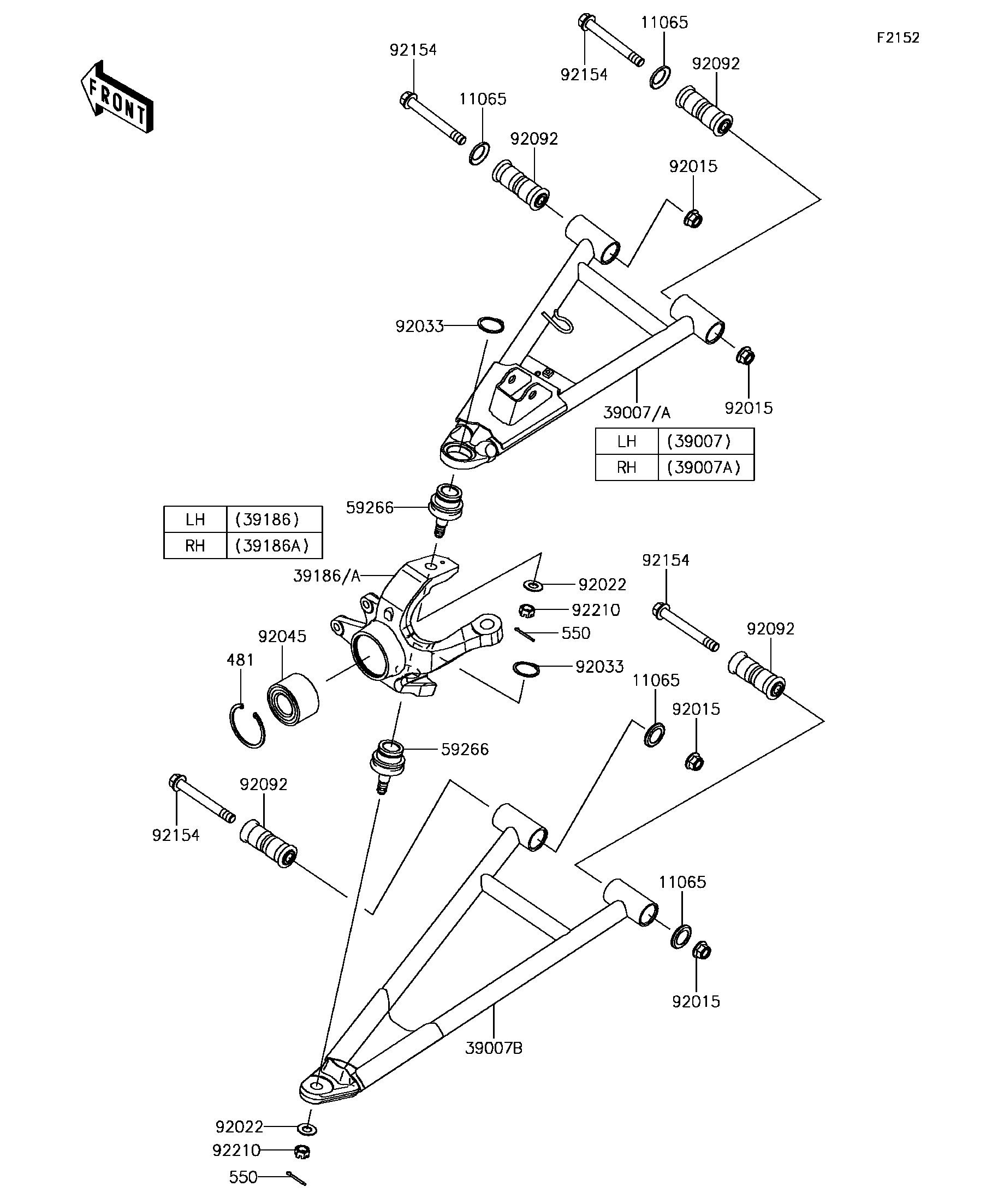
2017 MULE PRO-FX™ RANCH EDITION - Front Suspension
11065
11065
11065
11065
39007
39007A
39007B
39186
39186A
481
550
550
59266
59266
92015
92015
92015
92015
92022
92022
92033
92033
92045
92092
92092
92092
92092
92154
92154
92154
92154
92210
92210
ITEM NAME | REF # | PART NUMBER | QUANTITY | DESTINATION | REMARKS |
---|---|---|---|---|---|
CAP,ARM | 11065 | 11065-0838 | 8 | ||
ARM-SUSP,FR,UPP,LH | 39007 | 39007-0377 | 1 | ||
ARM-SUSP,FR,UPP,RH | 39007A | 39007-0378 | 1 | ||
ARM-SUSP,FR,LWR,LH&RH | 39007B | 39007-0383 | 2 | ||
KNUCKLE,FR,LH | 39186 | 39186-0319 | 1 | ||
KNUCKLE,FR,RH | 39186A | 39186-0320 | 1 | ||
CIRCLIP-TYPE-C | 481 | 481J6000 | 2 | ||
PIN-COTTER,3.0X25 | 550 | 550AA3025 | 4 | ||
JOINT-BALL | 59266 | 59266-0711 | 4 | ||
NUT,LOCK,FLANGED,12MM | 92015 | 92015-1433 | 8 | ||
WASHER | 92022 | 92022-1831 | 4 | ||
RING-SNAP,C-TYPE,32MM | 92033 | 92033-1262 | 4 | ||
BEARING-BALL,30X60X37 | 92045 | 92045-0762 | 2 | ||
BUSHING-RUBBER,12X20X78 | 92092 | 92092-0028 | 8 | ||
BOLT,FLANGED,12X100 | 92154 | 92154-1318 | 8 | ||
NUT,CASTLE,12MM | 92210 | 92210-0395 | 4 |
CAP,ARM | |
REF # | 11065 |
---|---|
PART NUMBER | |
QUANTITY | 8 |
DESTINATION | |
REMARKS |
ARM-SUSP,FR,UPP,LH | |
REF # | 39007 |
---|---|
PART NUMBER | |
QUANTITY | 1 |
DESTINATION | |
REMARKS |
ARM-SUSP,FR,UPP,RH | |
REF # | 39007A |
---|---|
PART NUMBER | |
QUANTITY | 1 |
DESTINATION | |
REMARKS |
ARM-SUSP,FR,LWR,LH&RH | |
REF # | 39007B |
---|---|
PART NUMBER | |
QUANTITY | 2 |
DESTINATION | |
REMARKS |
KNUCKLE,FR,LH | |
REF # | 39186 |
---|---|
PART NUMBER | |
QUANTITY | 1 |
DESTINATION | |
REMARKS |
KNUCKLE,FR,RH | |
REF # | 39186A |
---|---|
PART NUMBER | |
QUANTITY | 1 |
DESTINATION | |
REMARKS |
CIRCLIP-TYPE-C | |
REF # | 481 |
---|---|
PART NUMBER | |
QUANTITY | 2 |
DESTINATION | |
REMARKS |
PIN-COTTER,3.0X25 | |
REF # | 550 |
---|---|
PART NUMBER | |
QUANTITY | 4 |
DESTINATION | |
REMARKS |
JOINT-BALL | |
REF # | 59266 |
---|---|
PART NUMBER | |
QUANTITY | 4 |
DESTINATION | |
REMARKS |
NUT,LOCK,FLANGED,12MM | |
REF # | 92015 |
---|---|
PART NUMBER | |
QUANTITY | 8 |
DESTINATION | |
REMARKS |
WASHER | |
REF # | 92022 |
---|---|
PART NUMBER | |
QUANTITY | 4 |
DESTINATION | |
REMARKS |
RING-SNAP,C-TYPE,32MM | |
REF # | 92033 |
---|---|
PART NUMBER | |
QUANTITY | 4 |
DESTINATION | |
REMARKS |
BEARING-BALL,30X60X37 | |
REF # | 92045 |
---|---|
PART NUMBER | |
QUANTITY | 2 |
DESTINATION | |
REMARKS |
BUSHING-RUBBER,12X20X78 | |
REF # | 92092 |
---|---|
PART NUMBER | |
QUANTITY | 8 |
DESTINATION | |
REMARKS |
BOLT,FLANGED,12X100 | |
REF # | 92154 |
---|---|
PART NUMBER | |
QUANTITY | 8 |
DESTINATION | |
REMARKS |
NUT,CASTLE,12MM | |
REF # | 92210 |
---|---|
PART NUMBER | |
QUANTITY | 4 |
DESTINATION | |
REMARKS |