main content of page
Parts Diagrams
OWNER CENTER |

Welcome, Kawasaki owners. Access the information and tools you need to get the most out of your vehicle.
OWNER CENTER |
Welcome, Kawasaki owners. Access the information and tools you need to get the most out of your vehicle.
Parts Diagrams |
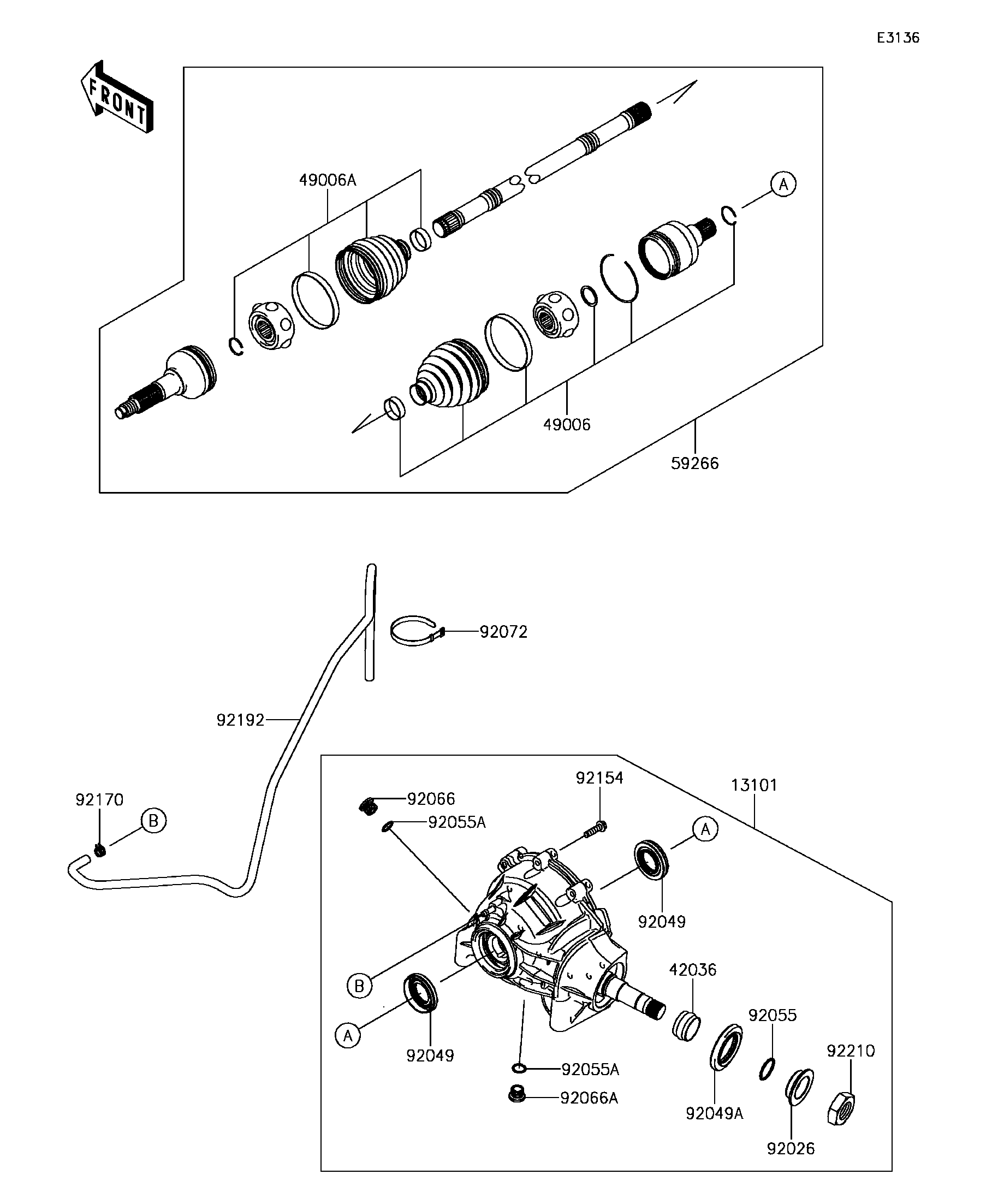
2017 MULE PRO-FX™ RANCH EDITION - Drive Shaft-Front
13101
42036
49006
49006A
59266
92026
92049
92049
92049A
92055
92055A
92055A
92066
92066A
92072
92154
92170
92192
92210
ITEM NAME | REF # | PART NUMBER | QUANTITY | DESTINATION | REMARKS |
---|---|---|---|---|---|
GEAR-ASSY,FRONT DIFFERENTIAL | 13101 | 13101-0662 | 1 | ||
SLEEVE | 42036 | 42036-0741 | 1 | ||
BOOT,INSIDE | 49006 | 49006-0578 | 2 | ||
BOOT,OUTSIDE | 49006A | 49006-0584 | 2 | ||
JOINT-BALL,FR | 59266 | 59266-0710 | 2 | ||
SPACER | 92026 | 92026-0776 | 1 | ||
SEAL-OIL,33X60X7 | 92049 | 92049-0760 | 2 | ||
SEAL-OIL,44X72X7 | 92049A | 92049-0766 | 1 | ||
RING-O | 92055 | 92055-0788 | 1 | ||
RING-O,15.3X2.2 | 92055A | 92055-0830 | 2 | ||
PLUG | 92066 | 92066-0777 | 1 | ||
PLUG | 92066A | 92066-0778 | 1 | ||
BAND,L=186 | 92072 | 92072-056 | 1 | ||
BOLT,FLANGED,8X30 | 92154 | 92154-1370 | 10 | ||
CLAMP | 92170 | 92170-2082 | 1 | ||
TUBE,BREATHER | 92192 | 92192-1341 | 1 | ||
NUT | 92210 | 92210-0894 | 1 |
GEAR-ASSY,FRONT DIFFERENTIAL | |
REF # | 13101 |
---|---|
PART NUMBER | |
QUANTITY | 1 |
DESTINATION | |
REMARKS |
SLEEVE | |
REF # | 42036 |
---|---|
PART NUMBER | |
QUANTITY | 1 |
DESTINATION | |
REMARKS |
BOOT,INSIDE | |
REF # | 49006 |
---|---|
PART NUMBER | |
QUANTITY | 2 |
DESTINATION | |
REMARKS |
BOOT,OUTSIDE | |
REF # | 49006A |
---|---|
PART NUMBER | |
QUANTITY | 2 |
DESTINATION | |
REMARKS |
JOINT-BALL,FR | |
REF # | 59266 |
---|---|
PART NUMBER | |
QUANTITY | 2 |
DESTINATION | |
REMARKS |
SPACER | |
REF # | 92026 |
---|---|
PART NUMBER | |
QUANTITY | 1 |
DESTINATION | |
REMARKS |
SEAL-OIL,33X60X7 | |
REF # | 92049 |
---|---|
PART NUMBER | |
QUANTITY | 2 |
DESTINATION | |
REMARKS |
SEAL-OIL,44X72X7 | |
REF # | 92049A |
---|---|
PART NUMBER | |
QUANTITY | 1 |
DESTINATION | |
REMARKS |
RING-O | |
REF # | 92055 |
---|---|
PART NUMBER | |
QUANTITY | 1 |
DESTINATION | |
REMARKS |
RING-O,15.3X2.2 | |
REF # | 92055A |
---|---|
PART NUMBER | |
QUANTITY | 2 |
DESTINATION | |
REMARKS |
PLUG | |
REF # | 92066 |
---|---|
PART NUMBER | |
QUANTITY | 1 |
DESTINATION | |
REMARKS |
PLUG | |
REF # | 92066A |
---|---|
PART NUMBER | |
QUANTITY | 1 |
DESTINATION | |
REMARKS |
BAND,L=186 | |
REF # | 92072 |
---|---|
PART NUMBER | |
QUANTITY | 1 |
DESTINATION | |
REMARKS |
BOLT,FLANGED,8X30 | |
REF # | 92154 |
---|---|
PART NUMBER | |
QUANTITY | 10 |
DESTINATION | |
REMARKS |
CLAMP | |
REF # | 92170 |
---|---|
PART NUMBER | |
QUANTITY | 1 |
DESTINATION | |
REMARKS |
TUBE,BREATHER | |
REF # | 92192 |
---|---|
PART NUMBER | |
QUANTITY | 1 |
DESTINATION | |
REMARKS |
NUT | |
REF # | 92210 |
---|---|
PART NUMBER | |
QUANTITY | 1 |
DESTINATION | |
REMARKS |