Skip to main content

Parts Diagrams

customer service agent speaking with a customer

Welcome, Kawasaki owners. Access the information and tools you need to get the most out of your vehicle.

Welcome, Kawasaki owners. Access the information and tools you need to get the most out of your vehicle.

Part Item Information
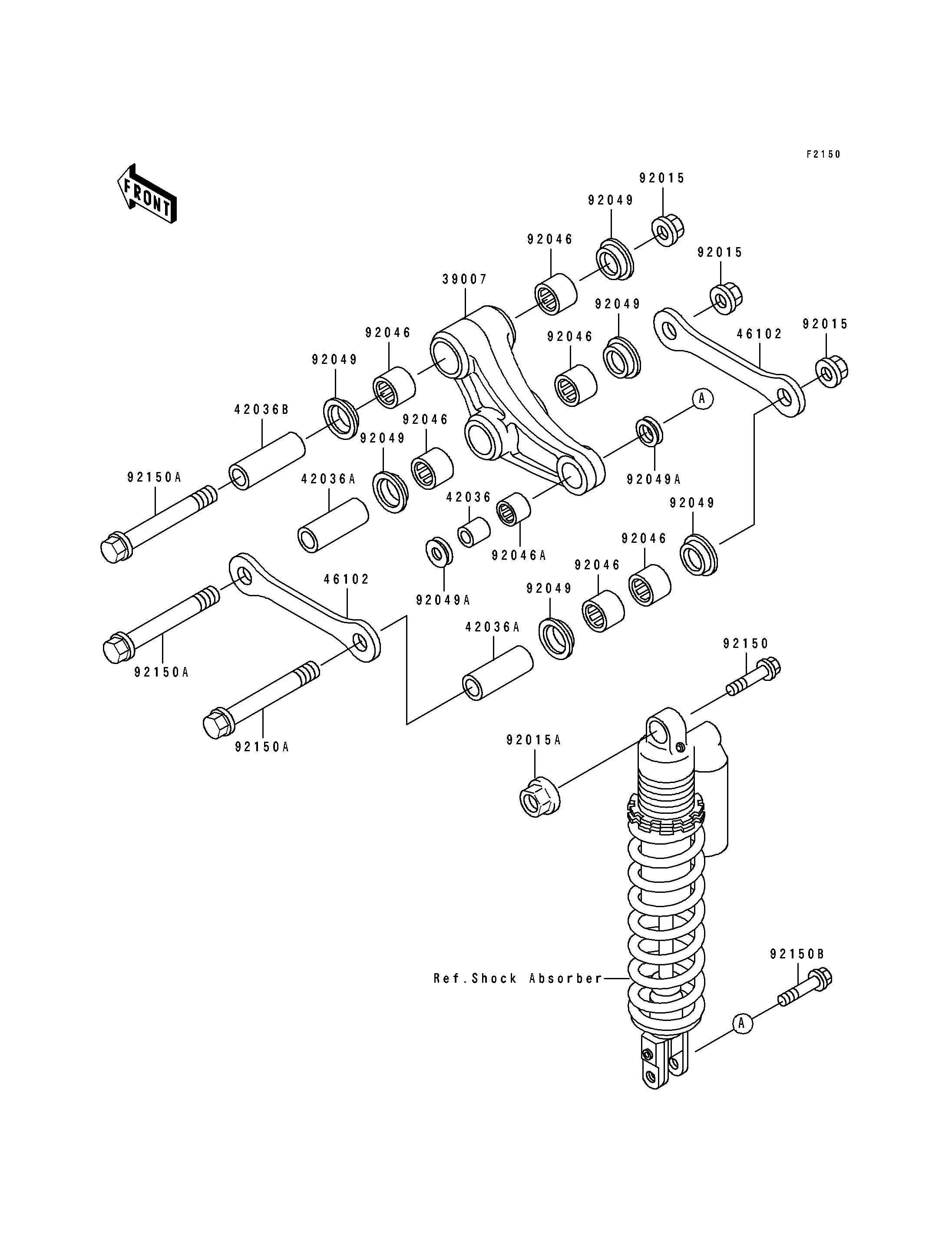
ITEM NAME REF # PART NUMBER QUANTITY DESTINATION REMARKS
ARM-SUSP,UNI TRAK 39007 39007-1196 1
SLEEVE,10X16X19 42036 42036-1248 1
SLEEVE,12X18X57 42036A 42036-1273 2
SLEEVE,12X18X49 42036B 42036-1274 1
ROD,SUSPENSION 46102 46102-1291 2
NUT,FLANGED,12MM 92015 92015-1433 3
NUT,FLANGED,10MM 92015A 92015-1502 1
BEARING-NEEDLE,18BM2416 92046 92046-1144 6
BEARING-NEEDLE,16BM2212 92046A 92046-1192 1
SEAL-OIL 92049 92049-1328 6
SEAL-OIL 92049A 92049-1330 2
BOLT,FLANGED,10X57 92150 92150-1227 1
BOLT,FLANGED,12X83 92150A 92150-1412 3
BOLT,FLANGED,10X40 92150B 92150-1711 1