Skip to main content

Parts Diagrams

customer service agent speaking with a customer

Welcome, Kawasaki owners. Access the information and tools you need to get the most out of your vehicle.

Welcome, Kawasaki owners. Access the information and tools you need to get the most out of your vehicle.

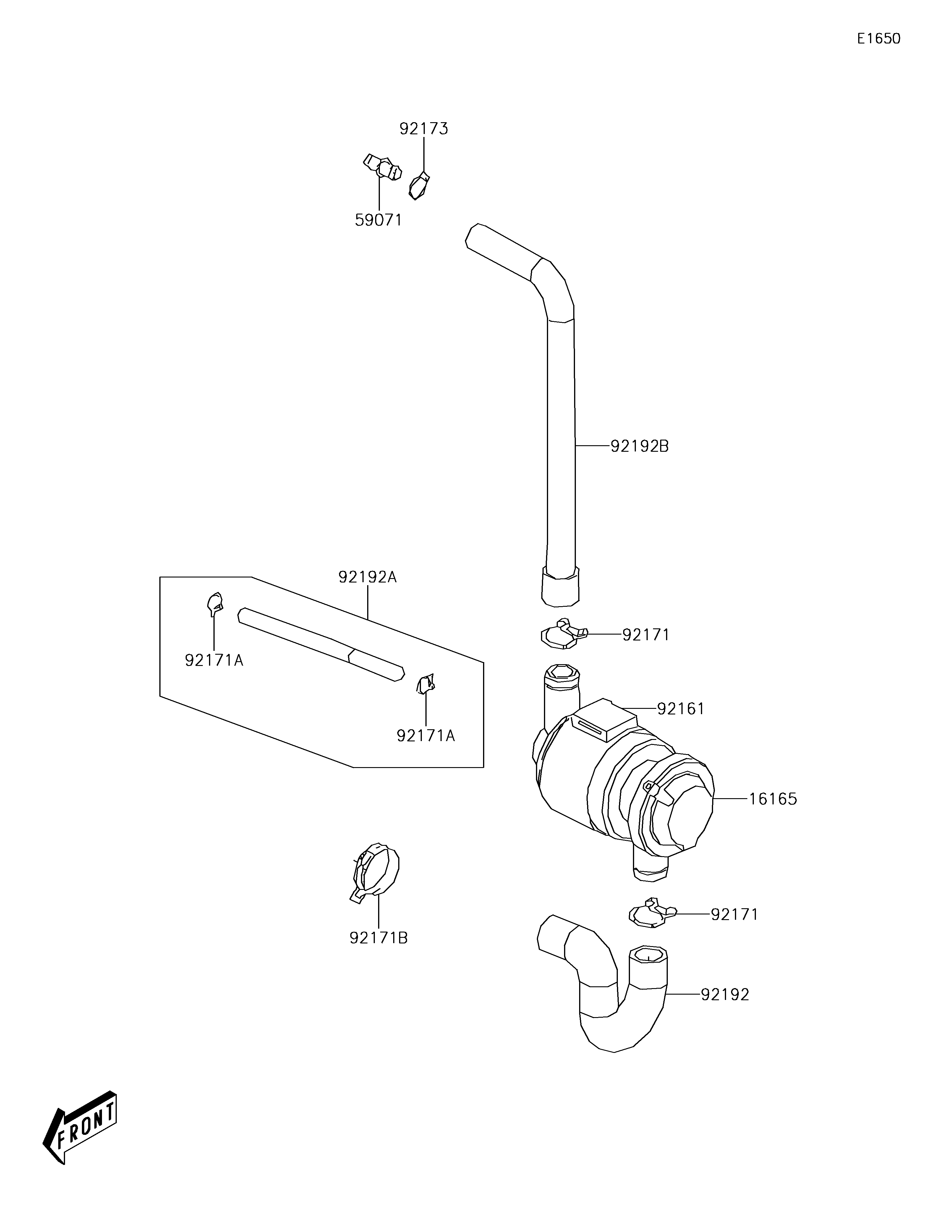
16165
59071
92161
92171
92171
92171A
92171A
92171B
92173
92192
92192A
92192B
Part Item Information
ITEM NAME REF # PART NUMBER QUANTITY DESTINATION REMARKS
SEPARATOR 16165 16165-Y004 1
JOINT 59071 59071-Y001 1
DAMPER 92161 92161-Y008 1
CLAMP 92171 92171-Y016 2
CLAMP 92171A 92171-Y017 2
CLAMP 92171B 92171-Y022 1
CLAMP 92173 92173-Y020 1
TUBE 92192 92192-Y020 1
TUBE,VACUUM 92192A 92192-Y021 1
TUBE 92192B 92192-Y022 1