main content of page
Parts Diagrams
OWNER CENTER |

Welcome, Kawasaki owners. Access the information and tools you need to get the most out of your vehicle.
OWNER CENTER |
Welcome, Kawasaki owners. Access the information and tools you need to get the most out of your vehicle.
Parts Diagrams |
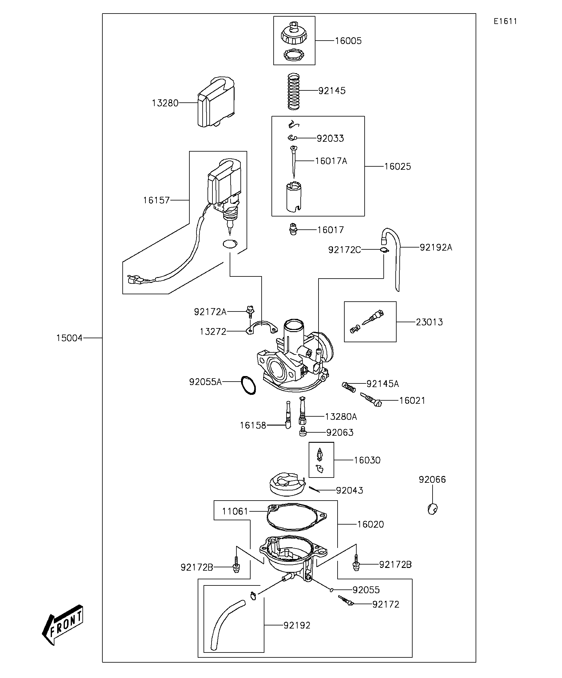
11061
13272
13280
13280A
15004
16005
16017
16017A
16020
16021
16025
16030
16157
16158
23013
92033
92043
92055
92055A
92063
92066
92145
92145A
92172
92172A
92172B
92172B
92172C
92192
92192A
ITEM NAME | REF # | PART NUMBER | QUANTITY | DESTINATION | REMARKS |
---|---|---|---|---|---|
GASKET,FLOAT CHAMBER | 11061 | 11061-Y021 | 1 | ||
PLATE | 13272 | 13272-Y011 | 1 | ||
HOLDER,CAP | 13280 | 13280-Y008 | 1 | ||
HOLDER,NEEDLE JET | 13280A | 13280-Y012 | 1 | ||
CARBURETOR-ASSY | 15004 | 15004-Y003 | 1 | ||
TOP-CHAMBER | 16005 | 16005-Y001 | 1 | ||
JET-NEEDLE | 16017 | 16017-Y001 | 1 | ||
JET-NEEDLE | 16017A | 16017-Y002 | 1 | ||
CHAMBER-FLOAT | 16020 | 16020-Y001 | 1 | ||
SCREW-THROTTLE STOP | 16021 | 16021-Y001 | 1 | ||
VALVE-THROTTLE | 16025 | 16025-Y001 | 1 | ||
VALVE-FLOAT,ASSY | 16030 | 16030-Y002 | 1 | ||
JET-STARTER | 16157 | 16157-Y001 | 1 | ||
JET-SLOW | 16158 | 16158-Y001 | 1 | ||
SCREW-ASSY,ADJUST | 23013 | 23013-Y001 | 1 | ||
RING-SNAP | 92033 | 92033-Y003 | 1 | ||
PIN | 92043 | 92043-Y002 | 1 | ||
RING-O | 92055 | 92055-Y001 | 1 | ||
RING-O | 92055A | 92055-Y016 | 1 | ||
JET-MAIN | 92063 | 92063-Y001 | 1 | ||
PLUG | 92066 | 92066-Y008 | 1 | ||
SPRING | 92145 | 92145-Y002 | 1 | ||
SPRING | 92145A | 92145-Y004 | 1 | ||
SCREW,DRAIN | 92172 | 92172-Y001 | 1 | ||
SCREW | 92172A | 92172-Y012 | 2 | ||
SCREW | 92172B | 92172-Y013 | 2 | ||
CLAMP | 92172C | 92172-Y023 | 1 | ||
TUBE,ASSY | 92192 | 92192-Y006 | 1 | ||
TUBE | 92192A | 92192-Y011 | 1 |
GASKET,FLOAT CHAMBER | |
REF # | 11061 |
---|---|
PART NUMBER | |
QUANTITY | 1 |
DESTINATION | |
REMARKS |
PLATE | |
REF # | 13272 |
---|---|
PART NUMBER | |
QUANTITY | 1 |
DESTINATION | |
REMARKS |
HOLDER,CAP | |
REF # | 13280 |
---|---|
PART NUMBER | |
QUANTITY | 1 |
DESTINATION | |
REMARKS |
HOLDER,NEEDLE JET | |
REF # | 13280A |
---|---|
PART NUMBER | |
QUANTITY | 1 |
DESTINATION | |
REMARKS |
CARBURETOR-ASSY | |
REF # | 15004 |
---|---|
PART NUMBER | |
QUANTITY | 1 |
DESTINATION | |
REMARKS |
TOP-CHAMBER | |
REF # | 16005 |
---|---|
PART NUMBER | |
QUANTITY | 1 |
DESTINATION | |
REMARKS |
JET-NEEDLE | |
REF # | 16017 |
---|---|
PART NUMBER | |
QUANTITY | 1 |
DESTINATION | |
REMARKS |
JET-NEEDLE | |
REF # | 16017A |
---|---|
PART NUMBER | |
QUANTITY | 1 |
DESTINATION | |
REMARKS |
CHAMBER-FLOAT | |
REF # | 16020 |
---|---|
PART NUMBER | |
QUANTITY | 1 |
DESTINATION | |
REMARKS |
SCREW-THROTTLE STOP | |
REF # | 16021 |
---|---|
PART NUMBER | |
QUANTITY | 1 |
DESTINATION | |
REMARKS |
VALVE-THROTTLE | |
REF # | 16025 |
---|---|
PART NUMBER | |
QUANTITY | 1 |
DESTINATION | |
REMARKS |
VALVE-FLOAT,ASSY | |
REF # | 16030 |
---|---|
PART NUMBER | |
QUANTITY | 1 |
DESTINATION | |
REMARKS |
JET-STARTER | |
REF # | 16157 |
---|---|
PART NUMBER | |
QUANTITY | 1 |
DESTINATION | |
REMARKS |
JET-SLOW | |
REF # | 16158 |
---|---|
PART NUMBER | |
QUANTITY | 1 |
DESTINATION | |
REMARKS |
SCREW-ASSY,ADJUST | |
REF # | 23013 |
---|---|
PART NUMBER | |
QUANTITY | 1 |
DESTINATION | |
REMARKS |
RING-SNAP | |
REF # | 92033 |
---|---|
PART NUMBER | |
QUANTITY | 1 |
DESTINATION | |
REMARKS |
PIN | |
REF # | 92043 |
---|---|
PART NUMBER | |
QUANTITY | 1 |
DESTINATION | |
REMARKS |
RING-O | |
REF # | 92055 |
---|---|
PART NUMBER | |
QUANTITY | 1 |
DESTINATION | |
REMARKS |
RING-O | |
REF # | 92055A |
---|---|
PART NUMBER | |
QUANTITY | 1 |
DESTINATION | |
REMARKS |
JET-MAIN | |
REF # | 92063 |
---|---|
PART NUMBER | |
QUANTITY | 1 |
DESTINATION | |
REMARKS |
PLUG | |
REF # | 92066 |
---|---|
PART NUMBER | |
QUANTITY | 1 |
DESTINATION | |
REMARKS |
SPRING | |
REF # | 92145 |
---|---|
PART NUMBER | |
QUANTITY | 1 |
DESTINATION | |
REMARKS |
SPRING | |
REF # | 92145A |
---|---|
PART NUMBER | |
QUANTITY | 1 |
DESTINATION | |
REMARKS |
SCREW,DRAIN | |
REF # | 92172 |
---|---|
PART NUMBER | |
QUANTITY | 1 |
DESTINATION | |
REMARKS |
SCREW | |
REF # | 92172A |
---|---|
PART NUMBER | |
QUANTITY | 2 |
DESTINATION | |
REMARKS |
SCREW | |
REF # | 92172B |
---|---|
PART NUMBER | |
QUANTITY | 2 |
DESTINATION | |
REMARKS |
CLAMP | |
REF # | 92172C |
---|---|
PART NUMBER | |
QUANTITY | 1 |
DESTINATION | |
REMARKS |
TUBE,ASSY | |
REF # | 92192 |
---|---|
PART NUMBER | |
QUANTITY | 1 |
DESTINATION | |
REMARKS |
TUBE | |
REF # | 92192A |
---|---|
PART NUMBER | |
QUANTITY | 1 |
DESTINATION | |
REMARKS |