Skip to main content

Parts Diagrams

customer service agent speaking with a customer

Welcome, Kawasaki owners. Access the information and tools you need to get the most out of your vehicle.

Welcome, Kawasaki owners. Access the information and tools you need to get the most out of your vehicle.

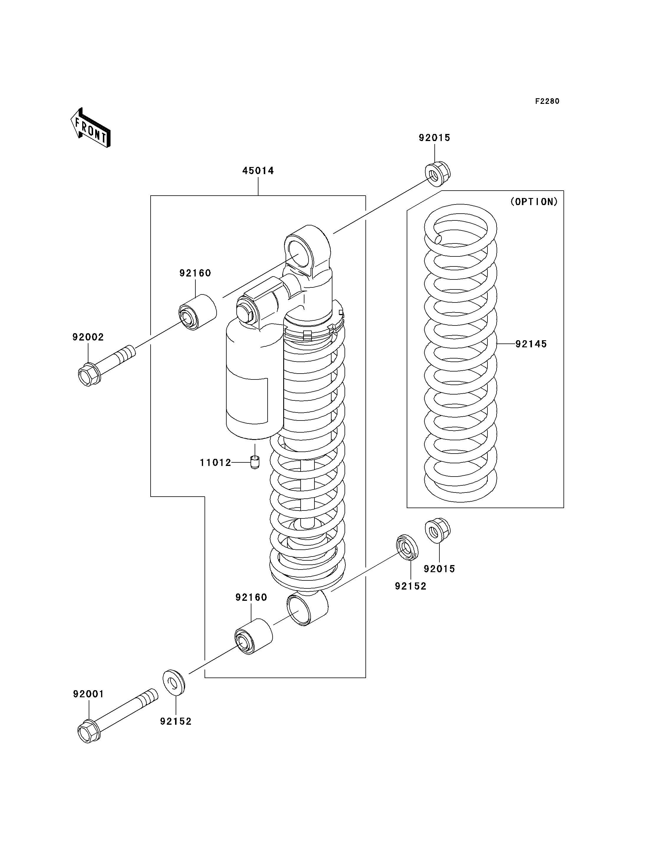
2003 Prairie 650 4X4 Advantage Classic - Shock Absorber(s)

11012
45014
92001
92002
92015
92015
92145
92152
92152
92160
92160
Part Item Information
ITEM NAME REF # PART NUMBER QUANTITY DESTINATION REMARKS
CAP 11012 11012-1283 1
SHOCKABSORBER 45014 45014-1767 1
BOLT,FLANGED,12X88 92001 92001-1693 1
BOLT,FLANGED,12X55 92002 92002-1840 1
NUT,FLANGED,LOCK,12MM 92015 92015-1617 2
SPRING,SHOCKABSORBER,K=2.5 92145 92145-0010 1 (OPTION)
COLLAR 92152 92152-1293 2
DAMPER,SHOCKABSORBER 92160 92160-1777 2