Skip to main content

Parts Diagrams

customer service agent speaking with a customer

Welcome, Kawasaki owners. Access the information and tools you need to get the most out of your vehicle.

Welcome, Kawasaki owners. Access the information and tools you need to get the most out of your vehicle.

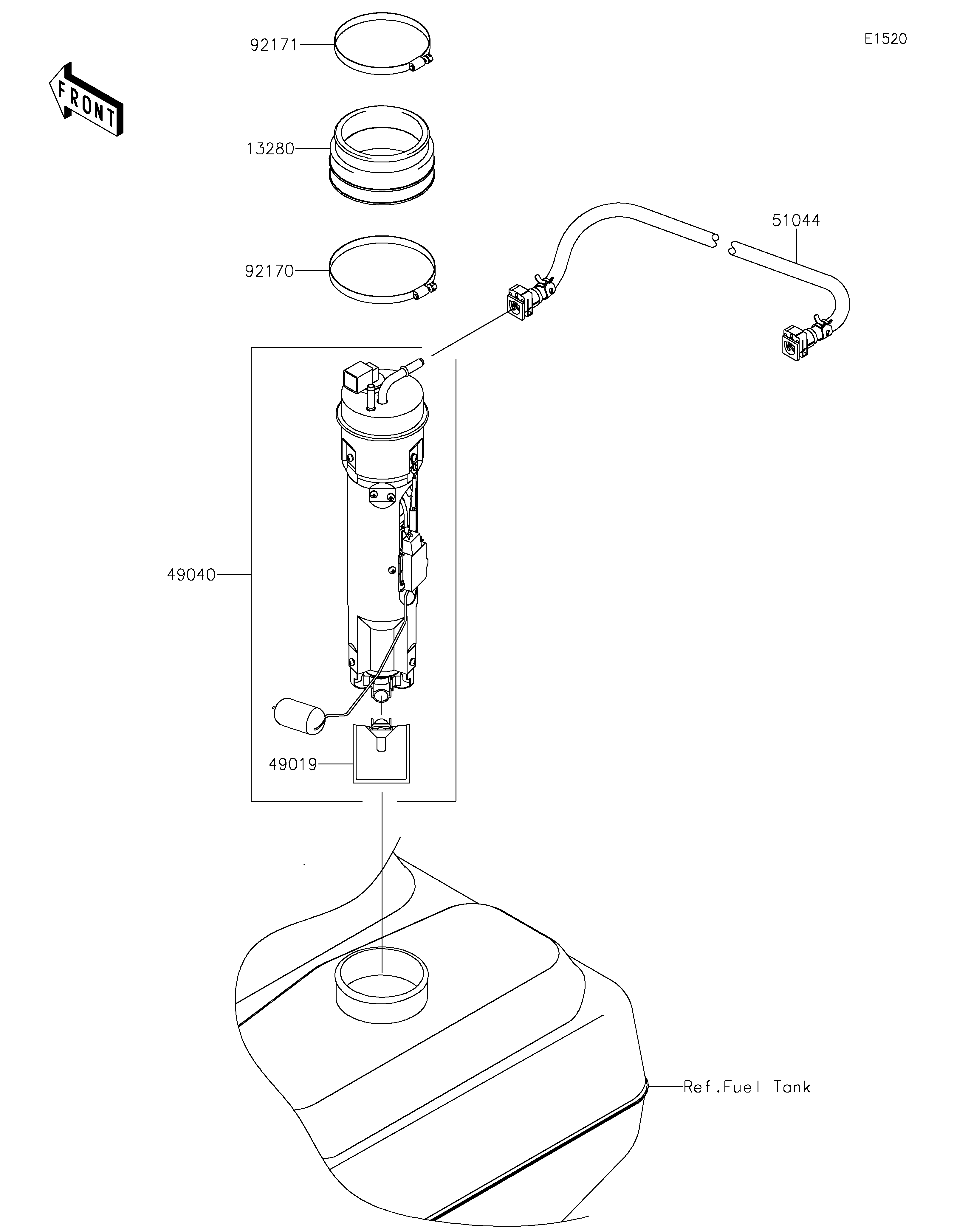
13280
49019
49040
51044
92170
92171
Part Item Information
ITEM NAME REF # PART NUMBER QUANTITY DESTINATION REMARKS
HOLDER 13280 13280-0729 1
FILTER-FUEL 49019 49019-0022 1
PUMP-FUEL 49040 49040-0748 1
TUBE-ASSY,FUEL 51044 51044-0840 1
CLAMP 92170 92170-3760 1
CLAMP 92171 92171-3716 1