main content of page
Parts Diagrams
OWNER CENTER |

Welcome, Kawasaki owners. Access the information and tools you need to get the most out of your vehicle.
OWNER CENTER |
Welcome, Kawasaki owners. Access the information and tools you need to get the most out of your vehicle.
Parts Diagrams |
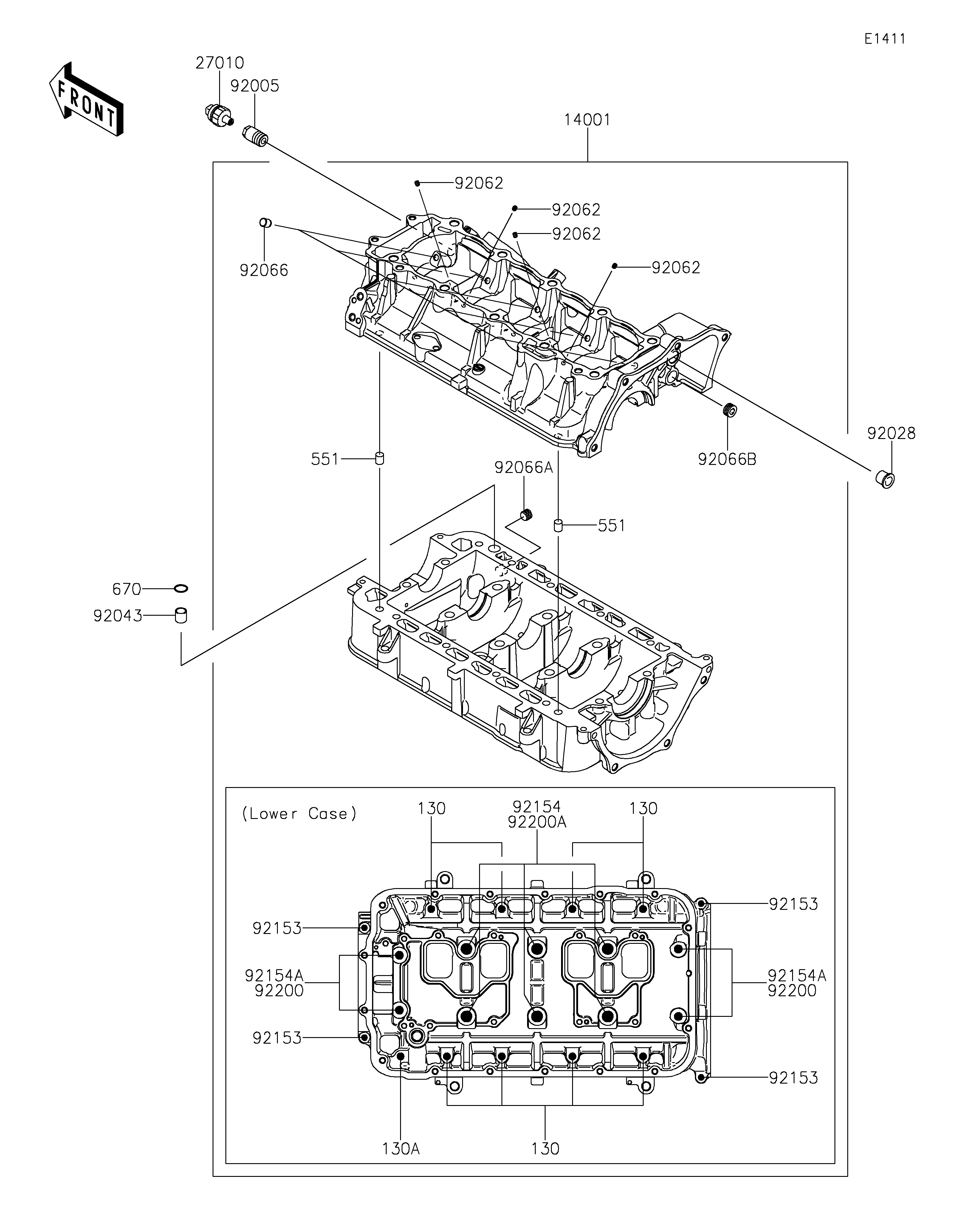
2019 JET SKI® Ultra® 310X SE - Crankcase
130
130
130
130A
14001
27010
551
551
670
92005
92028
92043
92062
92062
92062
92062
92066
92066A
92066B
92153
92153
92153
92153
92154
92154A
92154A
92200
92200
92200A
ITEM NAME | REF # | PART NUMBER | QUANTITY | DESTINATION | REMARKS |
---|---|---|---|---|---|
BOLT-FLANGED,8X45 | 130 | 130CD0845 | 8 | ||
BOLT-FLANGED,8X55 | 130A | 130CD0855 | 1 | ||
SET-CRANKCASE | 14001 | 14001-0614 | 1 | ||
SWITCH,OIL PRESSURE | 27010 | 27010-3786 | 1 | ||
PIN-DOWEL | 551 | 551R1012 | 2 | ||
O RING,14MM | 670 | 670D2014 | 1 | ||
FITTING | 92005 | 92005-0714 | 1 | ||
BUSHING | 92028 | 92028-3718 | 1 | ||
PIN,11.5X14X14 | 92043 | 92043-1279 | 1 | ||
NOZZLE | 92062 | 92062-0029 | 8 | ||
PLUG,OIL LINE,7.2X8 | 92066 | 92066-1012 | 5 | ||
PLUG | 92066A | 92066-3778 | 1 | ||
PLUG | 92066B | 92066-3782 | 1 | ||
BOLT,6X30 | 92153 | 92153-3707 | 4 | ||
BOLT | 92154 | 92154-0719 | 6 | ||
BOLT | 92154A | 92154-0720 | 4 | ||
WASHER | 92200 | 92200-0743 | 4 | ||
WASHER,11.5X20.5X1.6 | 92200A | 92200-0747 | 6 |
BOLT-FLANGED,8X45 | |
REF # | 130 |
---|---|
PART NUMBER | |
QUANTITY | 8 |
DESTINATION | |
REMARKS |
BOLT-FLANGED,8X55 | |
REF # | 130A |
---|---|
PART NUMBER | |
QUANTITY | 1 |
DESTINATION | |
REMARKS |
SET-CRANKCASE | |
REF # | 14001 |
---|---|
PART NUMBER | |
QUANTITY | 1 |
DESTINATION | |
REMARKS |
SWITCH,OIL PRESSURE | |
REF # | 27010 |
---|---|
PART NUMBER | |
QUANTITY | 1 |
DESTINATION | |
REMARKS |
PIN-DOWEL | |
REF # | 551 |
---|---|
PART NUMBER | |
QUANTITY | 2 |
DESTINATION | |
REMARKS |
O RING,14MM | |
REF # | 670 |
---|---|
PART NUMBER | |
QUANTITY | 1 |
DESTINATION | |
REMARKS |
FITTING | |
REF # | 92005 |
---|---|
PART NUMBER | |
QUANTITY | 1 |
DESTINATION | |
REMARKS |
BUSHING | |
REF # | 92028 |
---|---|
PART NUMBER | |
QUANTITY | 1 |
DESTINATION | |
REMARKS |
PIN,11.5X14X14 | |
REF # | 92043 |
---|---|
PART NUMBER | |
QUANTITY | 1 |
DESTINATION | |
REMARKS |
NOZZLE | |
REF # | 92062 |
---|---|
PART NUMBER | |
QUANTITY | 8 |
DESTINATION | |
REMARKS |
PLUG,OIL LINE,7.2X8 | |
REF # | 92066 |
---|---|
PART NUMBER | |
QUANTITY | 5 |
DESTINATION | |
REMARKS |
PLUG | |
REF # | 92066A |
---|---|
PART NUMBER | |
QUANTITY | 1 |
DESTINATION | |
REMARKS |
PLUG | |
REF # | 92066B |
---|---|
PART NUMBER | |
QUANTITY | 1 |
DESTINATION | |
REMARKS |
BOLT,6X30 | |
REF # | 92153 |
---|---|
PART NUMBER | |
QUANTITY | 4 |
DESTINATION | |
REMARKS |
BOLT | |
REF # | 92154 |
---|---|
PART NUMBER | |
QUANTITY | 6 |
DESTINATION | |
REMARKS |
BOLT | |
REF # | 92154A |
---|---|
PART NUMBER | |
QUANTITY | 4 |
DESTINATION | |
REMARKS |
WASHER | |
REF # | 92200 |
---|---|
PART NUMBER | |
QUANTITY | 4 |
DESTINATION | |
REMARKS |
WASHER,11.5X20.5X1.6 | |
REF # | 92200A |
---|---|
PART NUMBER | |
QUANTITY | 6 |
DESTINATION | |
REMARKS |