Skip to main content

Parts Diagrams

customer service agent speaking with a customer

Welcome, Kawasaki owners. Access the information and tools you need to get the most out of your vehicle.

Welcome, Kawasaki owners. Access the information and tools you need to get the most out of your vehicle.

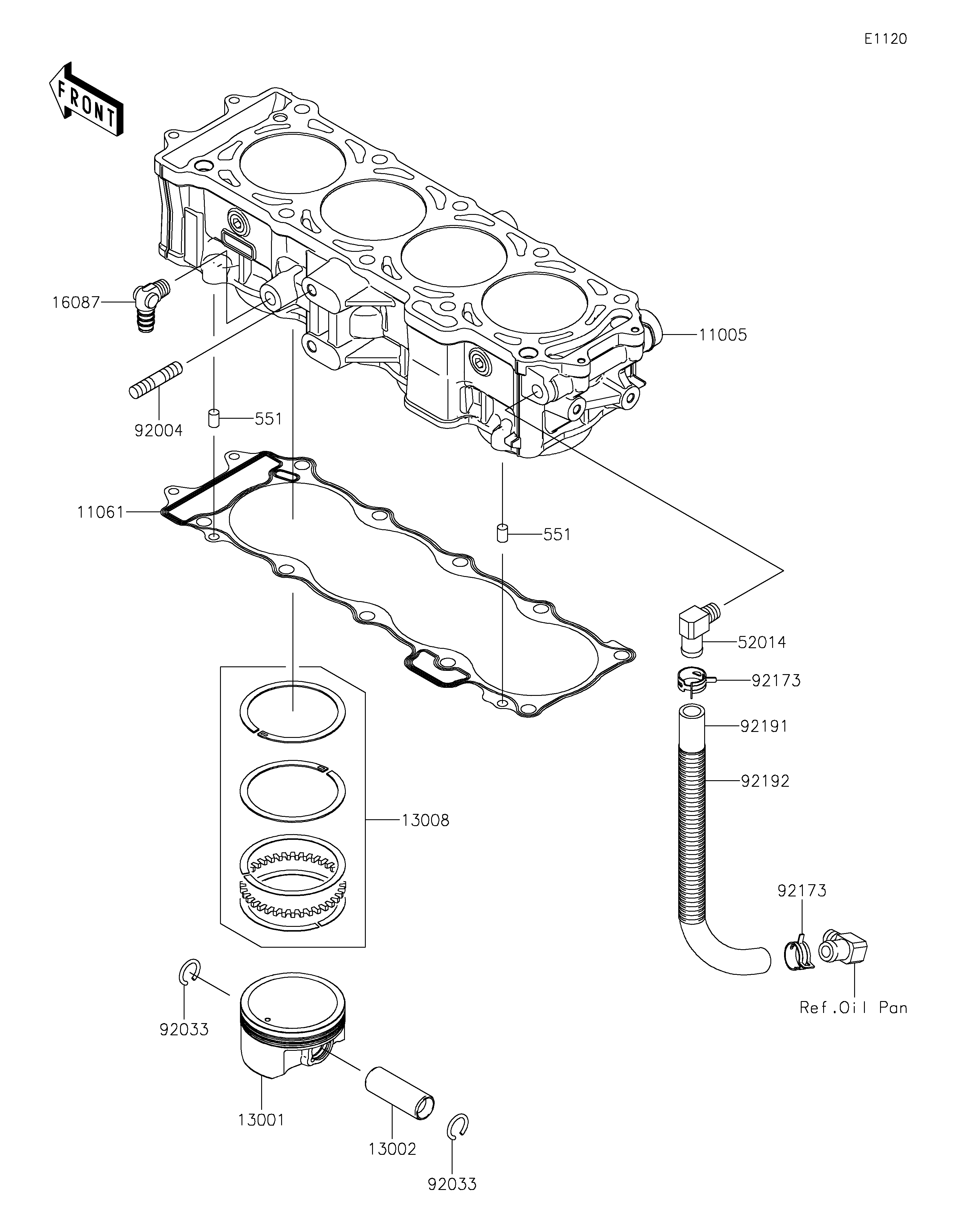
2019 JET SKI® Ultra® 310X SE - Cylinder/Piston(s)

11005
11061
13001
13002
13008
16087
52014
551
551
92004
92033
92033
92173
92173
92191
92192
Part Item Information
ITEM NAME REF # PART NUMBER QUANTITY DESTINATION REMARKS
CYLINDER-ENGINE 11005 11005-0630 1
GASKET,CYLINDER BASE 11061 11061-3770 1
PISTON-ENGINE 13001 13001-0787 4
PIN-PISTON 13002 13002-1131 4
RING-SET-PISTON 13008 13008-0564 4
VALVE-CHECK 16087 16087-3714 1
ELBOW 52014 52014-3717 1
PIN-DOWEL 551 551R0812 2
STUD,10X32 92004 92004-3759 1
RING-SNAP 92033 92033-1188 8
CLAMP 92173 92173-1039 2
TUBE,BREATHER 92191 92191-3983 1
TUBE,CORRUGATED,L=265 92192 92192-1083 1