Skip to main content

Parts Diagrams

customer service agent speaking with a customer

Welcome, Kawasaki owners. Access the information and tools you need to get the most out of your vehicle.

Welcome, Kawasaki owners. Access the information and tools you need to get the most out of your vehicle.

14043
14069
155
92037
92059
92059A
92059B
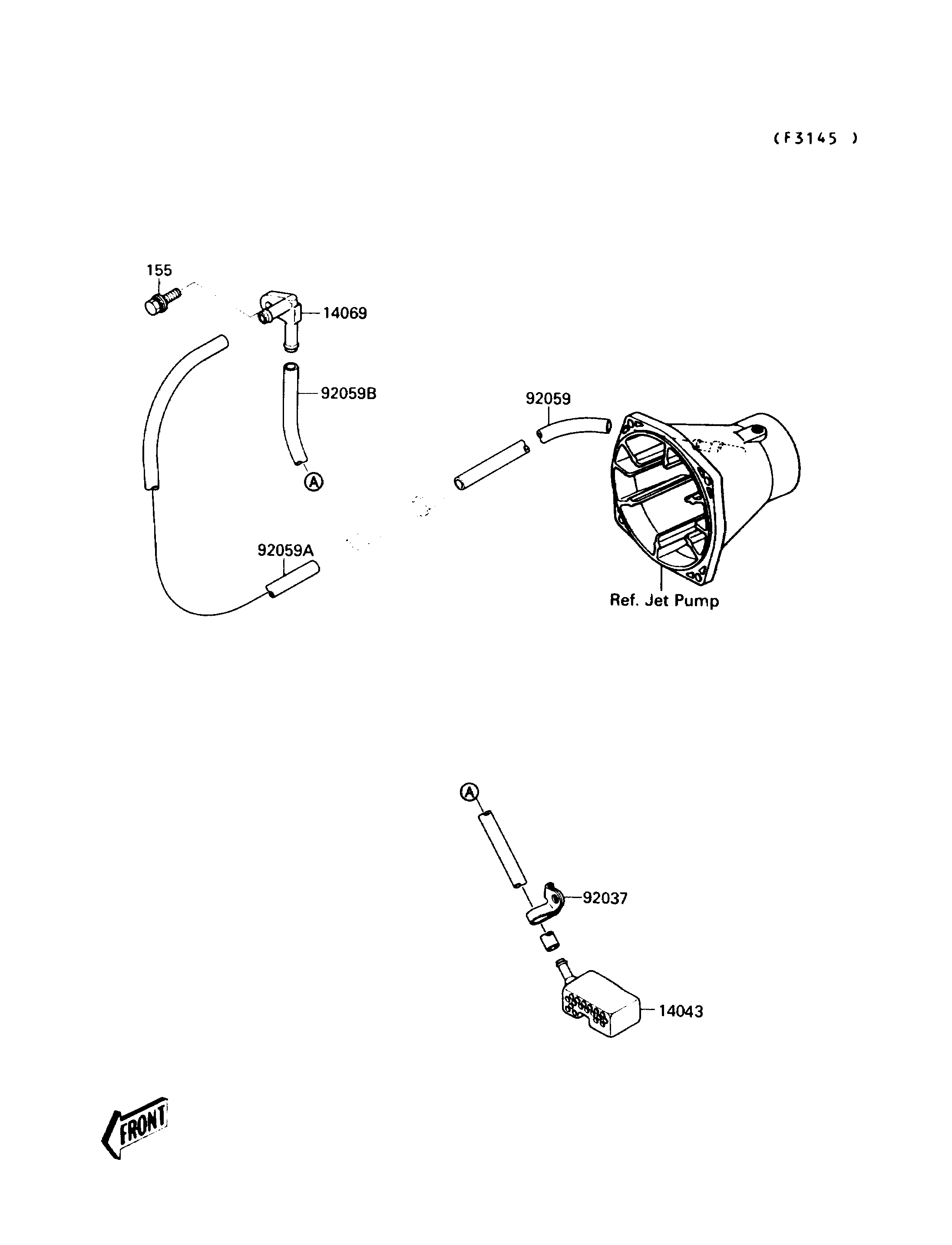
Part Item Information
ITEM NAME REF # PART NUMBER QUANTITY DESTINATION REMARKS
FILTER,BILGE 14043 59236-504 1
BREATHER,BILGE 14069 14069-3001 1
BOLT-WSP-SMALL,8X25 155 155R0825 1
CLAMP,BILGE FILTER 92037 92037-3737 1
TUBE,9X16X200 92059 92059-3748 1
TUBE,9X16X320 92059A 92059-3792 1
TUBE,9X16X250 92059B 92059-502 1