Skip to main content

Parts Diagrams

customer service agent speaking with a customer

Welcome, Kawasaki owners. Access the information and tools you need to get the most out of your vehicle.

Welcome, Kawasaki owners. Access the information and tools you need to get the most out of your vehicle.

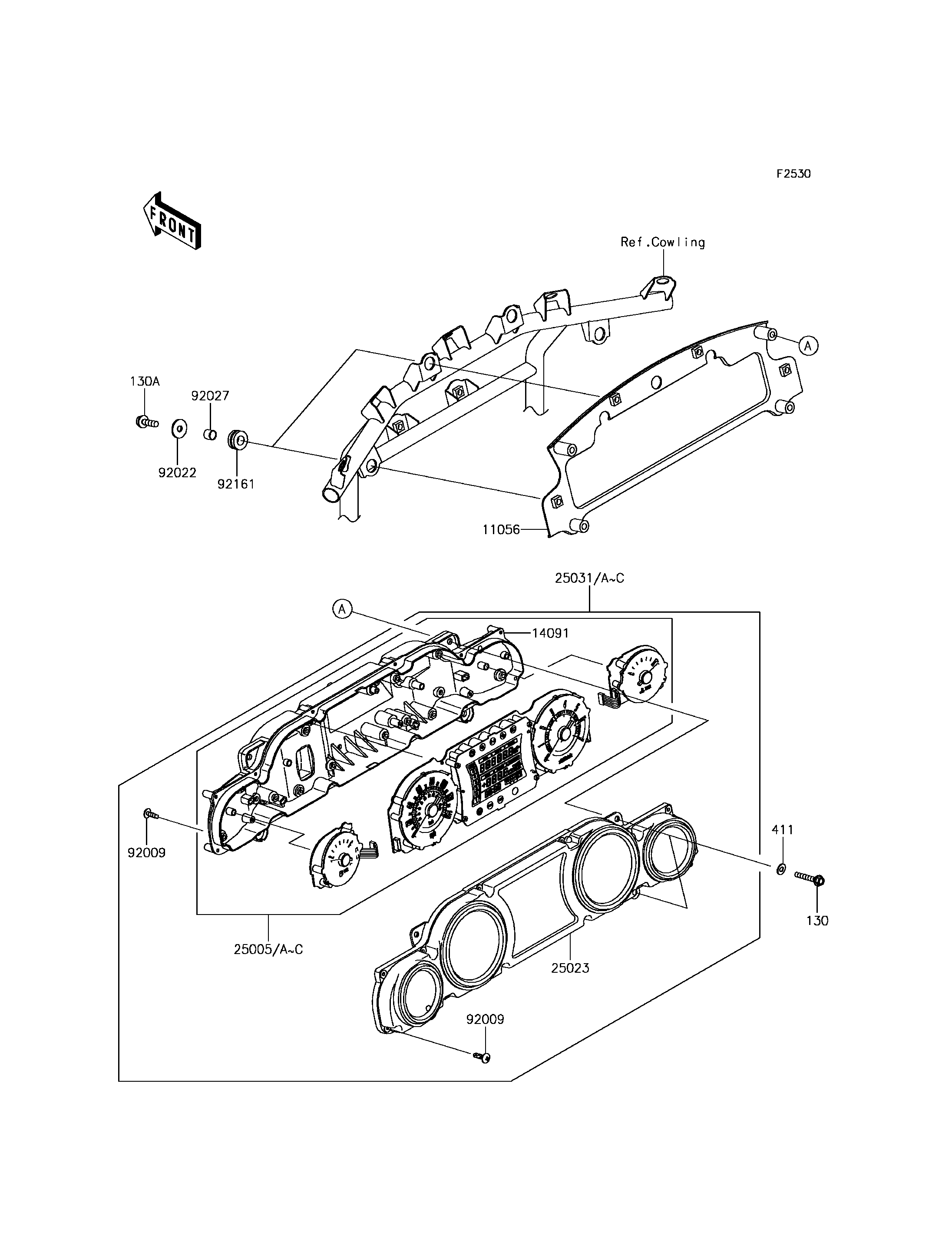
130
130A
411
11056
14091
25023
92009
92009
92022
92027
92161
Part Item Information
ITEM NAME REF # PART NUMBER QUANTITY DESTINATION REMARKS
BOLT-FLANGED,5X35 130 130BA0535 4
BOLT-FLANGED,6X20 130A 130BA0620 4
WASHER-PLAIN,5MM 411 411AB0500 4
BRACKET,METER 11056 11056-1139 1
COVER,METER,LWR 14091 14091-1577 1
COVER-METER CASE,UPP 25023 25023-0037 1
SCREW,TAPPING,3X16 92009 92009-1391 26
WASHER,6.5X20X1.6,BLACK 92022 92022-1346 4
COLLAR,6.8X10X8.5 92027 92027-129 4
DAMPER 92161 92161-0154 4
SPEEDOMETER,COMBINATION,ABS 25005B 25005-0127 1 CAUS
SPEEDOMETER,COMBINATION,ABS 25005C 25005-0128 1 CN
METER-ASSY,COMBINATION,ABS 25031B 25031-0622 1 CAUS
METER-ASSY,COMBINATION,ABS 25031C 25031-0623 1 CN