Skip to main content

Parts Diagrams

customer service agent speaking with a customer

Welcome, Kawasaki owners. Access the information and tools you need to get the most out of your vehicle.

Welcome, Kawasaki owners. Access the information and tools you need to get the most out of your vehicle.

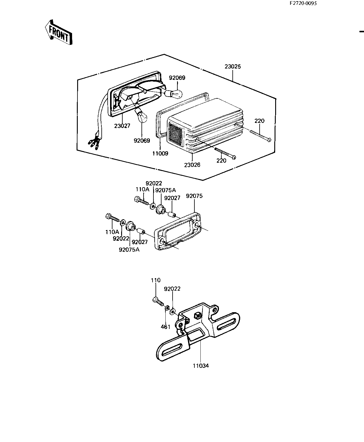
Part Item Information
ITEM NAME REF # PART NUMBER QUANTITY DESTINATION REMARKS
GASKET,TAIL LAMP 11009 11009-1221 1
BRACKET 11034 11034-1922 1
LAMP-TAIL,BLACK 23025 23025-1038 1
LENS,TAIL LAMP 23026 23026-1021 1
BODY-COMP-TAIL LAMP,B 23027 23027-1025 1
WASHER 6.5X20X1.6T 92022 92022-125 4
COLLAR,6.8X10X21 92027 92027-1400 2
BULB,12V 32/3CP 92069 92069-059 2
DAMPER 92075 92075-1282 1
DAMPER,TAIL LAMP 92075A 92075-1367 2
BOLT-UPSET,6X20 110 112G0620 2
BOLT-UPSET 110A 112G0630 2
SCREW-PAN-CROS 220 220C0465 2
WASHER SPRING 6MM 461 461F0600 2