Skip to main content

Parts Diagrams

customer service agent speaking with a customer

Welcome, Kawasaki owners. Access the information and tools you need to get the most out of your vehicle.

Welcome, Kawasaki owners. Access the information and tools you need to get the most out of your vehicle.

Part Item Information
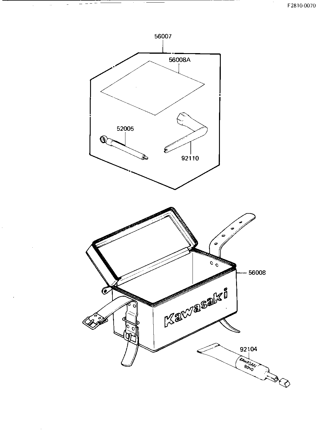
ITEM NAME REF # PART NUMBER QUANTITY DESTINATION REMARKS
GAUGE,AIR 52005 52005-4002 1
TOOLKIT 56007 56007-1142 1
BAG,TOOLKIT 56008 56008-1013 1
BAG 56008A 56008-1018 1
LIQUID GASKET 92104 92104-002 1
TOOL-WRENCH,BOX&SPOKE 92110 92110-1041 1