main content of page
Parts Diagrams
OWNER CENTER |

Welcome, Kawasaki owners. Access the information and tools you need to get the most out of your vehicle.
OWNER CENTER |
Welcome, Kawasaki owners. Access the information and tools you need to get the most out of your vehicle.
Parts Diagrams |
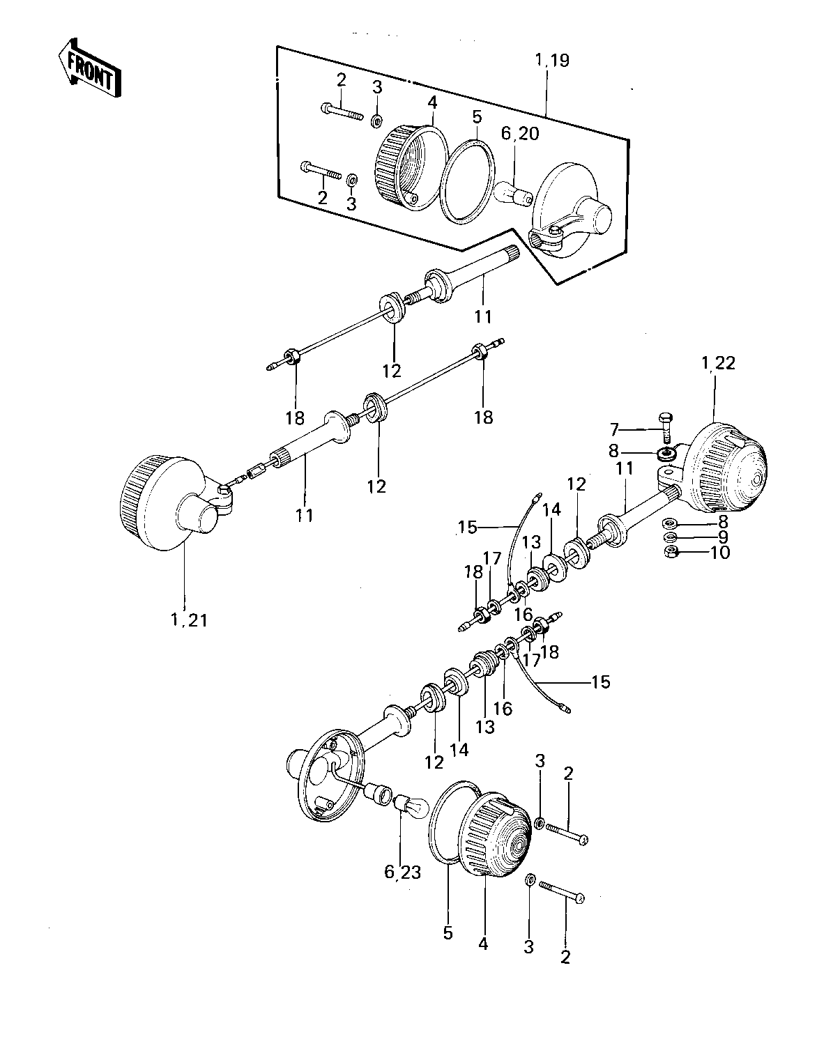
1977 KZ1000 - TURN SIGNALS ('77-'78 A1/A2/A2A)
ITEM NAME | REF # | PART NUMBER | QUANTITY | DESTINATION | REMARKS |
---|---|---|---|---|---|
LAMP ASSY,TURN SIGNA | 1 | 23040-034 | 4 | KZ1000-A1 | |
SCREW-PAN HEAD,4X35 | 2 | 220E0435A | 8 | ||
WASHER-PLAIN,4MM | 3 | 23058-002 | 8 | ||
LENS-SIGNAL LAMP | 4 | 23048-1024 | 4 | ||
GASKET,TURN SIG LAMP | 5 | 23050-002 | 4 | ||
BULB 12V 32CP | 6 | 92069-055 | 4 | KZ1000-A1 | |
BOLT-UPSET | 7 | 112G0630 | 4 | ||
WASHER PLAIN 6MM | 8 | 411B0600 | 8 | ||
WASHER SPRING 6MM | 9 | 461F0600 | 4 | ||
NUT 6MM | 10 | 311B0600 | 4 | ||
BRACKET-TURN SIG LAM | 11 | 23078-001 | 4 | KZ1000-A1 | |
BRACKET,TURN SIG LAM | 11 | 23051-1006 | 4 | KZ1000-A1 | |
DAMPER RUBBER | 12 | 92075-128 | 4 | ||
COLLAR | 13 | 92027-147 | 2 | ||
DAMPER RUBBER,SIG LM | 14 | 92075-158 | 2 | ||
LEAD WIRE,SIGNAL LAM | 15 | 26011-063 | 2 | ||
WASHER,PLAIN | 16 | 92022-239 | 2 | ||
WASHER SPRING 10MM | 17 | 461F1000 | 2 | ||
NUT 10MM | 18 | 315B1000 | 4 | ||
LIGHT ASSY,TRN SG,R. | 19 | 23040-1005 | 1 | KZ1000-A2 | |
BULB,12V 23/8W | 20 | 92069-060 | 2 | KZ1000-A2 | |
LIGHT ASSY,TRN,SG,L. | 21 | 23040-1006 | 1 | KZ1000-A2 | |
LAMP-TURN SIGNAL | 22 | 23040-029 | 2 | KZ1000-A2 | |
BULB 12V 32CP | 23 | 92069-055 | 2 | KZ1000-A2 |
LAMP ASSY,TURN SIGNA | |
REF # | 1 |
---|---|
PART NUMBER | |
QUANTITY | 4 |
DESTINATION | |
REMARKS | KZ1000-A1 |
SCREW-PAN HEAD,4X35 | |
REF # | 2 |
---|---|
PART NUMBER | |
QUANTITY | 8 |
DESTINATION | |
REMARKS |
WASHER-PLAIN,4MM | |
REF # | 3 |
---|---|
PART NUMBER | |
QUANTITY | 8 |
DESTINATION | |
REMARKS |
LENS-SIGNAL LAMP | |
REF # | 4 |
---|---|
PART NUMBER | |
QUANTITY | 4 |
DESTINATION | |
REMARKS |
GASKET,TURN SIG LAMP | |
REF # | 5 |
---|---|
PART NUMBER | |
QUANTITY | 4 |
DESTINATION | |
REMARKS |
BULB 12V 32CP | |
REF # | 6 |
---|---|
PART NUMBER | |
QUANTITY | 4 |
DESTINATION | |
REMARKS | KZ1000-A1 |
BOLT-UPSET | |
REF # | 7 |
---|---|
PART NUMBER | |
QUANTITY | 4 |
DESTINATION | |
REMARKS |
WASHER PLAIN 6MM | |
REF # | 8 |
---|---|
PART NUMBER | |
QUANTITY | 8 |
DESTINATION | |
REMARKS |
WASHER SPRING 6MM | |
REF # | 9 |
---|---|
PART NUMBER | |
QUANTITY | 4 |
DESTINATION | |
REMARKS |
NUT 6MM | |
REF # | 10 |
---|---|
PART NUMBER | |
QUANTITY | 4 |
DESTINATION | |
REMARKS |
BRACKET-TURN SIG LAM | |
REF # | 11 |
---|---|
PART NUMBER | |
QUANTITY | 4 |
DESTINATION | |
REMARKS | KZ1000-A1 |
BRACKET,TURN SIG LAM | |
REF # | 11 |
---|---|
PART NUMBER | |
QUANTITY | 4 |
DESTINATION | |
REMARKS | KZ1000-A1 |
DAMPER RUBBER | |
REF # | 12 |
---|---|
PART NUMBER | |
QUANTITY | 4 |
DESTINATION | |
REMARKS |
COLLAR | |
REF # | 13 |
---|---|
PART NUMBER | |
QUANTITY | 2 |
DESTINATION | |
REMARKS |
DAMPER RUBBER,SIG LM | |
REF # | 14 |
---|---|
PART NUMBER | |
QUANTITY | 2 |
DESTINATION | |
REMARKS |
LEAD WIRE,SIGNAL LAM | |
REF # | 15 |
---|---|
PART NUMBER | |
QUANTITY | 2 |
DESTINATION | |
REMARKS |
WASHER,PLAIN | |
REF # | 16 |
---|---|
PART NUMBER | |
QUANTITY | 2 |
DESTINATION | |
REMARKS |
WASHER SPRING 10MM | |
REF # | 17 |
---|---|
PART NUMBER | |
QUANTITY | 2 |
DESTINATION | |
REMARKS |
NUT 10MM | |
REF # | 18 |
---|---|
PART NUMBER | |
QUANTITY | 4 |
DESTINATION | |
REMARKS |
LIGHT ASSY,TRN SG,R. | |
REF # | 19 |
---|---|
PART NUMBER | |
QUANTITY | 1 |
DESTINATION | |
REMARKS | KZ1000-A2 |
BULB,12V 23/8W | |
REF # | 20 |
---|---|
PART NUMBER | |
QUANTITY | 2 |
DESTINATION | |
REMARKS | KZ1000-A2 |
LIGHT ASSY,TRN,SG,L. | |
REF # | 21 |
---|---|
PART NUMBER | |
QUANTITY | 1 |
DESTINATION | |
REMARKS | KZ1000-A2 |
LAMP-TURN SIGNAL | |
REF # | 22 |
---|---|
PART NUMBER | |
QUANTITY | 2 |
DESTINATION | |
REMARKS | KZ1000-A2 |
BULB 12V 32CP | |
REF # | 23 |
---|---|
PART NUMBER | |
QUANTITY | 2 |
DESTINATION | |
REMARKS | KZ1000-A2 |