main content of page
Parts Diagrams
OWNER CENTER |

Welcome, Kawasaki owners. Access the information and tools you need to get the most out of your vehicle.
OWNER CENTER |
Welcome, Kawasaki owners. Access the information and tools you need to get the most out of your vehicle.
Parts Diagrams |
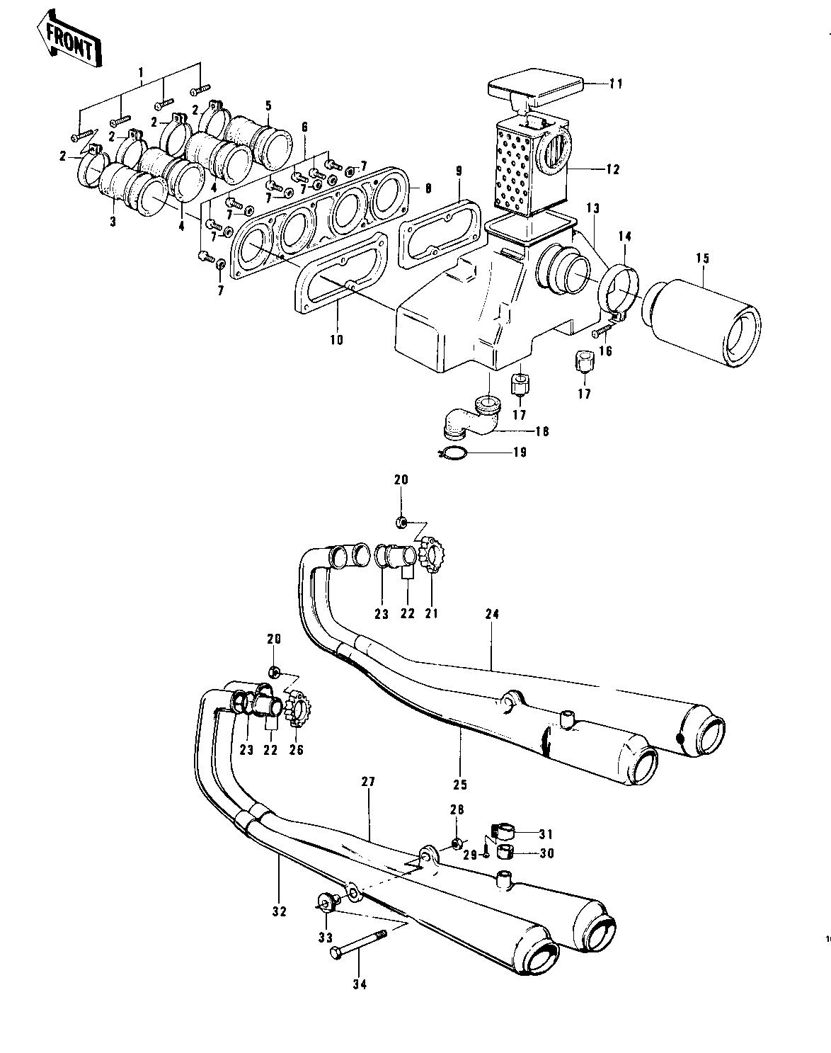
ITEM NAME | REF # | PART NUMBER | QUANTITY | DESTINATION | REMARKS |
---|---|---|---|---|---|
SCREW, PAN HEAD 5X35 | 1 | 220B0535A | 4 | ||
CLAMP-INLET PIPE | 2 | 92037-061 | 4 | ||
INLET PIPE,L.H. OUTSIDE | 3 | 14073-1022 | 1 | #1 | |
DUCT,AIR CLEANER,#1 | 3 | 14073-1022 | 1 | ||
INLET PIPE, L.H.INSIDE&R.H INSIDE | 4 | 14073-1023 | 2 | #2, 3 | |
DUCT,AIR CLEANER,#2,3 | 4 | 14073-1023 | 2 | ||
INLET PIPE, R.H. OUTSIDE | 5 | 14073-1024 | 1 | #4 | |
DUCT,AIR CLEANER,#4 | 5 | 14073-1024 | 1 | ||
SCREW PAN HEAD 4X16 | 6 | 220B0416A | 8 | ||
WASHER PLAIN 4MM | 7 | 410B0400 | 8 | ||
HOLDER, INLET PIPE | 8 | 11040-001 | 1 | ||
PLATE,CARBURETOR HOLD | 9 | 11040-003 | 1 | ||
PLATE,CARBURETOR HOLD | 10 | 11040-002 | 1 | ||
CAP,AIR CLEANER BODY | 11 | 11012-068 | 1 | ||
ELEMENT,AIR CLNR | 12 | 11013-054 | 1 | ||
BODY,AIR CLEANER | 13 | 11011-054 | 1 | ||
CLAMP | 14 | 92037-106 | 1 | ||
SILENCER | 15 | 11016-008 | 1 | ||
SCREW-PAN HEAD,5X50 | 16 | 220B0550A | 1 | ||
CAP,DRAIN | 17 | 11012-063 | 2 | ||
TUBE,DRAIN | 18 | 92059-124 | 1 | ||
CLAMP BREATHER PIPE | 19 | 92037-028 | 1 | ||
NUT,LOCK 6MM | 20 | 92017-014 | 8 | ||
HOLDER,EXHAUST PIPE | 21 | 18069-045 | 2 | ||
INSERT,EXHAUST PIPE | 22 | 92027-170 | 8 | ||
GASKET,EXHAUST PIPE H | 23 | 18067-018 | 4 | ||
MUFFLER ASSY,R.H UPP | 24 | 18001-230 | 1 | ||
MUFFLER ASSY,R.H LOW | 25 | 18001-229 | 1 | ||
HOLDER,EXHAUST PIPE | 26 | 18069-046 | 2 | ||
MUFFLER ASSY,L.H LOW | 27 | 18001-228 | 1 | ||
NUT,LOCK,10MM | 28 | 92019-021 | 2 | ||
SCREW PAN HEAD 6X16 | 29 | 220B0616 | 2 | ||
PIPE,MUFFLER CONNECT | 30 | 92059-120 | 2 | ||
CLAMP,MUFFLER CONNECT | 31 | 92037-103 | 2 | ||
MUFFLER ASSY,L.H UPP | 32 | 18001-227 | 1 | ||
BUSHING,MUFFLER FITT | 33 | 92092-010 | 4 | ||
BOLT,HEX HEAD,10X104 | 34 | 92003-180 | 2 |
SCREW, PAN HEAD 5X35 | |
REF # | 1 |
---|---|
PART NUMBER | |
QUANTITY | 4 |
DESTINATION | |
REMARKS |
CLAMP-INLET PIPE | |
REF # | 2 |
---|---|
PART NUMBER | |
QUANTITY | 4 |
DESTINATION | |
REMARKS |
INLET PIPE,L.H. OUTSIDE | |
REF # | 3 |
---|---|
PART NUMBER | |
QUANTITY | 1 |
DESTINATION | |
REMARKS | #1 |
DUCT,AIR CLEANER,#1 | |
REF # | 3 |
---|---|
PART NUMBER | |
QUANTITY | 1 |
DESTINATION | |
REMARKS |
INLET PIPE, L.H.INSIDE&R.H INSIDE | |
REF # | 4 |
---|---|
PART NUMBER | |
QUANTITY | 2 |
DESTINATION | |
REMARKS | #2, 3 |
DUCT,AIR CLEANER,#2,3 | |
REF # | 4 |
---|---|
PART NUMBER | |
QUANTITY | 2 |
DESTINATION | |
REMARKS |
INLET PIPE, R.H. OUTSIDE | |
REF # | 5 |
---|---|
PART NUMBER | |
QUANTITY | 1 |
DESTINATION | |
REMARKS | #4 |
DUCT,AIR CLEANER,#4 | |
REF # | 5 |
---|---|
PART NUMBER | |
QUANTITY | 1 |
DESTINATION | |
REMARKS |
SCREW PAN HEAD 4X16 | |
REF # | 6 |
---|---|
PART NUMBER | |
QUANTITY | 8 |
DESTINATION | |
REMARKS |
WASHER PLAIN 4MM | |
REF # | 7 |
---|---|
PART NUMBER | |
QUANTITY | 8 |
DESTINATION | |
REMARKS |
HOLDER, INLET PIPE | |
REF # | 8 |
---|---|
PART NUMBER | |
QUANTITY | 1 |
DESTINATION | |
REMARKS |
PLATE,CARBURETOR HOLD | |
REF # | 9 |
---|---|
PART NUMBER | |
QUANTITY | 1 |
DESTINATION | |
REMARKS |
PLATE,CARBURETOR HOLD | |
REF # | 10 |
---|---|
PART NUMBER | |
QUANTITY | 1 |
DESTINATION | |
REMARKS |
CAP,AIR CLEANER BODY | |
REF # | 11 |
---|---|
PART NUMBER | |
QUANTITY | 1 |
DESTINATION | |
REMARKS |
ELEMENT,AIR CLNR | |
REF # | 12 |
---|---|
PART NUMBER | |
QUANTITY | 1 |
DESTINATION | |
REMARKS |
BODY,AIR CLEANER | |
REF # | 13 |
---|---|
PART NUMBER | |
QUANTITY | 1 |
DESTINATION | |
REMARKS |
CLAMP | |
REF # | 14 |
---|---|
PART NUMBER | |
QUANTITY | 1 |
DESTINATION | |
REMARKS |
SILENCER | |
REF # | 15 |
---|---|
PART NUMBER | |
QUANTITY | 1 |
DESTINATION | |
REMARKS |
SCREW-PAN HEAD,5X50 | |
REF # | 16 |
---|---|
PART NUMBER | |
QUANTITY | 1 |
DESTINATION | |
REMARKS |
CAP,DRAIN | |
REF # | 17 |
---|---|
PART NUMBER | |
QUANTITY | 2 |
DESTINATION | |
REMARKS |
TUBE,DRAIN | |
REF # | 18 |
---|---|
PART NUMBER | |
QUANTITY | 1 |
DESTINATION | |
REMARKS |
CLAMP BREATHER PIPE | |
REF # | 19 |
---|---|
PART NUMBER | |
QUANTITY | 1 |
DESTINATION | |
REMARKS |
NUT,LOCK 6MM | |
REF # | 20 |
---|---|
PART NUMBER | |
QUANTITY | 8 |
DESTINATION | |
REMARKS |
HOLDER,EXHAUST PIPE | |
REF # | 21 |
---|---|
PART NUMBER | |
QUANTITY | 2 |
DESTINATION | |
REMARKS |
INSERT,EXHAUST PIPE | |
REF # | 22 |
---|---|
PART NUMBER | |
QUANTITY | 8 |
DESTINATION | |
REMARKS |
GASKET,EXHAUST PIPE H | |
REF # | 23 |
---|---|
PART NUMBER | |
QUANTITY | 4 |
DESTINATION | |
REMARKS |
MUFFLER ASSY,R.H UPP | |
REF # | 24 |
---|---|
PART NUMBER | |
QUANTITY | 1 |
DESTINATION | |
REMARKS |
MUFFLER ASSY,R.H LOW | |
REF # | 25 |
---|---|
PART NUMBER | |
QUANTITY | 1 |
DESTINATION | |
REMARKS |
HOLDER,EXHAUST PIPE | |
REF # | 26 |
---|---|
PART NUMBER | |
QUANTITY | 2 |
DESTINATION | |
REMARKS |
MUFFLER ASSY,L.H LOW | |
REF # | 27 |
---|---|
PART NUMBER | |
QUANTITY | 1 |
DESTINATION | |
REMARKS |
NUT,LOCK,10MM | |
REF # | 28 |
---|---|
PART NUMBER | |
QUANTITY | 2 |
DESTINATION | |
REMARKS |
SCREW PAN HEAD 6X16 | |
REF # | 29 |
---|---|
PART NUMBER | |
QUANTITY | 2 |
DESTINATION | |
REMARKS |
PIPE,MUFFLER CONNECT | |
REF # | 30 |
---|---|
PART NUMBER | |
QUANTITY | 2 |
DESTINATION | |
REMARKS |
CLAMP,MUFFLER CONNECT | |
REF # | 31 |
---|---|
PART NUMBER | |
QUANTITY | 2 |
DESTINATION | |
REMARKS |
MUFFLER ASSY,L.H UPP | |
REF # | 32 |
---|---|
PART NUMBER | |
QUANTITY | 1 |
DESTINATION | |
REMARKS |
BUSHING,MUFFLER FITT | |
REF # | 33 |
---|---|
PART NUMBER | |
QUANTITY | 4 |
DESTINATION | |
REMARKS |
BOLT,HEX HEAD,10X104 | |
REF # | 34 |
---|---|
PART NUMBER | |
QUANTITY | 2 |
DESTINATION | |
REMARKS |