main content of page
Parts Diagrams
OWNER CENTER |

Welcome, Kawasaki owners. Access the information and tools you need to get the most out of your vehicle.
OWNER CENTER |
Welcome, Kawasaki owners. Access the information and tools you need to get the most out of your vehicle.
Parts Diagrams |
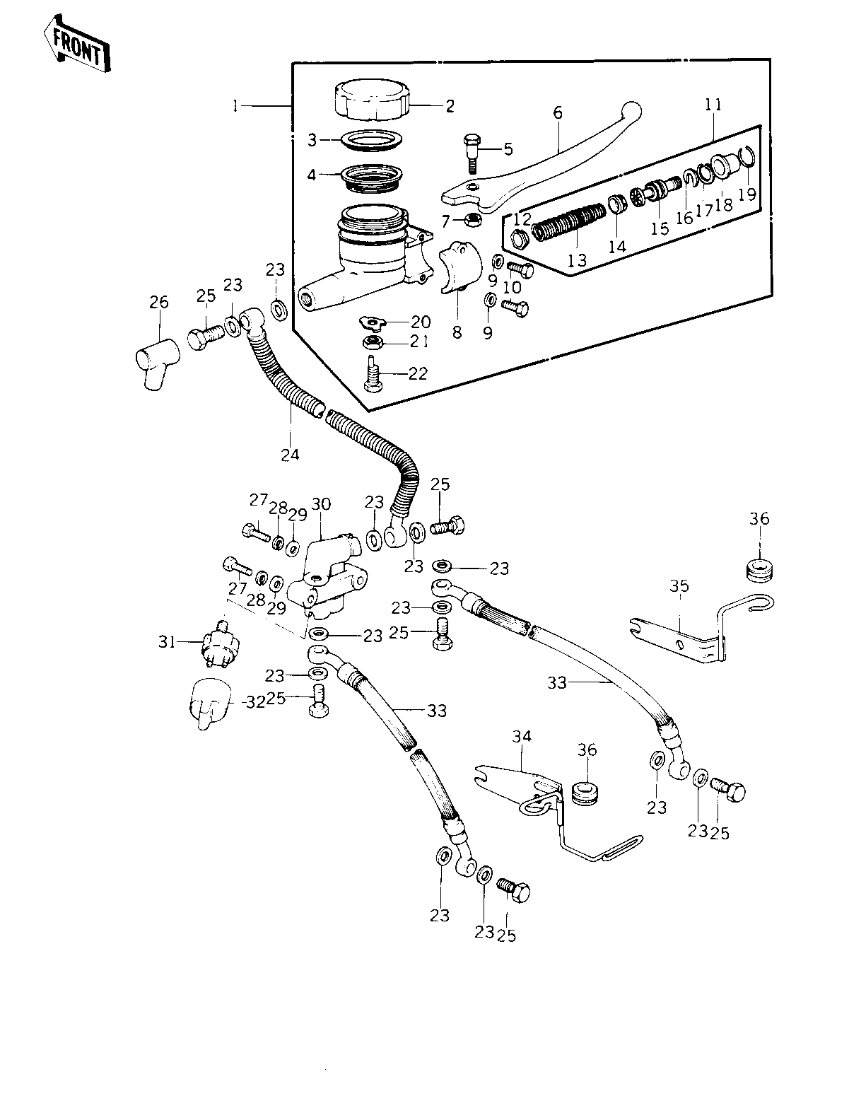
1978 KZ1000 LTD - FRONT MASTER CYLINDER (KZ1000-B1)
ITEM NAME | REF # | PART NUMBER | QUANTITY | DESTINATION | REMARKS |
---|---|---|---|---|---|
CYLINDER ASSY,MSTR,FR | 1 | 43015-1009 | 1 | ||
CAP,OIL CUP | 2 | 43026-003 | 1 | ||
PLATE-MASTER CYLINDER | 3 | 43027-001 | 1 | ||
DIAPHRAGM | 4 | 43028-003 | 1 | ||
BOLT | 5 | 43033-004 | 1 | ||
LEVER,FRONT BRAKE | 6 | 43029-003 | 1 | ||
NUT 6MM | 7 | 312B0600 | 1 | ||
HOLDER-MASTER CYL | 8 | 43034-001 | 1 | ||
WASHER PLAIN 6MM | 9 | 411B0600 | 2 | ||
BOLT HEX HEAD 6X25 | 10 | 110N0625 | 2 | ||
REPAIR ASY,MASTER CYL | 11 | 43073-005 | 1 | ||
VALVE ASSY, CHECK | 12 | 43017-002 | 1 | ||
SPRING ASSY, RETURN | 13 | 43018-002 | 1 | ||
CUP, PRIMARY | 14 | 43019-002 | 1 | ||
PISTON ASY, MSTR CYL | 15 | 43072-002 | 1 | ||
STOPPER-PISTON | 16 | 43022-001 | 1 | ||
CIRCLIP,18MM | 17 | 481J1800 | 1 | ||
BOOTS | 18 | 43024-001 | 1 | ||
STOPPER-BOOTS | 19 | 43025-001 | 1 | ||
WASHER-LOCK,8MM | 20 | 43031-001 | 1 | ||
NUT,8MM | 21 | 311B0800 | 1 | ||
BOLT,LEVER ADJUSTING | 22 | 43030-003 | 1 | ||
WASHER-OIL BOLT | 23 | 43067-001 | 12 | ||
HOSE,FRONT BRAKE | 24 | 43059-007 | 1 | ||
BOLT,OIL,L=23 | 25 | 92002-1888 | 6 | ||
BOOT,DUST | 26 | 49006-1041 | 1 | ||
BOLT,HEX HEAD,6X45 | 27 | 110N0645 | 2 | ||
WASHER SPRING 6MM | 28 | 461F0600 | 2 | ||
WASHER PLAIN 6MM | 29 | 411B0600 | 2 | ||
JOINT,FOUR WAY | 30 | 43075-002 | 1 | ||
SWITCH-FRONT BRAKE | 31 | 43065-001 | 1 | ||
CAP,FRONT BRK SWITCH | 32 | 11012-1037 | 1 | ||
HOSE,CALIPER BRAKE | 33 | 43059-033 | 2 | ||
BRACKET | 34 | 11034-1041 | 1 | ||
BRACKET,BRAKE HOSE | 35 | 43063-008 | 1 | ||
DAMPER RUBBER,CYL HSE | 36 | 43064-006 | 2 |
CYLINDER ASSY,MSTR,FR | |
REF # | 1 |
---|---|
PART NUMBER | |
QUANTITY | 1 |
DESTINATION | |
REMARKS |
CAP,OIL CUP | |
REF # | 2 |
---|---|
PART NUMBER | |
QUANTITY | 1 |
DESTINATION | |
REMARKS |
PLATE-MASTER CYLINDER | |
REF # | 3 |
---|---|
PART NUMBER | |
QUANTITY | 1 |
DESTINATION | |
REMARKS |
DIAPHRAGM | |
REF # | 4 |
---|---|
PART NUMBER | |
QUANTITY | 1 |
DESTINATION | |
REMARKS |
BOLT | |
REF # | 5 |
---|---|
PART NUMBER | |
QUANTITY | 1 |
DESTINATION | |
REMARKS |
LEVER,FRONT BRAKE | |
REF # | 6 |
---|---|
PART NUMBER | |
QUANTITY | 1 |
DESTINATION | |
REMARKS |
NUT 6MM | |
REF # | 7 |
---|---|
PART NUMBER | |
QUANTITY | 1 |
DESTINATION | |
REMARKS |
HOLDER-MASTER CYL | |
REF # | 8 |
---|---|
PART NUMBER | |
QUANTITY | 1 |
DESTINATION | |
REMARKS |
WASHER PLAIN 6MM | |
REF # | 9 |
---|---|
PART NUMBER | |
QUANTITY | 2 |
DESTINATION | |
REMARKS |
BOLT HEX HEAD 6X25 | |
REF # | 10 |
---|---|
PART NUMBER | |
QUANTITY | 2 |
DESTINATION | |
REMARKS |
REPAIR ASY,MASTER CYL | |
REF # | 11 |
---|---|
PART NUMBER | |
QUANTITY | 1 |
DESTINATION | |
REMARKS |
VALVE ASSY, CHECK | |
REF # | 12 |
---|---|
PART NUMBER | |
QUANTITY | 1 |
DESTINATION | |
REMARKS |
SPRING ASSY, RETURN | |
REF # | 13 |
---|---|
PART NUMBER | |
QUANTITY | 1 |
DESTINATION | |
REMARKS |
CUP, PRIMARY | |
REF # | 14 |
---|---|
PART NUMBER | |
QUANTITY | 1 |
DESTINATION | |
REMARKS |
PISTON ASY, MSTR CYL | |
REF # | 15 |
---|---|
PART NUMBER | |
QUANTITY | 1 |
DESTINATION | |
REMARKS |
STOPPER-PISTON | |
REF # | 16 |
---|---|
PART NUMBER | |
QUANTITY | 1 |
DESTINATION | |
REMARKS |
CIRCLIP,18MM | |
REF # | 17 |
---|---|
PART NUMBER | |
QUANTITY | 1 |
DESTINATION | |
REMARKS |
BOOTS | |
REF # | 18 |
---|---|
PART NUMBER | |
QUANTITY | 1 |
DESTINATION | |
REMARKS |
STOPPER-BOOTS | |
REF # | 19 |
---|---|
PART NUMBER | |
QUANTITY | 1 |
DESTINATION | |
REMARKS |
WASHER-LOCK,8MM | |
REF # | 20 |
---|---|
PART NUMBER | |
QUANTITY | 1 |
DESTINATION | |
REMARKS |
NUT,8MM | |
REF # | 21 |
---|---|
PART NUMBER | |
QUANTITY | 1 |
DESTINATION | |
REMARKS |
BOLT,LEVER ADJUSTING | |
REF # | 22 |
---|---|
PART NUMBER | |
QUANTITY | 1 |
DESTINATION | |
REMARKS |
WASHER-OIL BOLT | |
REF # | 23 |
---|---|
PART NUMBER | |
QUANTITY | 12 |
DESTINATION | |
REMARKS |
HOSE,FRONT BRAKE | |
REF # | 24 |
---|---|
PART NUMBER | |
QUANTITY | 1 |
DESTINATION | |
REMARKS |
BOLT,OIL,L=23 | |
REF # | 25 |
---|---|
PART NUMBER | |
QUANTITY | 6 |
DESTINATION | |
REMARKS |
BOOT,DUST | |
REF # | 26 |
---|---|
PART NUMBER | |
QUANTITY | 1 |
DESTINATION | |
REMARKS |
BOLT,HEX HEAD,6X45 | |
REF # | 27 |
---|---|
PART NUMBER | |
QUANTITY | 2 |
DESTINATION | |
REMARKS |
WASHER SPRING 6MM | |
REF # | 28 |
---|---|
PART NUMBER | |
QUANTITY | 2 |
DESTINATION | |
REMARKS |
WASHER PLAIN 6MM | |
REF # | 29 |
---|---|
PART NUMBER | |
QUANTITY | 2 |
DESTINATION | |
REMARKS |
JOINT,FOUR WAY | |
REF # | 30 |
---|---|
PART NUMBER | |
QUANTITY | 1 |
DESTINATION | |
REMARKS |
SWITCH-FRONT BRAKE | |
REF # | 31 |
---|---|
PART NUMBER | |
QUANTITY | 1 |
DESTINATION | |
REMARKS |
CAP,FRONT BRK SWITCH | |
REF # | 32 |
---|---|
PART NUMBER | |
QUANTITY | 1 |
DESTINATION | |
REMARKS |
HOSE,CALIPER BRAKE | |
REF # | 33 |
---|---|
PART NUMBER | |
QUANTITY | 2 |
DESTINATION | |
REMARKS |
BRACKET | |
REF # | 34 |
---|---|
PART NUMBER | |
QUANTITY | 1 |
DESTINATION | |
REMARKS |
BRACKET,BRAKE HOSE | |
REF # | 35 |
---|---|
PART NUMBER | |
QUANTITY | 1 |
DESTINATION | |
REMARKS |
DAMPER RUBBER,CYL HSE | |
REF # | 36 |
---|---|
PART NUMBER | |
QUANTITY | 2 |
DESTINATION | |
REMARKS |