main content of page
Parts Diagrams
OWNER CENTER |
Welcome, Kawasaki owners. Access the information and tools you need to get the most out of your vehicle.
OWNER CENTER |
Welcome, Kawasaki owners. Access the information and tools you need to get the most out of your vehicle.
Parts Diagrams |
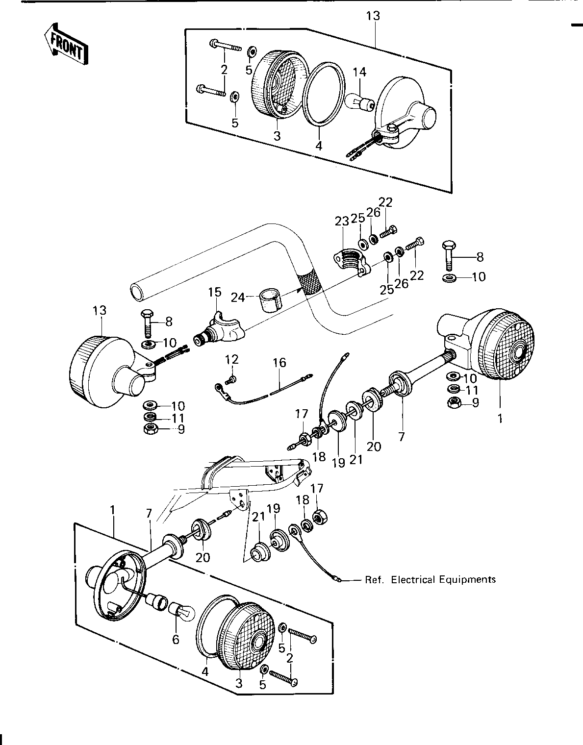
| ITEM NAME | REF # | PART NUMBER | QUANTITY | DESTINATION | REMARKS |
|---|---|---|---|---|---|
| LAMP,TURN SIGNAL | 1 | 23040-054 | 2 | ||
| SCREW-PAN HEAD,4X20 | 2 | 220E0420A | 8 | ||
| LENS,TURN SIGNAL LAMP | 3 | 23048-1001 | 4 | ||
| GASKET-SIG LAMP LENS | 4 | 23050-003 | 4 | ||
| WASHER-PLAIN,4MM | 5 | 23058-002 | 8 | ||
| BULB 12V 32CP | 6 | 92069-055 | 2 | ||
| BRACKET,TURN SIGNAL.L | 7 | 23051-053 | 2 | ||
| BOLT-UPSET | 8 | 112G0630 | 4 | ||
| NUT 6MM | 9 | 311B0600 | 4 | ||
| WASHER PLAIN 6MM | 10 | 411B0600 | 8 | ||
| WASHER SPRING 6MM | 11 | 461F0600 | 4 | ||
| SCREW PAN HEAD 3X5 | 12 | 220B0305A | 2 | ||
| LAMP,FRNT,TURN SIGNAL | 13 | 23040-1004 | 2 | ||
| BULB,12V 23/8W | 14 | 92069-060 | 2 | ||
| BRACKET,FRNT TURN SIG | 15 | 23051-1004 | 2 | ||
| WIRE-TURN SIGNAL LEAD | 16 | 26011-061 | 2 | ||
| NUT 10MM | 17 | 315B1000 | 2 | ||
| WASHER SPRING 10MM | 18 | 461F1000 | 2 | ||
| COLLAR | 19 | 92027-147 | 2 | ||
| DAMPER RUBBER | 20 | 92075-128 | 2 | ||
| DAMPER RUBBER,SIG LM | 21 | 92075-158 | 2 | ||
| BOLT | 22 | 110N0516 | 4 | ||
| BRACKET,SIGNAL LAMP | 23 | 23051-1013 | 2 | ||
| DAMPER RUBBER | 24 | 23066-003 | 2 | ||
| WASHER-PLAIN,5MM | 25 | 410D0500 | 4 | ||
| WASHER SPRING 5MM | 26 | 461F0500 | 4 |
| LAMP,TURN SIGNAL | |
| REF # | 1 |
|---|---|
| PART NUMBER | |
| QUANTITY | 2 |
| DESTINATION | |
| REMARKS | |
| SCREW-PAN HEAD,4X20 | |
| REF # | 2 |
|---|---|
| PART NUMBER | |
| QUANTITY | 8 |
| DESTINATION | |
| REMARKS | |
| LENS,TURN SIGNAL LAMP | |
| REF # | 3 |
|---|---|
| PART NUMBER | |
| QUANTITY | 4 |
| DESTINATION | |
| REMARKS | |
| GASKET-SIG LAMP LENS | |
| REF # | 4 |
|---|---|
| PART NUMBER | |
| QUANTITY | 4 |
| DESTINATION | |
| REMARKS | |
| WASHER-PLAIN,4MM | |
| REF # | 5 |
|---|---|
| PART NUMBER | |
| QUANTITY | 8 |
| DESTINATION | |
| REMARKS | |
| BULB 12V 32CP | |
| REF # | 6 |
|---|---|
| PART NUMBER | |
| QUANTITY | 2 |
| DESTINATION | |
| REMARKS | |
| BRACKET,TURN SIGNAL.L | |
| REF # | 7 |
|---|---|
| PART NUMBER | |
| QUANTITY | 2 |
| DESTINATION | |
| REMARKS | |
| BOLT-UPSET | |
| REF # | 8 |
|---|---|
| PART NUMBER | |
| QUANTITY | 4 |
| DESTINATION | |
| REMARKS | |
| NUT 6MM | |
| REF # | 9 |
|---|---|
| PART NUMBER | |
| QUANTITY | 4 |
| DESTINATION | |
| REMARKS | |
| WASHER PLAIN 6MM | |
| REF # | 10 |
|---|---|
| PART NUMBER | |
| QUANTITY | 8 |
| DESTINATION | |
| REMARKS | |
| WASHER SPRING 6MM | |
| REF # | 11 |
|---|---|
| PART NUMBER | |
| QUANTITY | 4 |
| DESTINATION | |
| REMARKS | |
| SCREW PAN HEAD 3X5 | |
| REF # | 12 |
|---|---|
| PART NUMBER | |
| QUANTITY | 2 |
| DESTINATION | |
| REMARKS | |
| LAMP,FRNT,TURN SIGNAL | |
| REF # | 13 |
|---|---|
| PART NUMBER | |
| QUANTITY | 2 |
| DESTINATION | |
| REMARKS | |
| BULB,12V 23/8W | |
| REF # | 14 |
|---|---|
| PART NUMBER | |
| QUANTITY | 2 |
| DESTINATION | |
| REMARKS | |
| BRACKET,FRNT TURN SIG | |
| REF # | 15 |
|---|---|
| PART NUMBER | |
| QUANTITY | 2 |
| DESTINATION | |
| REMARKS | |
| WIRE-TURN SIGNAL LEAD | |
| REF # | 16 |
|---|---|
| PART NUMBER | |
| QUANTITY | 2 |
| DESTINATION | |
| REMARKS | |
| NUT 10MM | |
| REF # | 17 |
|---|---|
| PART NUMBER | |
| QUANTITY | 2 |
| DESTINATION | |
| REMARKS | |
| WASHER SPRING 10MM | |
| REF # | 18 |
|---|---|
| PART NUMBER | |
| QUANTITY | 2 |
| DESTINATION | |
| REMARKS | |
| COLLAR | |
| REF # | 19 |
|---|---|
| PART NUMBER | |
| QUANTITY | 2 |
| DESTINATION | |
| REMARKS | |
| DAMPER RUBBER | |
| REF # | 20 |
|---|---|
| PART NUMBER | |
| QUANTITY | 2 |
| DESTINATION | |
| REMARKS | |
| DAMPER RUBBER,SIG LM | |
| REF # | 21 |
|---|---|
| PART NUMBER | |
| QUANTITY | 2 |
| DESTINATION | |
| REMARKS | |
| BOLT | |
| REF # | 22 |
|---|---|
| PART NUMBER | |
| QUANTITY | 4 |
| DESTINATION | |
| REMARKS | |
| BRACKET,SIGNAL LAMP | |
| REF # | 23 |
|---|---|
| PART NUMBER | |
| QUANTITY | 2 |
| DESTINATION | |
| REMARKS | |
| DAMPER RUBBER | |
| REF # | 24 |
|---|---|
| PART NUMBER | |
| QUANTITY | 2 |
| DESTINATION | |
| REMARKS | |
| WASHER-PLAIN,5MM | |
| REF # | 25 |
|---|---|
| PART NUMBER | |
| QUANTITY | 4 |
| DESTINATION | |
| REMARKS | |
| WASHER SPRING 5MM | |
| REF # | 26 |
|---|---|
| PART NUMBER | |
| QUANTITY | 4 |
| DESTINATION | |
| REMARKS | |