Skip to main content

Parts Diagrams

customer service agent speaking with a customer

Welcome, Kawasaki owners. Access the information and tools you need to get the most out of your vehicle.

Welcome, Kawasaki owners. Access the information and tools you need to get the most out of your vehicle.

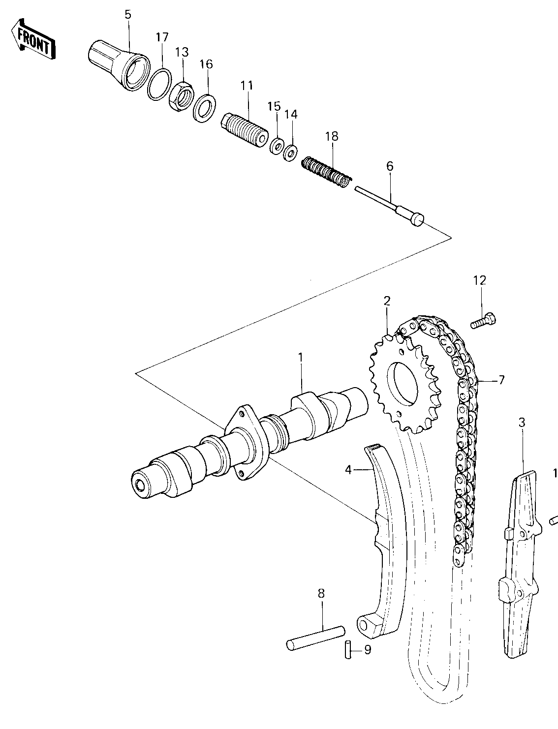
Part Item Information
ITEM NAME REF # PART NUMBER QUANTITY DESTINATION REMARKS
CAMSHAFT,VALVE 1 12044-5001 1
SPROCKET,CAM,34T 2 12046-1002 1
GUIDE,CHAIN,REAR 3 12053-1042 1
GUIDE,CAM CHAIN 4 12053-1001 1
CAP,CAM CHAIN TENSION 5 12064-005 1
ROD,PUSH 6 13116-1003 1
CHAIN CAM 7 21070-004 1
SHAFT,CHAIN GUIDE 8 39115-1001 1
PIN,DOWEL,3X25 9 551A0325 1
PIN,DOWEL,5X32 10 551A0532 2
GUIDE,PUSH ROD 11 92001-1271 1
BOLT,SPROCKET FITTING 12 92003-208 2
NUT,LOCK 13 92016-054 1
WASHER,PLAIN 14 92022-1029 1
WASHER,PLAIN 15 92022-1030 1
WASHER,14X20X2 16 92022-1040 1
"0" RING,22MM 17 92055-018 1
SPRING,CHAIN TENSINR 18 92081-131 1