main content of page
Parts Diagrams
OWNER CENTER |

Welcome, Kawasaki owners. Access the information and tools you need to get the most out of your vehicle.
OWNER CENTER |
Welcome, Kawasaki owners. Access the information and tools you need to get the most out of your vehicle.
Parts Diagrams |
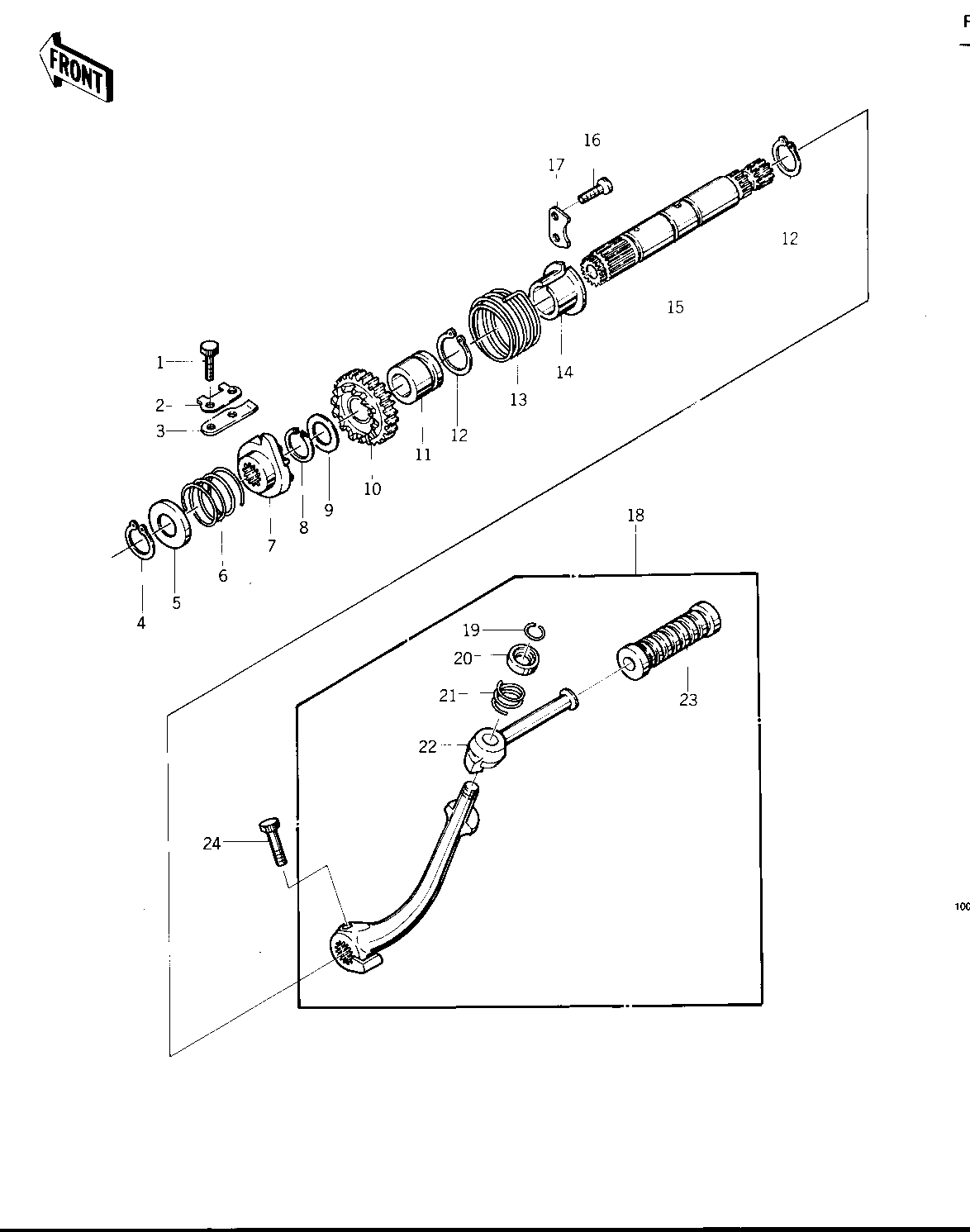
1975 KZ400-D - KICKSTARTER MECHANISM ('74 -'75 KZ400/KZ
ITEM NAME | REF # | PART NUMBER | QUANTITY | DESTINATION | REMARKS |
---|---|---|---|---|---|
BOLT-UPSET 6X14 | 1 | 112B0614 | 2 | ||
WASHER-LOCK | 2 | 92024-036 | 1 | ||
STOPPER,KICKSTARTER | 3 | 13072-012 | 1 | ||
CIRCLIP,19MM | 4 | 480J1900 | 1 | ||
CAP,KICKSTARTER | 5 | 92102-008 | 1 | ||
SPRING RATCHET | 6 | 92081-104 | 1 | ||
RATCHET,KICK SHAFT | 6 | 13078-011 | 1 | ||
CIRCLIP,18MM | 8 | 92033-029 | 1 | ||
WASHER THRUST | 9 | 92022-112 | 1 | ||
GEAR,KICKSTARTER | 10 | 13068-031 | 1 | ||
BUSHING,KICK SHAFT | 11 | 92028-175 | 1 | ||
CIRCLIP, 20MM | 12 | 480J2000 | 2 | ||
SPRING,KICK RETURN | 13 | 92082-006 | 1 | ||
GUIDE,KICK SPRING | 14 | 13070-009 | 1 | ||
SHAFT,KICKSTARTER | 15 | 13066-036 | 1 | ||
SCREW CNTSNK HD 6X16 | 16 | 221B0616 | 2 | ||
PLATE-DRUM LEV POSTON | 17 | 13169-007 | 1 | ||
PEDAL ASY,KICKSTARTER | 18 | 13058-053 | 1 | ||
CIRCLIP,KICK | 19 | 92036-025 | 1 | ||
WASHER,KICKPEDAL | 20 | 92022-294 | 1 | ||
SPRING,KICK PEDAL | 21 | 92081-136 | 1 | ||
PEDAL,KICKSTARTER | 22 | 13060-017 | 1 | ||
RUBBER KICK PEDAL | 23 | 13063-004 | 1 | ||
BOLT HEX HEAD 8X28 | 24 | 114G0828 | 1 |
BOLT-UPSET 6X14 | |
REF # | 1 |
---|---|
PART NUMBER | |
QUANTITY | 2 |
DESTINATION | |
REMARKS |
WASHER-LOCK | |
REF # | 2 |
---|---|
PART NUMBER | |
QUANTITY | 1 |
DESTINATION | |
REMARKS |
STOPPER,KICKSTARTER | |
REF # | 3 |
---|---|
PART NUMBER | |
QUANTITY | 1 |
DESTINATION | |
REMARKS |
CIRCLIP,19MM | |
REF # | 4 |
---|---|
PART NUMBER | |
QUANTITY | 1 |
DESTINATION | |
REMARKS |
CAP,KICKSTARTER | |
REF # | 5 |
---|---|
PART NUMBER | |
QUANTITY | 1 |
DESTINATION | |
REMARKS |
SPRING RATCHET | |
REF # | 6 |
---|---|
PART NUMBER | |
QUANTITY | 1 |
DESTINATION | |
REMARKS |
RATCHET,KICK SHAFT | |
REF # | 6 |
---|---|
PART NUMBER | |
QUANTITY | 1 |
DESTINATION | |
REMARKS |
CIRCLIP,18MM | |
REF # | 8 |
---|---|
PART NUMBER | |
QUANTITY | 1 |
DESTINATION | |
REMARKS |
WASHER THRUST | |
REF # | 9 |
---|---|
PART NUMBER | |
QUANTITY | 1 |
DESTINATION | |
REMARKS |
GEAR,KICKSTARTER | |
REF # | 10 |
---|---|
PART NUMBER | |
QUANTITY | 1 |
DESTINATION | |
REMARKS |
BUSHING,KICK SHAFT | |
REF # | 11 |
---|---|
PART NUMBER | |
QUANTITY | 1 |
DESTINATION | |
REMARKS |
CIRCLIP, 20MM | |
REF # | 12 |
---|---|
PART NUMBER | |
QUANTITY | 2 |
DESTINATION | |
REMARKS |
SPRING,KICK RETURN | |
REF # | 13 |
---|---|
PART NUMBER | |
QUANTITY | 1 |
DESTINATION | |
REMARKS |
GUIDE,KICK SPRING | |
REF # | 14 |
---|---|
PART NUMBER | |
QUANTITY | 1 |
DESTINATION | |
REMARKS |
SHAFT,KICKSTARTER | |
REF # | 15 |
---|---|
PART NUMBER | |
QUANTITY | 1 |
DESTINATION | |
REMARKS |
SCREW CNTSNK HD 6X16 | |
REF # | 16 |
---|---|
PART NUMBER | |
QUANTITY | 2 |
DESTINATION | |
REMARKS |
PLATE-DRUM LEV POSTON | |
REF # | 17 |
---|---|
PART NUMBER | |
QUANTITY | 1 |
DESTINATION | |
REMARKS |
PEDAL ASY,KICKSTARTER | |
REF # | 18 |
---|---|
PART NUMBER | |
QUANTITY | 1 |
DESTINATION | |
REMARKS |
CIRCLIP,KICK | |
REF # | 19 |
---|---|
PART NUMBER | |
QUANTITY | 1 |
DESTINATION | |
REMARKS |
WASHER,KICKPEDAL | |
REF # | 20 |
---|---|
PART NUMBER | |
QUANTITY | 1 |
DESTINATION | |
REMARKS |
SPRING,KICK PEDAL | |
REF # | 21 |
---|---|
PART NUMBER | |
QUANTITY | 1 |
DESTINATION | |
REMARKS |
PEDAL,KICKSTARTER | |
REF # | 22 |
---|---|
PART NUMBER | |
QUANTITY | 1 |
DESTINATION | |
REMARKS |
RUBBER KICK PEDAL | |
REF # | 23 |
---|---|
PART NUMBER | |
QUANTITY | 1 |
DESTINATION | |
REMARKS |
BOLT HEX HEAD 8X28 | |
REF # | 24 |
---|---|
PART NUMBER | |
QUANTITY | 1 |
DESTINATION | |
REMARKS |