main content of page
Parts Diagrams
OWNER CENTER |

Welcome, Kawasaki owners. Access the information and tools you need to get the most out of your vehicle.
OWNER CENTER |
Welcome, Kawasaki owners. Access the information and tools you need to get the most out of your vehicle.
Parts Diagrams |
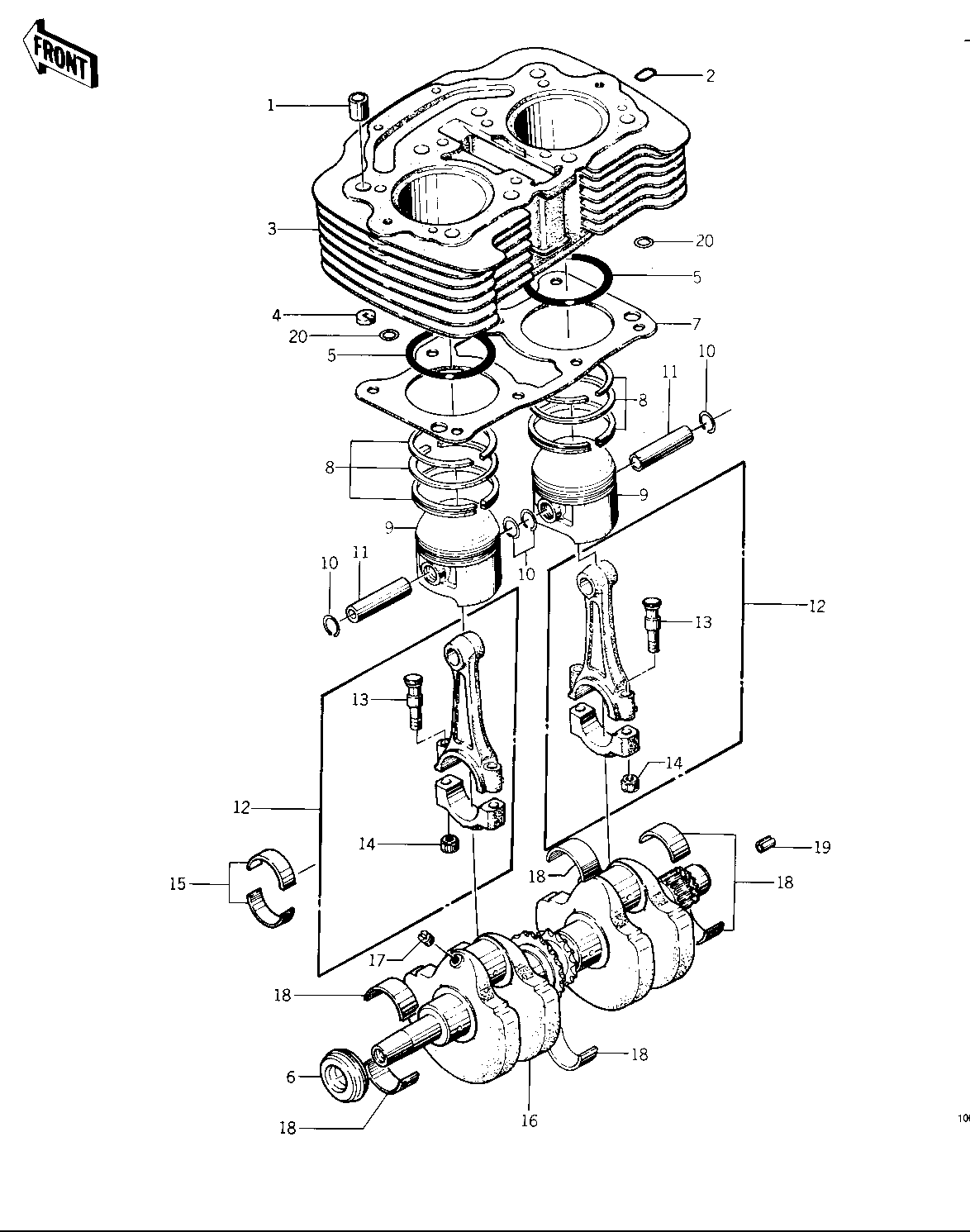
1975 KZ400-D - CYLINDER/PISTONS/CRANKSHAFT ('74 -'75 KZ
ITEM NAME | REF # | PART NUMBER | QUANTITY | DESTINATION | REMARKS |
---|---|---|---|---|---|
PIN,DOWEL,14MM | 1 | 92042-032 | 2 | ||
"O" RING,CYLINDER | 2 | 11009-1012 | 2 | ||
CYLINDER, | 3 | 11005-146 | 1 | ||
CYLINDER, | 3 | 11005-146 | 1 | ||
DAMPER RUBBER,CYLNDR | 4 | 92075-256 | 12 | ||
"O" RING | 5 | 92055-056 | 2 | ||
OIL SEAL,L.H CRNKSFT | 6 | 92050-064 | 1 | ||
GASKET,CYLINDER BASE | 7 | 11009-040 | 1 | ||
RING SET,PISTON,STD | 8 | 13008-5028 | 2 | ||
RING SET,PISTON,STD | 8 | 13008-5028 | 2 | ||
RING SET,0.020",O/S | 8 | 13025-5013 | (2 | ||
RING SET,0.020",O/S | 8 | 13025-5013 | (2 | ||
RING SET,0.040",O/S | 8 | 13024-5012 | (2 | ||
RING SET,0.040",O/S | 8 | 13024-5012 | (2 | ||
PISTON,STD | 9 | 13001-069 | 2 | ||
PISTON,0.020" O.S | 9 | 13029-070 | (2 | ||
PISTON,0.040" O.S | 9 | 13027-063 | (2 | ||
CIRCLIP PISTON PIN | 10 | 92036-005 | 4 | ||
PIN-PISTON | 11 | 13002-029 | 2 | ||
CONNECTING ROD ASSY,H | 12 | 13032-046-HH | 2 | ||
CONNECTING ROD ASSY,H | 12 | 13032-046-HH | 2 | ||
CONNECTING ROD ASSY,H | 12 | 13032-046-HH | 2 | ||
CONNECTING ROD ASSY,H | 12 | 13032-046-HH | 2 | ||
CONNECTING ROD ASSY,I | 12 | 13032-046-II | 2 | ||
CONNECTING ROD ASSY,J | 12 | 13032-046-JJ | 2 | ||
UNAVAILABLE IN PRICE BOOK | 12 | 13032-046-KK | 2 | ||
BOLT | 13 | 92001-169 | 4 | ||
BOLT | 13 | 92001-169 | AL | ||
NUT,CONNECTING ROD | 14 | 92016-053 | 4 | ||
NUT,FLANGED,8MM | 14 | 92015-1311 | AL | ||
METAL,CONROD BEARING | 15 | 13034-037 | 4 | ||
METAL,CON ROD | 15 | 13034-047 | 4 | ||
METAL,CON ROD | 15 | 13034-048 | 4 | ||
CRANKSHAFT ASSY | 16 | 13037-061 | 1 | ||
SCREW,SLOTTED,6X8 | 17 | 291H0608 | 2 | ||
BUSHING,CRANKSHAFT | 18 | 92028-1102 | 8 | ||
BUSHING,CRANKSHAFT | 18 | 92028-1102 | 8 | ||
BUSHING,CRANKSHAFT | 18 | 92028-1102 | 8 | ||
BUSHING,CRANKSHAFT | 18 | 92028-1102 | 8 | ||
PIN-SPRING,4X8 | 19 | 555A0408 | 1 | ||
"O" RING | 20 | 92055-074 | 2 | ~E/NO.070540 | |
"O" RING | 20 | 92055-090 | 2 | E/NO.070541~ |
PIN,DOWEL,14MM | |
REF # | 1 |
---|---|
PART NUMBER | |
QUANTITY | 2 |
DESTINATION | |
REMARKS |
"O" RING,CYLINDER | |
REF # | 2 |
---|---|
PART NUMBER | |
QUANTITY | 2 |
DESTINATION | |
REMARKS |
CYLINDER, | |
REF # | 3 |
---|---|
PART NUMBER | |
QUANTITY | 1 |
DESTINATION | |
REMARKS |
CYLINDER, | |
REF # | 3 |
---|---|
PART NUMBER | |
QUANTITY | 1 |
DESTINATION | |
REMARKS |
DAMPER RUBBER,CYLNDR | |
REF # | 4 |
---|---|
PART NUMBER | |
QUANTITY | 12 |
DESTINATION | |
REMARKS |
"O" RING | |
REF # | 5 |
---|---|
PART NUMBER | |
QUANTITY | 2 |
DESTINATION | |
REMARKS |
OIL SEAL,L.H CRNKSFT | |
REF # | 6 |
---|---|
PART NUMBER | |
QUANTITY | 1 |
DESTINATION | |
REMARKS |
GASKET,CYLINDER BASE | |
REF # | 7 |
---|---|
PART NUMBER | |
QUANTITY | 1 |
DESTINATION | |
REMARKS |
RING SET,PISTON,STD | |
REF # | 8 |
---|---|
PART NUMBER | |
QUANTITY | 2 |
DESTINATION | |
REMARKS |
RING SET,PISTON,STD | |
REF # | 8 |
---|---|
PART NUMBER | |
QUANTITY | 2 |
DESTINATION | |
REMARKS |
RING SET,0.020",O/S | |
REF # | 8 |
---|---|
PART NUMBER | |
QUANTITY | (2 |
DESTINATION | |
REMARKS |
RING SET,0.020",O/S | |
REF # | 8 |
---|---|
PART NUMBER | |
QUANTITY | (2 |
DESTINATION | |
REMARKS |
RING SET,0.040",O/S | |
REF # | 8 |
---|---|
PART NUMBER | |
QUANTITY | (2 |
DESTINATION | |
REMARKS |
RING SET,0.040",O/S | |
REF # | 8 |
---|---|
PART NUMBER | |
QUANTITY | (2 |
DESTINATION | |
REMARKS |
PISTON,STD | |
REF # | 9 |
---|---|
PART NUMBER | |
QUANTITY | 2 |
DESTINATION | |
REMARKS |
PISTON,0.020" O.S | |
REF # | 9 |
---|---|
PART NUMBER | |
QUANTITY | (2 |
DESTINATION | |
REMARKS |
PISTON,0.040" O.S | |
REF # | 9 |
---|---|
PART NUMBER | |
QUANTITY | (2 |
DESTINATION | |
REMARKS |
CIRCLIP PISTON PIN | |
REF # | 10 |
---|---|
PART NUMBER | |
QUANTITY | 4 |
DESTINATION | |
REMARKS |
PIN-PISTON | |
REF # | 11 |
---|---|
PART NUMBER | |
QUANTITY | 2 |
DESTINATION | |
REMARKS |
CONNECTING ROD ASSY,H | |
REF # | 12 |
---|---|
PART NUMBER | |
QUANTITY | 2 |
DESTINATION | |
REMARKS |
CONNECTING ROD ASSY,H | |
REF # | 12 |
---|---|
PART NUMBER | |
QUANTITY | 2 |
DESTINATION | |
REMARKS |
CONNECTING ROD ASSY,H | |
REF # | 12 |
---|---|
PART NUMBER | |
QUANTITY | 2 |
DESTINATION | |
REMARKS |
CONNECTING ROD ASSY,H | |
REF # | 12 |
---|---|
PART NUMBER | |
QUANTITY | 2 |
DESTINATION | |
REMARKS |
CONNECTING ROD ASSY,I | |
REF # | 12 |
---|---|
PART NUMBER | |
QUANTITY | 2 |
DESTINATION | |
REMARKS |
CONNECTING ROD ASSY,J | |
REF # | 12 |
---|---|
PART NUMBER | |
QUANTITY | 2 |
DESTINATION | |
REMARKS |
UNAVAILABLE IN PRICE BOOK | |
REF # | 12 |
---|---|
PART NUMBER | |
QUANTITY | 2 |
DESTINATION | |
REMARKS |
BOLT | |
REF # | 13 |
---|---|
PART NUMBER | |
QUANTITY | 4 |
DESTINATION | |
REMARKS |
BOLT | |
REF # | 13 |
---|---|
PART NUMBER | |
QUANTITY | AL |
DESTINATION | |
REMARKS |
NUT,CONNECTING ROD | |
REF # | 14 |
---|---|
PART NUMBER | |
QUANTITY | 4 |
DESTINATION | |
REMARKS |
NUT,FLANGED,8MM | |
REF # | 14 |
---|---|
PART NUMBER | |
QUANTITY | AL |
DESTINATION | |
REMARKS |
METAL,CONROD BEARING | |
REF # | 15 |
---|---|
PART NUMBER | |
QUANTITY | 4 |
DESTINATION | |
REMARKS |
METAL,CON ROD | |
REF # | 15 |
---|---|
PART NUMBER | |
QUANTITY | 4 |
DESTINATION | |
REMARKS |
METAL,CON ROD | |
REF # | 15 |
---|---|
PART NUMBER | |
QUANTITY | 4 |
DESTINATION | |
REMARKS |
CRANKSHAFT ASSY | |
REF # | 16 |
---|---|
PART NUMBER | |
QUANTITY | 1 |
DESTINATION | |
REMARKS |
SCREW,SLOTTED,6X8 | |
REF # | 17 |
---|---|
PART NUMBER | |
QUANTITY | 2 |
DESTINATION | |
REMARKS |
BUSHING,CRANKSHAFT | |
REF # | 18 |
---|---|
PART NUMBER | |
QUANTITY | 8 |
DESTINATION | |
REMARKS |
BUSHING,CRANKSHAFT | |
REF # | 18 |
---|---|
PART NUMBER | |
QUANTITY | 8 |
DESTINATION | |
REMARKS |
BUSHING,CRANKSHAFT | |
REF # | 18 |
---|---|
PART NUMBER | |
QUANTITY | 8 |
DESTINATION | |
REMARKS |
BUSHING,CRANKSHAFT | |
REF # | 18 |
---|---|
PART NUMBER | |
QUANTITY | 8 |
DESTINATION | |
REMARKS |
PIN-SPRING,4X8 | |
REF # | 19 |
---|---|
PART NUMBER | |
QUANTITY | 1 |
DESTINATION | |
REMARKS |
"O" RING | |
REF # | 20 |
---|---|
PART NUMBER | |
QUANTITY | 2 |
DESTINATION | |
REMARKS | ~E/NO.070540 |
"O" RING | |
REF # | 20 |
---|---|
PART NUMBER | |
QUANTITY | 2 |
DESTINATION | |
REMARKS | E/NO.070541~ |