Skip to main content

Parts Diagrams

customer service agent speaking with a customer

Welcome, Kawasaki owners. Access the information and tools you need to get the most out of your vehicle.

Welcome, Kawasaki owners. Access the information and tools you need to get the most out of your vehicle.

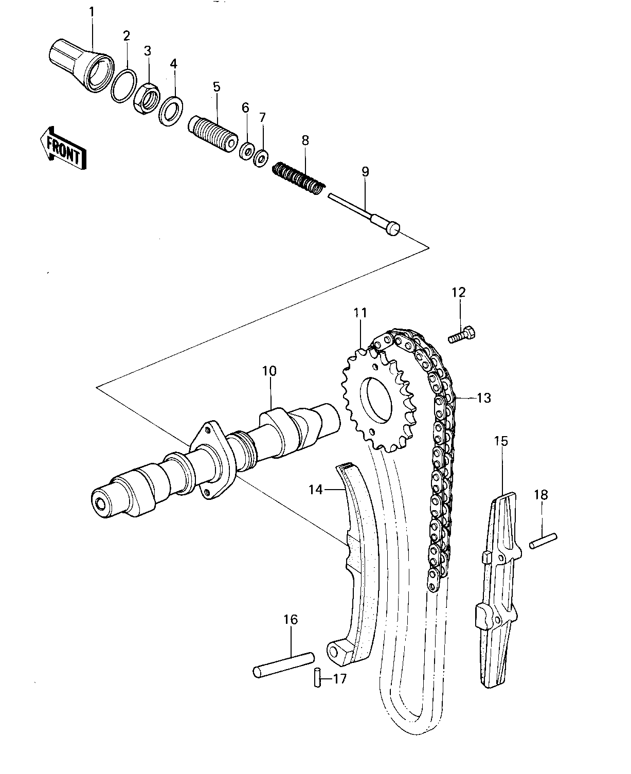
Part Item Information
ITEM NAME REF # PART NUMBER QUANTITY DESTINATION REMARKS
CAP,CAM CHAIN TENSION 1 12064-005
"0" RING,22MM 2 92055-018
NUT,LOCK 3 92016-054
WASHER,14X20X2 4 92022-1040
GUIDE,PUSH ROD 5 92001-1271
WASHER,PLAIN 6 92022-1030
WASHER,PLAIN 7 92022-1029
SPRING,CHAIN TENSINR 8 92081-131
ROD,PUSH 9 13116-1003
CAMSHAFT,VALVE 10 12044-5001
SPROCKET,CAM,34T 11 12046-1002
BOLT,SPROCKET FITTING 12 92003-208
CHAIN CAM 13 21070-004
GUIDE,CAM CHAIN 14 12053-1001
GUIDE,CHAIN,REAR 15 12053-1042
SHAFT,CHAIN GUIDE 16 39115-1001
PIN,DOWEL,3X25 17 551A0325
PIN,DOWEL,5X32 18 551A0532