main content of page
Parts Diagrams
OWNER CENTER |

Welcome, Kawasaki owners. Access the information and tools you need to get the most out of your vehicle.
OWNER CENTER |
Welcome, Kawasaki owners. Access the information and tools you need to get the most out of your vehicle.
Parts Diagrams |
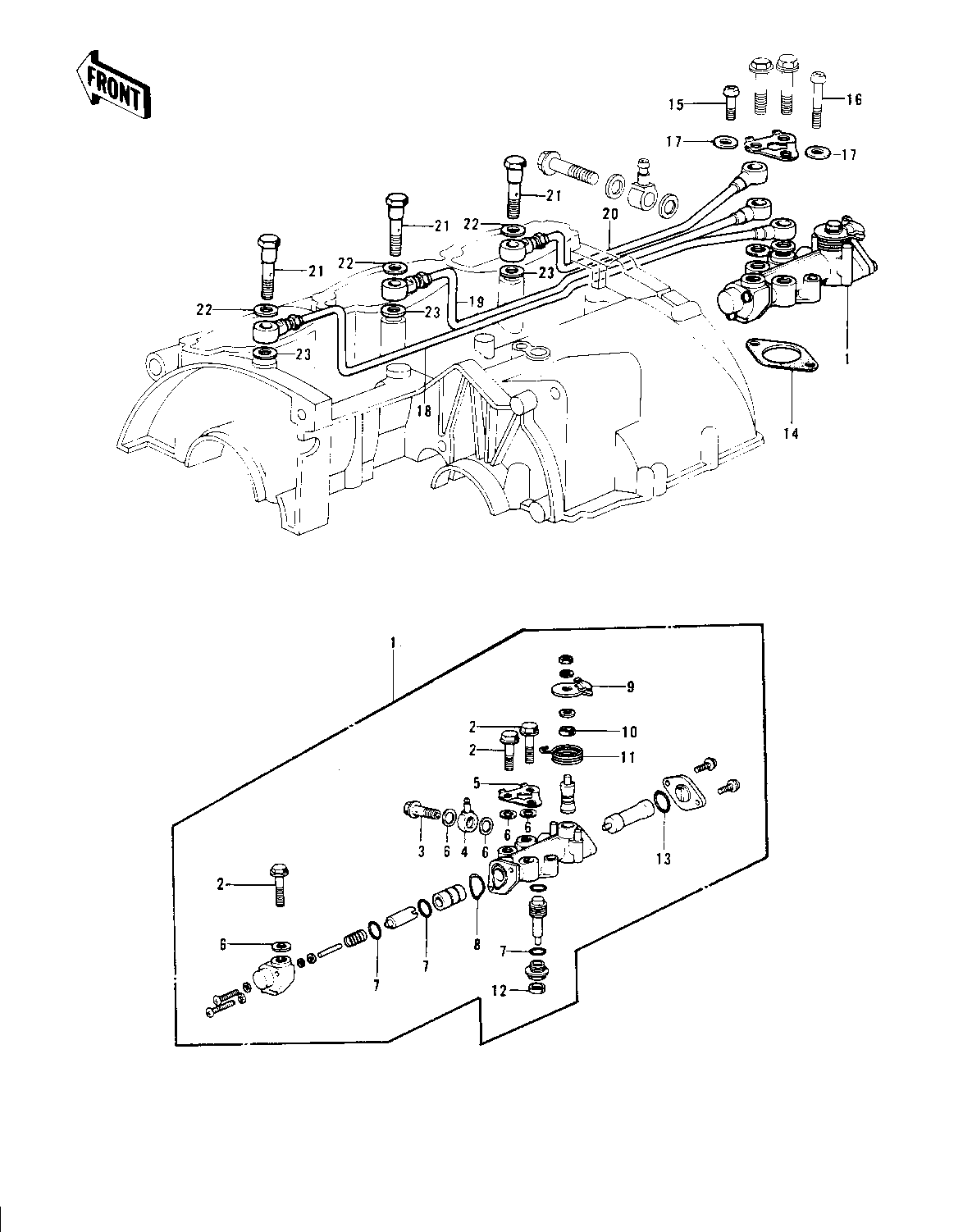
1974 Mach II - OIL PUMP ('74-'75 S3/S3-A)
ITEM NAME | REF # | PART NUMBER | QUANTITY | DESTINATION | REMARKS |
---|---|---|---|---|---|
PUMP ASSY,OIL | 1 | 16082-1009 | 1 | ||
PUMP ASSY,OIL | 1 | 16082-1009 | 1 | ||
BOLT BANJO | 2 | 92060-008 | 3 | ||
BOLT BANJO | 3 | 92060-009 | 1 | ||
CONNECTOR BANJO | 4 | 92061-015 | 1 | ||
WASHER,OIL PUMP LOCK | 5 | 92024-058 | 1 | ||
WASHER OIL PUMP BANJO | 6 | 92022-077 | 5 | ||
"0" RING,OIL PUMP SHT | 7 | 16090-002 | 3 | ||
"0" RING,UPPER CAP | 8 | 16088-002 | 1 | ||
LETER,OIL PUMP CABLE | 9 | 16096-011 | 1 | ||
SEAL-OIL,CAMSHAFT,"X" | 10 | 92049-1294 | 1 | ||
SPRING OIL PUMP LEVER | 11 | 16093-002 | 1 | ||
OIL SEAL OIL PUMP SHT | 12 | 16091-001 | 1 | ||
"0" RING,LOWER CAP | 13 | 16090-003 | 1 | ||
GASKET,OIL PUMP | 14 | 11060-1160 | 1 | ||
SCREW-PAN-CROS | 15 | 220B0514 | 1 | ||
SCREW PAN CROSS,5X28 | 16 | 220B0528 | 1 | ||
WASHER OIL PUMP | 17 | 92022-037 | 2 | ||
PIPE-OIL,L.H | 18 | 16134-012 | 1 | ||
PIPE-OIL,CENTER | 19 | 16134-013 | 1 | ||
PIPE-OIL,R.H | 20 | 16134-014 | 1 | ||
BOLT-BANJO,CR | 21 | 92060-010-79 | 3 | ||
GASKET CHECK VALVE | 22 | 92065-058 | 3 | ||
GASKET CHECK VALVE | 23 | 92065-023 | 3 |
PUMP ASSY,OIL | |
REF # | 1 |
---|---|
PART NUMBER | |
QUANTITY | 1 |
DESTINATION | |
REMARKS |
PUMP ASSY,OIL | |
REF # | 1 |
---|---|
PART NUMBER | |
QUANTITY | 1 |
DESTINATION | |
REMARKS |
BOLT BANJO | |
REF # | 2 |
---|---|
PART NUMBER | |
QUANTITY | 3 |
DESTINATION | |
REMARKS |
BOLT BANJO | |
REF # | 3 |
---|---|
PART NUMBER | |
QUANTITY | 1 |
DESTINATION | |
REMARKS |
CONNECTOR BANJO | |
REF # | 4 |
---|---|
PART NUMBER | |
QUANTITY | 1 |
DESTINATION | |
REMARKS |
WASHER,OIL PUMP LOCK | |
REF # | 5 |
---|---|
PART NUMBER | |
QUANTITY | 1 |
DESTINATION | |
REMARKS |
WASHER OIL PUMP BANJO | |
REF # | 6 |
---|---|
PART NUMBER | |
QUANTITY | 5 |
DESTINATION | |
REMARKS |
"0" RING,OIL PUMP SHT | |
REF # | 7 |
---|---|
PART NUMBER | |
QUANTITY | 3 |
DESTINATION | |
REMARKS |
"0" RING,UPPER CAP | |
REF # | 8 |
---|---|
PART NUMBER | |
QUANTITY | 1 |
DESTINATION | |
REMARKS |
LETER,OIL PUMP CABLE | |
REF # | 9 |
---|---|
PART NUMBER | |
QUANTITY | 1 |
DESTINATION | |
REMARKS |
SEAL-OIL,CAMSHAFT,"X" | |
REF # | 10 |
---|---|
PART NUMBER | |
QUANTITY | 1 |
DESTINATION | |
REMARKS |
SPRING OIL PUMP LEVER | |
REF # | 11 |
---|---|
PART NUMBER | |
QUANTITY | 1 |
DESTINATION | |
REMARKS |
OIL SEAL OIL PUMP SHT | |
REF # | 12 |
---|---|
PART NUMBER | |
QUANTITY | 1 |
DESTINATION | |
REMARKS |
"0" RING,LOWER CAP | |
REF # | 13 |
---|---|
PART NUMBER | |
QUANTITY | 1 |
DESTINATION | |
REMARKS |
GASKET,OIL PUMP | |
REF # | 14 |
---|---|
PART NUMBER | |
QUANTITY | 1 |
DESTINATION | |
REMARKS |
SCREW-PAN-CROS | |
REF # | 15 |
---|---|
PART NUMBER | |
QUANTITY | 1 |
DESTINATION | |
REMARKS |
SCREW PAN CROSS,5X28 | |
REF # | 16 |
---|---|
PART NUMBER | |
QUANTITY | 1 |
DESTINATION | |
REMARKS |
WASHER OIL PUMP | |
REF # | 17 |
---|---|
PART NUMBER | |
QUANTITY | 2 |
DESTINATION | |
REMARKS |
PIPE-OIL,L.H | |
REF # | 18 |
---|---|
PART NUMBER | |
QUANTITY | 1 |
DESTINATION | |
REMARKS |
PIPE-OIL,CENTER | |
REF # | 19 |
---|---|
PART NUMBER | |
QUANTITY | 1 |
DESTINATION | |
REMARKS |
PIPE-OIL,R.H | |
REF # | 20 |
---|---|
PART NUMBER | |
QUANTITY | 1 |
DESTINATION | |
REMARKS |
BOLT-BANJO,CR | |
REF # | 21 |
---|---|
PART NUMBER | |
QUANTITY | 3 |
DESTINATION | |
REMARKS |
GASKET CHECK VALVE | |
REF # | 22 |
---|---|
PART NUMBER | |
QUANTITY | 3 |
DESTINATION | |
REMARKS |
GASKET CHECK VALVE | |
REF # | 23 |
---|---|
PART NUMBER | |
QUANTITY | 3 |
DESTINATION | |
REMARKS |