Skip to main content

Parts Diagrams

customer service agent speaking with a customer

Welcome, Kawasaki owners. Access the information and tools you need to get the most out of your vehicle.

Welcome, Kawasaki owners. Access the information and tools you need to get the most out of your vehicle.

Part Item Information
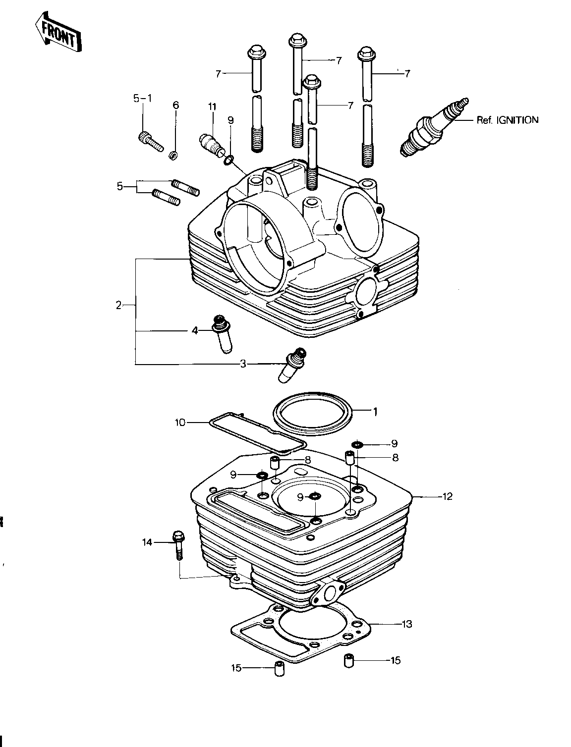
ITEM NAME REF # PART NUMBER QUANTITY DESTINATION REMARKS
GASKET,CYLINDER HEAD 1 11004-1004 1
CYLINDER HEAD 2 11002-5023 1
GUIDE,INLET VALVE 3 12013-003 1
GUIDE,EXHAUST VALVE 4 49002-1010 1
STUD,8X30 5 92004-1069 2 USE FOR 11002-5021
BOLT,8X233 7 92003-220 4
PIN,DOWEL,10X8.2X14 8 92043-1037 2
RING-O,10MM 9 92055-1149 4
"0" RING 10 92055-105 1
PLUG,TACHOMETER GEAR 11 92066-060 1
CYLINDER-ENGINE 12 11006-1011 1
GASKET,CYLINDER BASE 13 11009-043 1
BOLT 14 92003-202 1
PIN,DOWEL,10X8.2X14 15 92043-1037 2