main content of page
Parts Diagrams
OWNER CENTER |

Welcome, Kawasaki owners. Access the information and tools you need to get the most out of your vehicle.
OWNER CENTER |
Welcome, Kawasaki owners. Access the information and tools you need to get the most out of your vehicle.
Parts Diagrams |
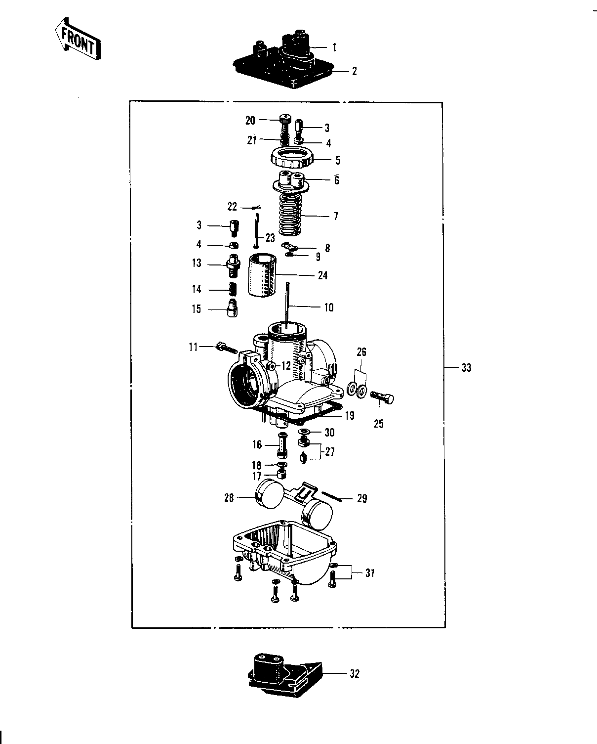
1970 Trail Boss - CARBURETOR ('70-'73)
ITEM NAME | REF # | PART NUMBER | QUANTITY | DESTINATION | REMARKS |
---|---|---|---|---|---|
GROMMET CARB CAP | 1 | 14038-006 | 1 | G4TR/A | |
CAP CARBURETOR | 2 | 14038-007 | 1 | G4TR/A | |
ADJUSTER,CABLE | 3 | 16002-017 | 2 | ||
NUT CABLE ADJUST LOCK | 4 | 16003-004 | 2 | ||
CAP MIXING CHAMBER | 5 | 16004-010 | 1 | ||
TOP MIXING CHAMBER | 6 | 16005-005 | 1 | ||
SPRING THROTTLE VALVE | 7 | 16006-013 | 1 | ||
SPRING SEAT THRTL VLV | 8 | 16007-002 | 1 | ||
CIRCLIP | 9 | 16008-010 | 1 | ||
JET NEEDLE 5J-7 | 10 | 16009-026 | 1 | ||
SCREW CLAMP | 11 | 16010-004 | 1 | ||
NUT 6MM | 12 | 311B0600 | 1 | ||
CAP STARTER PLUNGER | 13 | 16012-004 | 1 | ||
SPRING-PLUNGER | 14 | 16013-003 | 1 | ||
PLUNGER-ENRICHNER | 15 | 16016-002 | 1 | ||
NEEDLE JET E-6 | 16 | 16017-040 | 1 | G4TR/A/B | |
NEEDLE JET,E-6 | 16 | 16017-065 | 1 | G4TR-C | |
MAIN JET NO 180M | 17 | 92063-082 | 1 | STD G4TR/A/B | |
JET-MAIN NO 107.5R | 17 | 92063-073 | 1 | STD G4TR-C | |
MAIN JET NO 160M | 17 | 92063-018 | 1 | ||
MAIN JET NO 170M | 17 | 92063-081 | 1 | G4TR/A/B | |
MAIN JET NO 190M | 17 | 92063-083 | 1 | G4TR/A/B | |
MAIN JET NO 200M | 17 | 92063-084 | 1 | ||
MAIN JET,#A102.5 | 17 | 92063-1028 | 1 | ||
MAIN JET,#A105R | 17 | 92063-1042 | 1 | G4TR-C | |
MAIN JET,#110R | 17 | 92063-1038 | 1 | G4TR-C | |
JET-MAIN NO 112.5R | 17 | 92063-075 | 1 | ||
WASHER MAIN JET | 18 | 16034-001 | 1 | ||
GASKET FLOAT CHAMBER | 19 | 16019-012 | 1 | ||
SCREW,THROTTLE STOP | 20 | 16021-002 | 1 | ||
SPRING THR STOP SCREW | 21 | 16022-005 | 1 | ||
PIN COTTER 1.2X10 | 22 | 550D1210 | 1 | ||
ROD,THROTTLE VLV STP | 23 | 16024-012 | 1 | ||
VALVE,THROTTLE CA.2.5 | 24 | 16025-054 | 1 | G4TR/A/B | |
VALVE,THROTTLE CA.2.5 | 24 | 16025-054 | 1 | G4TR-C | |
BOLT BANJO | 25 | 92001-014 | 1 | ||
GASKET 8MM | 26 | 751P0800 | 1 | ||
FLOAT VALVE ASSY | 27 | 16030-001 | 1 | ||
FLOAT | 28 | 16031-015 | 1 | ||
FLOAT PIN | 29 | 16032-003 | 1 | ||
WASHER VALVE SEAT | 30 | 16029-002 | 1 | ||
SCREW-FLOAT CHAMBER | 31 | 16033-012 | 4 | ||
GROMMET OVERFLOW PIPE | 32 | 16136-001 | 1 | ||
CARBURETOR ASSY | 33 | 16001-160 | 1 | G4TR/A/B | |
CARBURETOR ASSY | 33 | 16001-160 | 1 | G4TR-C |
GROMMET CARB CAP | |
REF # | 1 |
---|---|
PART NUMBER | |
QUANTITY | 1 |
DESTINATION | |
REMARKS | G4TR/A |
CAP CARBURETOR | |
REF # | 2 |
---|---|
PART NUMBER | |
QUANTITY | 1 |
DESTINATION | |
REMARKS | G4TR/A |
ADJUSTER,CABLE | |
REF # | 3 |
---|---|
PART NUMBER | |
QUANTITY | 2 |
DESTINATION | |
REMARKS |
NUT CABLE ADJUST LOCK | |
REF # | 4 |
---|---|
PART NUMBER | |
QUANTITY | 2 |
DESTINATION | |
REMARKS |
CAP MIXING CHAMBER | |
REF # | 5 |
---|---|
PART NUMBER | |
QUANTITY | 1 |
DESTINATION | |
REMARKS |
TOP MIXING CHAMBER | |
REF # | 6 |
---|---|
PART NUMBER | |
QUANTITY | 1 |
DESTINATION | |
REMARKS |
SPRING THROTTLE VALVE | |
REF # | 7 |
---|---|
PART NUMBER | |
QUANTITY | 1 |
DESTINATION | |
REMARKS |
SPRING SEAT THRTL VLV | |
REF # | 8 |
---|---|
PART NUMBER | |
QUANTITY | 1 |
DESTINATION | |
REMARKS |
CIRCLIP | |
REF # | 9 |
---|---|
PART NUMBER | |
QUANTITY | 1 |
DESTINATION | |
REMARKS |
JET NEEDLE 5J-7 | |
REF # | 10 |
---|---|
PART NUMBER | |
QUANTITY | 1 |
DESTINATION | |
REMARKS |
SCREW CLAMP | |
REF # | 11 |
---|---|
PART NUMBER | |
QUANTITY | 1 |
DESTINATION | |
REMARKS |
NUT 6MM | |
REF # | 12 |
---|---|
PART NUMBER | |
QUANTITY | 1 |
DESTINATION | |
REMARKS |
CAP STARTER PLUNGER | |
REF # | 13 |
---|---|
PART NUMBER | |
QUANTITY | 1 |
DESTINATION | |
REMARKS |
SPRING-PLUNGER | |
REF # | 14 |
---|---|
PART NUMBER | |
QUANTITY | 1 |
DESTINATION | |
REMARKS |
PLUNGER-ENRICHNER | |
REF # | 15 |
---|---|
PART NUMBER | |
QUANTITY | 1 |
DESTINATION | |
REMARKS |
NEEDLE JET E-6 | |
REF # | 16 |
---|---|
PART NUMBER | |
QUANTITY | 1 |
DESTINATION | |
REMARKS | G4TR/A/B |
NEEDLE JET,E-6 | |
REF # | 16 |
---|---|
PART NUMBER | |
QUANTITY | 1 |
DESTINATION | |
REMARKS | G4TR-C |
MAIN JET NO 180M | |
REF # | 17 |
---|---|
PART NUMBER | |
QUANTITY | 1 |
DESTINATION | |
REMARKS | STD G4TR/A/B |
JET-MAIN NO 107.5R | |
REF # | 17 |
---|---|
PART NUMBER | |
QUANTITY | 1 |
DESTINATION | |
REMARKS | STD G4TR-C |
MAIN JET NO 160M | |
REF # | 17 |
---|---|
PART NUMBER | |
QUANTITY | 1 |
DESTINATION | |
REMARKS |
MAIN JET NO 170M | |
REF # | 17 |
---|---|
PART NUMBER | |
QUANTITY | 1 |
DESTINATION | |
REMARKS | G4TR/A/B |
MAIN JET NO 190M | |
REF # | 17 |
---|---|
PART NUMBER | |
QUANTITY | 1 |
DESTINATION | |
REMARKS | G4TR/A/B |
MAIN JET NO 200M | |
REF # | 17 |
---|---|
PART NUMBER | |
QUANTITY | 1 |
DESTINATION | |
REMARKS |
MAIN JET,#A102.5 | |
REF # | 17 |
---|---|
PART NUMBER | |
QUANTITY | 1 |
DESTINATION | |
REMARKS |
MAIN JET,#A105R | |
REF # | 17 |
---|---|
PART NUMBER | |
QUANTITY | 1 |
DESTINATION | |
REMARKS | G4TR-C |
MAIN JET,#110R | |
REF # | 17 |
---|---|
PART NUMBER | |
QUANTITY | 1 |
DESTINATION | |
REMARKS | G4TR-C |
JET-MAIN NO 112.5R | |
REF # | 17 |
---|---|
PART NUMBER | |
QUANTITY | 1 |
DESTINATION | |
REMARKS |
WASHER MAIN JET | |
REF # | 18 |
---|---|
PART NUMBER | |
QUANTITY | 1 |
DESTINATION | |
REMARKS |
GASKET FLOAT CHAMBER | |
REF # | 19 |
---|---|
PART NUMBER | |
QUANTITY | 1 |
DESTINATION | |
REMARKS |
SCREW,THROTTLE STOP | |
REF # | 20 |
---|---|
PART NUMBER | |
QUANTITY | 1 |
DESTINATION | |
REMARKS |
SPRING THR STOP SCREW | |
REF # | 21 |
---|---|
PART NUMBER | |
QUANTITY | 1 |
DESTINATION | |
REMARKS |
PIN COTTER 1.2X10 | |
REF # | 22 |
---|---|
PART NUMBER | |
QUANTITY | 1 |
DESTINATION | |
REMARKS |
ROD,THROTTLE VLV STP | |
REF # | 23 |
---|---|
PART NUMBER | |
QUANTITY | 1 |
DESTINATION | |
REMARKS |
VALVE,THROTTLE CA.2.5 | |
REF # | 24 |
---|---|
PART NUMBER | |
QUANTITY | 1 |
DESTINATION | |
REMARKS | G4TR/A/B |
VALVE,THROTTLE CA.2.5 | |
REF # | 24 |
---|---|
PART NUMBER | |
QUANTITY | 1 |
DESTINATION | |
REMARKS | G4TR-C |
BOLT BANJO | |
REF # | 25 |
---|---|
PART NUMBER | |
QUANTITY | 1 |
DESTINATION | |
REMARKS |
GASKET 8MM | |
REF # | 26 |
---|---|
PART NUMBER | |
QUANTITY | 1 |
DESTINATION | |
REMARKS |
FLOAT VALVE ASSY | |
REF # | 27 |
---|---|
PART NUMBER | |
QUANTITY | 1 |
DESTINATION | |
REMARKS |
FLOAT | |
REF # | 28 |
---|---|
PART NUMBER | |
QUANTITY | 1 |
DESTINATION | |
REMARKS |
FLOAT PIN | |
REF # | 29 |
---|---|
PART NUMBER | |
QUANTITY | 1 |
DESTINATION | |
REMARKS |
WASHER VALVE SEAT | |
REF # | 30 |
---|---|
PART NUMBER | |
QUANTITY | 1 |
DESTINATION | |
REMARKS |
SCREW-FLOAT CHAMBER | |
REF # | 31 |
---|---|
PART NUMBER | |
QUANTITY | 4 |
DESTINATION | |
REMARKS |
GROMMET OVERFLOW PIPE | |
REF # | 32 |
---|---|
PART NUMBER | |
QUANTITY | 1 |
DESTINATION | |
REMARKS |
CARBURETOR ASSY | |
REF # | 33 |
---|---|
PART NUMBER | |
QUANTITY | 1 |
DESTINATION | |
REMARKS | G4TR/A/B |
CARBURETOR ASSY | |
REF # | 33 |
---|---|
PART NUMBER | |
QUANTITY | 1 |
DESTINATION | |
REMARKS | G4TR-C |