Skip to main content

Parts Diagrams

customer service agent speaking with a customer

Welcome, Kawasaki owners. Access the information and tools you need to get the most out of your vehicle.

Welcome, Kawasaki owners. Access the information and tools you need to get the most out of your vehicle.

Part Item Information
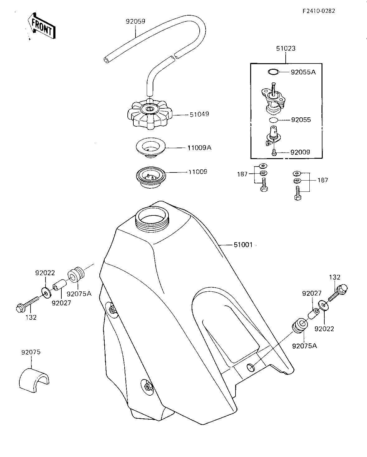
ITEM NAME REF # PART NUMBER QUANTITY DESTINATION REMARKS
GASKET,FUEL TANK 11009 11009-1452 1
GASKET 11009A 11009-1514 1
TANK-COMP-FUEL,L.GREE 51001 51001-1193-6W 1
TAP-ASSY-FUEL 51023 51023-1115 1
CAP-TANK,FUEL 51049 51049-1006 1
SCREW PAN HEAD 3X8 92009 220E0308 2
WASHER 92022 92022-1690 3
COLLAR,6.8X10X14 92027 92027-1966 3
RING-O 92055 92055-1299 1
RING-O 92055A 92055-1300 1
TUBE,5X9X350 92059 92059-1265 1
DAMPER 92075 92075-1382 1
DAMPER 92075A 92075-1787 3
BOLT-FLANGED-SMALL 132 132G0625 3
BOLT-UPSET-WSP 187 187B0616 2