Skip to main content

Parts Diagrams

customer service agent speaking with a customer

Welcome, Kawasaki owners. Access the information and tools you need to get the most out of your vehicle.

Welcome, Kawasaki owners. Access the information and tools you need to get the most out of your vehicle.

Part Item Information
ITEM NAME REF # PART NUMBER QUANTITY DESTINATION REMARKS
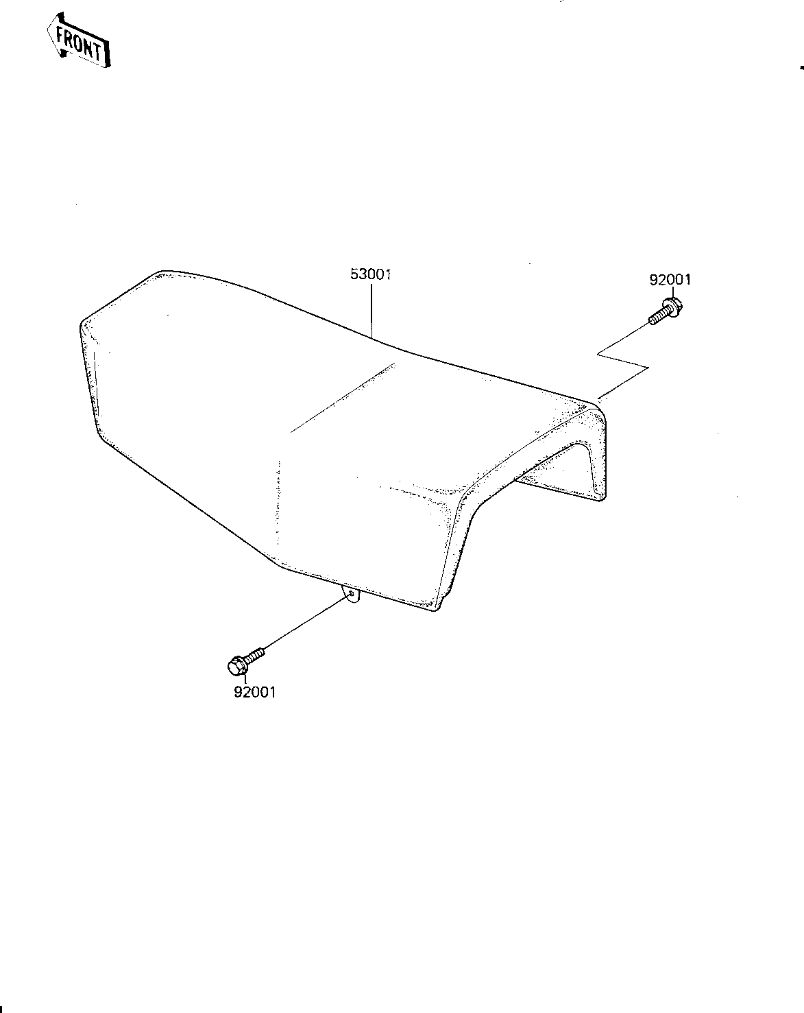
SEAT-ASSY 53001 53001-1363 1
BOLT,6X14 92001 92001-1926 2