Skip to main content

Parts Diagrams

customer service agent speaking with a customer

Welcome, Kawasaki owners. Access the information and tools you need to get the most out of your vehicle.

Welcome, Kawasaki owners. Access the information and tools you need to get the most out of your vehicle.

Part Item Information
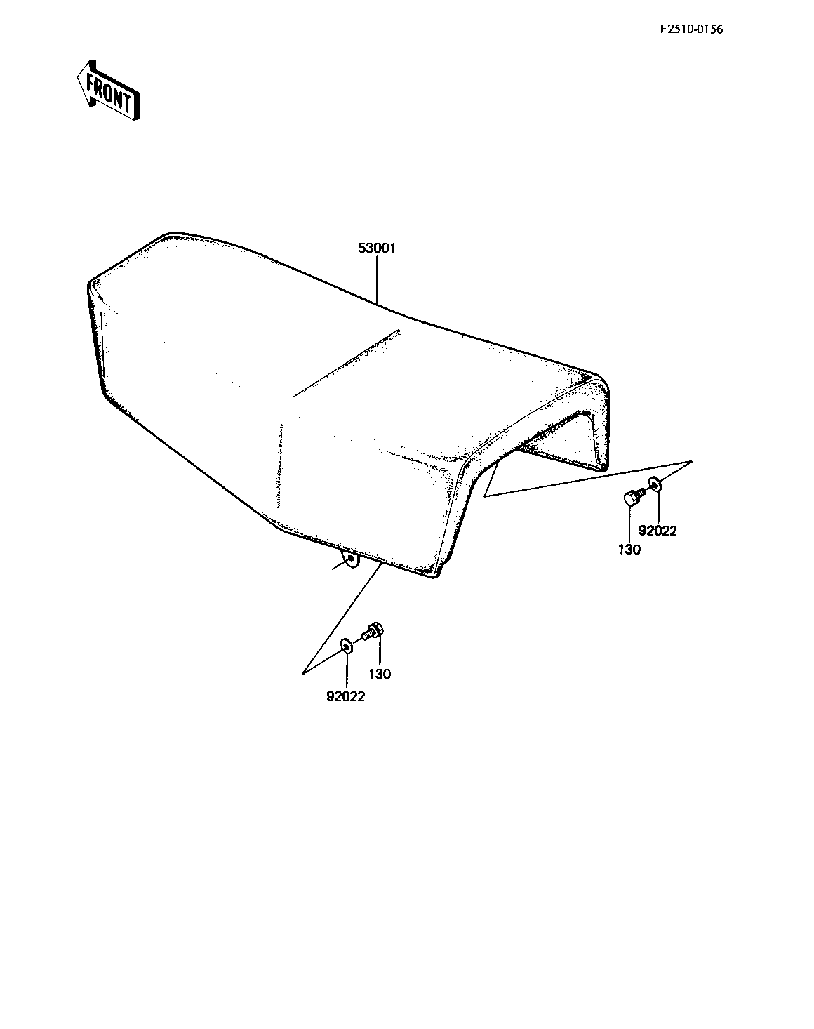
ITEM NAME REF # PART NUMBER QUANTITY DESTINATION REMARKS
SEAT-ASSY 53001 53001-1269 1
WASHER 6.5X20X1.6T 92022 92022-125 2
BOLT,FLANGED,6X12 130 130G0612 2