Skip to main content

Parts Diagrams

customer service agent speaking with a customer

Welcome, Kawasaki owners. Access the information and tools you need to get the most out of your vehicle.

Welcome, Kawasaki owners. Access the information and tools you need to get the most out of your vehicle.

Part Item Information
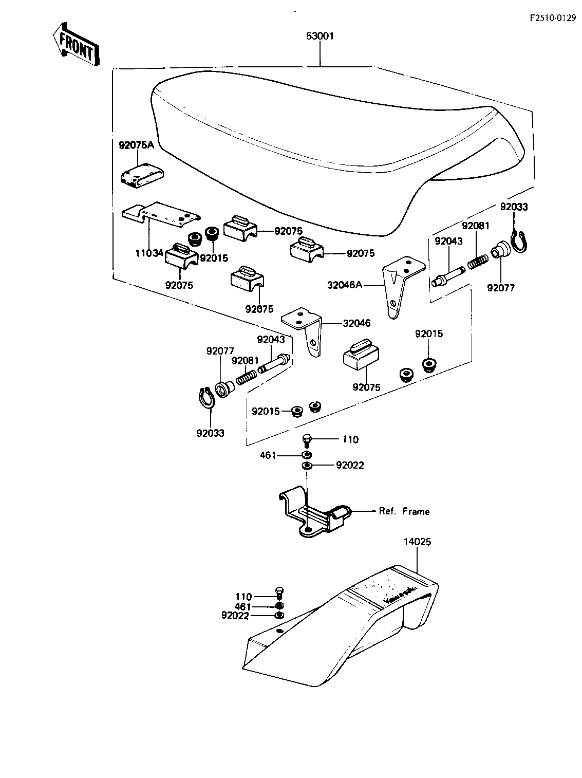
ITEM NAME REF # PART NUMBER QUANTITY DESTINATION REMARKS
BRACKET,SEAT,FR 11034 11034-1427 1
COVER,SEAT,F.RED 14025 14025-1275-6L 1
BRACKET-SEAT,LH 32046 32046-1111 1
BRACKET-SEAT,RH 32046A 32046-1112 1
SEAT-ASSY,DUAL 53001 53001-1100 1
NUT-6MM 92015 92015-1078 6
WASHER 6.5X20X1.6T 92022 92022-125 4
CIRCLIP,8M/M 92033 92033-1039 2
PIN,SEAT STOPPER 92043 92043-1036 2
DAMPER,SEAT 92075 92075-1153 8
DAMPER RUBBER,SEAT 92075A 92075-219 1
KNOB,SEAT STOPPER 92077 92077-1007 2
SPRING,SEAT STOPPER 92081 92081-1135 2
BOLT-UPSET 110 112G0618 4
WASHER SPRING 6MM 461 461F0600 4