Skip to main content

Parts Diagrams

customer service agent speaking with a customer

Welcome, Kawasaki owners. Access the information and tools you need to get the most out of your vehicle.

Welcome, Kawasaki owners. Access the information and tools you need to get the most out of your vehicle.

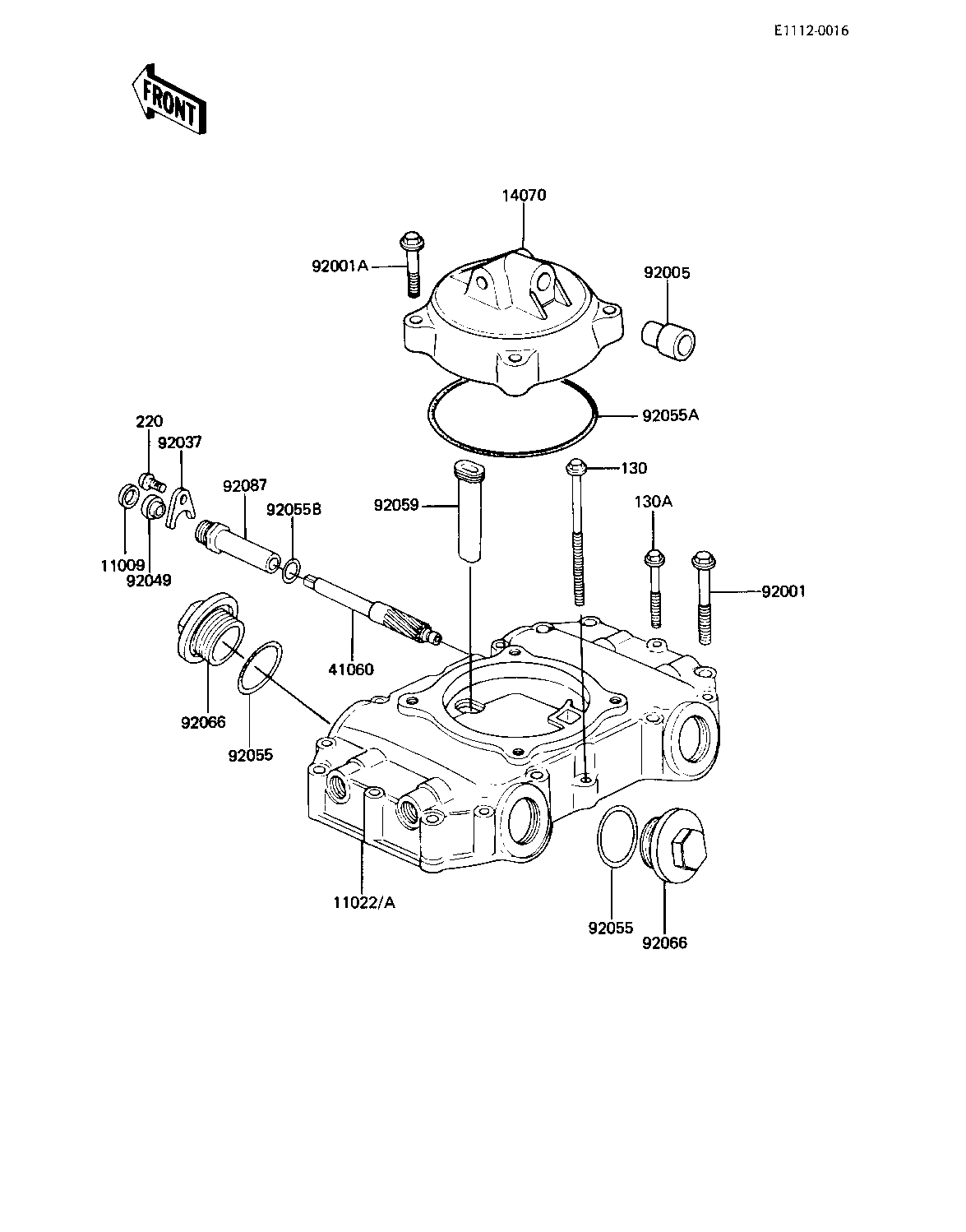
1983 LTD - CYLINDER HEAD COVER ('81'83 A2/A3/A4)

Part Item Information
ITEM NAME REF # PART NUMBER QUANTITY DESTINATION REMARKS
GASKET,TACHOMETER GER 11009 92065-103 1
CASE-ROCKER,SILVER 11022A 11022-1013 1
BODY,BREATHER 14070 14070-1004 1
GEAR,METER SCREW 41060 41060-1013 1
BOLT,HEX HEAD 8X63 92001 92002-1215 8
BOLT,HEX HEAD,8X40 92001A 92002-1214 4
BREATHER JOINT 92005 14067-006 1
CLAMP,METER GEAR 92037 92037-1030 1
OIL SEAL 92049 92050-075 1
"O" RING,VLV ADJUST 92055 92055-1005 4
"0" RING,BREATHER 92055A 92055-1020 1
"O" RING,METER GEAR 92055B 92055-1021 1
TUBE,BREATHER 92059 92059-1002 1
PLUG,VLV ADJUST 92066 92066-1006 4
BUSHING,METER GEAR 92087 92087-1001 1
BOLT-FLANGED,6X105 130 130G06105 2
BOLT,FLANGED,6X55 130A 130G0655 6
SCREW PAN HEAD 6X10 220 220B0610 1