main content of page
Parts Diagrams
OWNER CENTER |

Welcome, Kawasaki owners. Access the information and tools you need to get the most out of your vehicle.
OWNER CENTER |
Welcome, Kawasaki owners. Access the information and tools you need to get the most out of your vehicle.
Parts Diagrams |
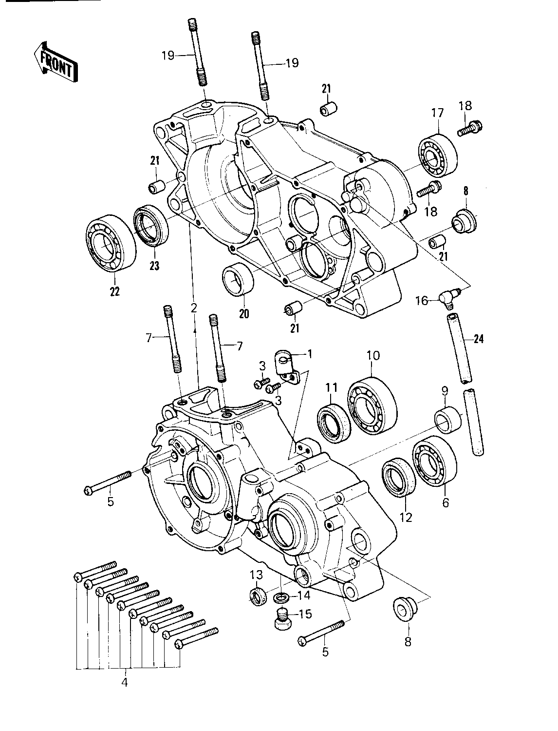
ITEM NAME | REF # | PART NUMBER | QUANTITY | DESTINATION | REMARKS |
---|---|---|---|---|---|
HOLDER,CLUTCH CABLE | 1 | 13091-1068 | 1 | ||
SET-CRANKCASE | 2 | 14001-5068 | 1 | KX250-A6 | |
CRANKCASE SET | 2 | 14001-5069 | 1 | KX250-A7 | |
SCREW PAN HEAD 6X16 | 3 | 220B0616 | 2 | ||
SCREW PAN HEAD 6X50 | 4 | 220B0650 | 10 | ||
SCREW PAN HEAD 6X60 | 5 | 220B0660 | 2 | ||
BEARING BALL #6205 | 6 | 601B6205 | 1 | ||
STUD,10X65 | 7 | 92004-1032 | 2 | ||
BUSHING,PIVOT MOUNT | 8 | 92028-1074 | 2 | KX250-A6 | |
BUSHING,CASE PIVOT | 8 | 92028-1123 | 2 | KX250-A7 | |
BUSHING | 9 | 92028-132 | 1 | ||
BEARING,BALL,#6305SH2 | 10 | 92045-1024 | 1 | ||
OIL SEAL,TCJ20407 | 11 | 92049-1052 | 1 | ||
OIL SEAL TB3040 | 12 | 92050-033 | 1 | ||
OIL SEAL,TB13225.5 | 13 | 92051-005 | 1 | ||
GASKET CHECK VALVE | 14 | 92065-058 | 1 | ||
PLUG OIL DRAIN | 15 | 92067-001 | 1 | ||
BREATHER | 16 | 14069-003 | 1 | ||
BEARING BALL #6204 | 17 | 601B6204 | 1 | ||
BOLT,CLUTCH SPR FITT | 18 | 92001-1066 | 2 | ||
STUD,10X65 | 19 | 92004-1032 | 2 | ||
BUSHING | 20 | 92028-131 | 1 | ||
PIN,DOWEL,10X8.2X14 | 21 | 92043-1037 | 4 | ||
BEARING,BALL,#6305SH2 | 22 | 92045-1024 | 1 | ||
OIL SEAL,TCJ25457 | 23 | 92049-1051 | 1 | ||
PIPE-BREATHER | 24 | 92059-061 | 1 |
HOLDER,CLUTCH CABLE | |
REF # | 1 |
---|---|
PART NUMBER | |
QUANTITY | 1 |
DESTINATION | |
REMARKS |
SET-CRANKCASE | |
REF # | 2 |
---|---|
PART NUMBER | |
QUANTITY | 1 |
DESTINATION | |
REMARKS | KX250-A6 |
CRANKCASE SET | |
REF # | 2 |
---|---|
PART NUMBER | |
QUANTITY | 1 |
DESTINATION | |
REMARKS | KX250-A7 |
SCREW PAN HEAD 6X16 | |
REF # | 3 |
---|---|
PART NUMBER | |
QUANTITY | 2 |
DESTINATION | |
REMARKS |
SCREW PAN HEAD 6X50 | |
REF # | 4 |
---|---|
PART NUMBER | |
QUANTITY | 10 |
DESTINATION | |
REMARKS |
SCREW PAN HEAD 6X60 | |
REF # | 5 |
---|---|
PART NUMBER | |
QUANTITY | 2 |
DESTINATION | |
REMARKS |
BEARING BALL #6205 | |
REF # | 6 |
---|---|
PART NUMBER | |
QUANTITY | 1 |
DESTINATION | |
REMARKS |
STUD,10X65 | |
REF # | 7 |
---|---|
PART NUMBER | |
QUANTITY | 2 |
DESTINATION | |
REMARKS |
BUSHING,PIVOT MOUNT | |
REF # | 8 |
---|---|
PART NUMBER | |
QUANTITY | 2 |
DESTINATION | |
REMARKS | KX250-A6 |
BUSHING,CASE PIVOT | |
REF # | 8 |
---|---|
PART NUMBER | |
QUANTITY | 2 |
DESTINATION | |
REMARKS | KX250-A7 |
BUSHING | |
REF # | 9 |
---|---|
PART NUMBER | |
QUANTITY | 1 |
DESTINATION | |
REMARKS |
BEARING,BALL,#6305SH2 | |
REF # | 10 |
---|---|
PART NUMBER | |
QUANTITY | 1 |
DESTINATION | |
REMARKS |
OIL SEAL,TCJ20407 | |
REF # | 11 |
---|---|
PART NUMBER | |
QUANTITY | 1 |
DESTINATION | |
REMARKS |
OIL SEAL TB3040 | |
REF # | 12 |
---|---|
PART NUMBER | |
QUANTITY | 1 |
DESTINATION | |
REMARKS |
OIL SEAL,TB13225.5 | |
REF # | 13 |
---|---|
PART NUMBER | |
QUANTITY | 1 |
DESTINATION | |
REMARKS |
GASKET CHECK VALVE | |
REF # | 14 |
---|---|
PART NUMBER | |
QUANTITY | 1 |
DESTINATION | |
REMARKS |
PLUG OIL DRAIN | |
REF # | 15 |
---|---|
PART NUMBER | |
QUANTITY | 1 |
DESTINATION | |
REMARKS |
BREATHER | |
REF # | 16 |
---|---|
PART NUMBER | |
QUANTITY | 1 |
DESTINATION | |
REMARKS |
BEARING BALL #6204 | |
REF # | 17 |
---|---|
PART NUMBER | |
QUANTITY | 1 |
DESTINATION | |
REMARKS |
BOLT,CLUTCH SPR FITT | |
REF # | 18 |
---|---|
PART NUMBER | |
QUANTITY | 2 |
DESTINATION | |
REMARKS |
STUD,10X65 | |
REF # | 19 |
---|---|
PART NUMBER | |
QUANTITY | 2 |
DESTINATION | |
REMARKS |
BUSHING | |
REF # | 20 |
---|---|
PART NUMBER | |
QUANTITY | 1 |
DESTINATION | |
REMARKS |
PIN,DOWEL,10X8.2X14 | |
REF # | 21 |
---|---|
PART NUMBER | |
QUANTITY | 4 |
DESTINATION | |
REMARKS |
BEARING,BALL,#6305SH2 | |
REF # | 22 |
---|---|
PART NUMBER | |
QUANTITY | 1 |
DESTINATION | |
REMARKS |
OIL SEAL,TCJ25457 | |
REF # | 23 |
---|---|
PART NUMBER | |
QUANTITY | 1 |
DESTINATION | |
REMARKS |
PIPE-BREATHER | |
REF # | 24 |
---|---|
PART NUMBER | |
QUANTITY | 1 |
DESTINATION | |
REMARKS |