Skip to main content

Parts Diagrams

customer service agent speaking with a customer

Welcome, Kawasaki owners. Access the information and tools you need to get the most out of your vehicle.

Welcome, Kawasaki owners. Access the information and tools you need to get the most out of your vehicle.

Part Item Information
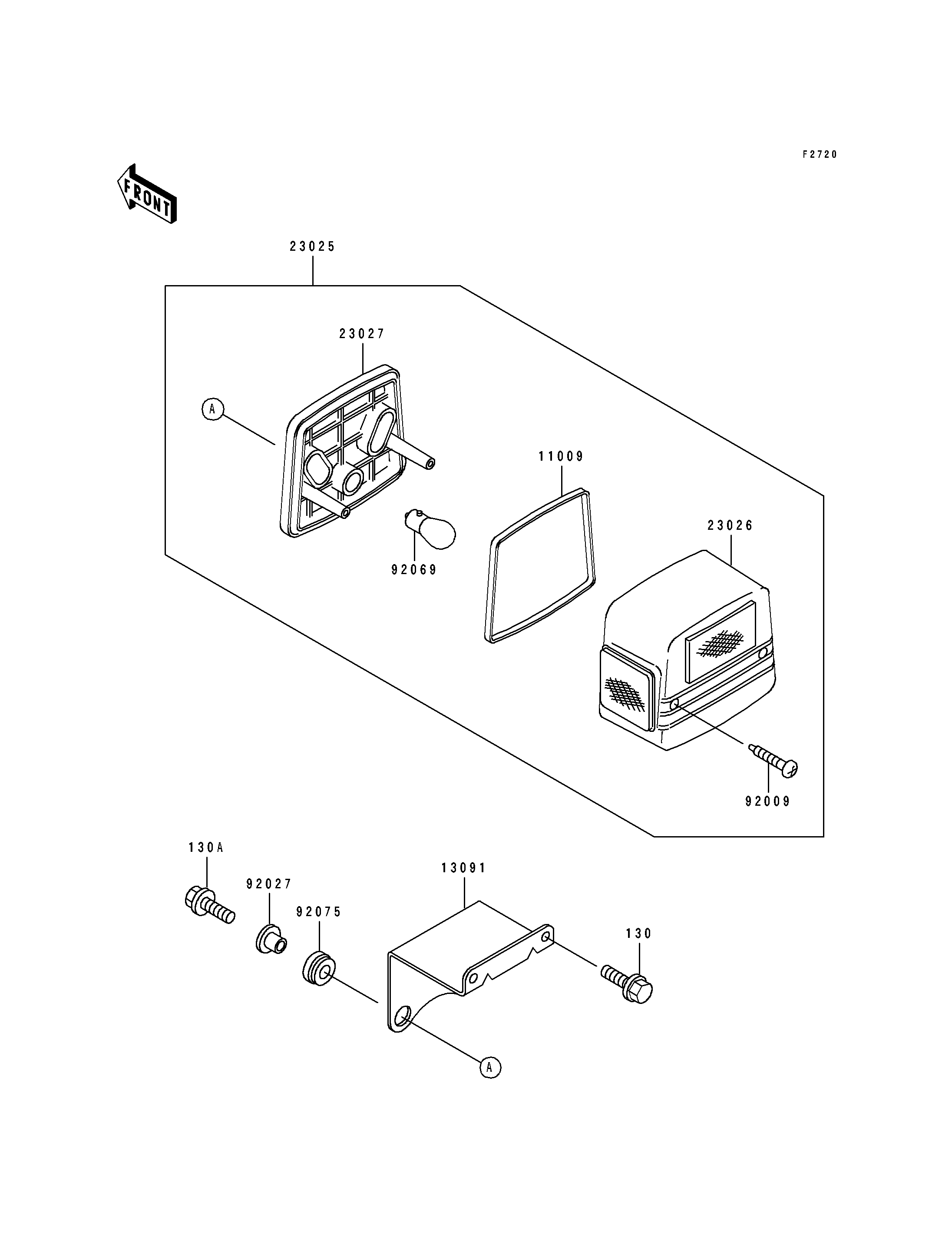
ITEM NAME REF # PART NUMBER QUANTITY DESTINATION REMARKS
GASKET,TAIL LAMP 11009 11009-1215 1
HOLDER,TAIL LAMP 13091 13091-1743 1
LAMP-TAIL 23025 23025-1042 1
LENS,TAIL LAMP 23026 23026-1019 1
BODY-COMP-TAIL LAMP 23027 23027-1023 1
SCREW,TAPPING,4X25 92009 92009-1069 2
COLLAR,L=11.1 92027 92027-194 2
BULB,12V20/5W 92069 92069-1011 1
DAMPER 92075 92075-277 2
BOLT-FLANGED,6X16,BLACK 130 130J0616 2
BOLT-FLANGED 130A 130J0620 2