Skip to main content

Parts Diagrams

customer service agent speaking with a customer

Welcome, Kawasaki owners. Access the information and tools you need to get the most out of your vehicle.

Welcome, Kawasaki owners. Access the information and tools you need to get the most out of your vehicle.

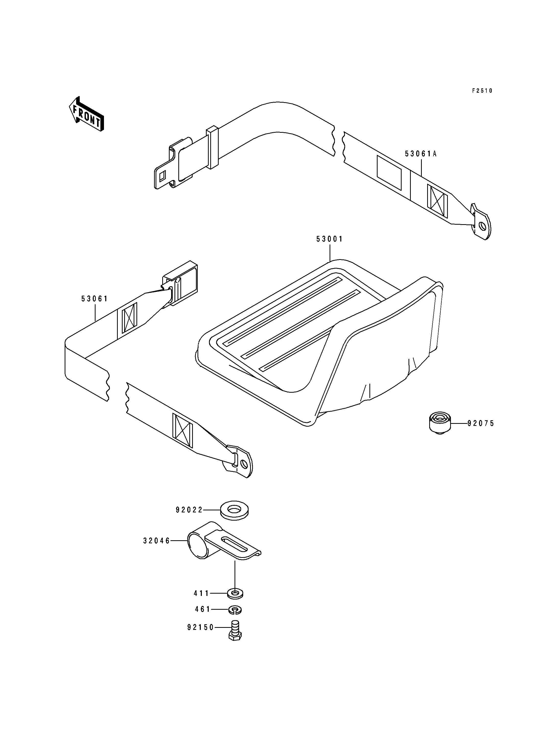
Part Item Information
ITEM NAME REF # PART NUMBER QUANTITY DESTINATION REMARKS
BRACKET-SEAT 32046 32046-1353 2
SEAT-ASSY 53001 53001-1623 1
BELT-SEAT,BUCKLE 53061 53061-1010 1
BELT-SEAT,LATCH PLATE 53061A 53061-1011 1
WASHER,15X26X2.3 92022 92022-1577 2
DAMPER 92075 92075-1045 2
BOLT 92150 92150-1449 2
WASHER-PLAIN,8MM 411 411B0800 2
WASHER-SPRING,8MM 461 461F0800 2