Skip to main content

Parts Diagrams

customer service agent speaking with a customer

Welcome, Kawasaki owners. Access the information and tools you need to get the most out of your vehicle.

Welcome, Kawasaki owners. Access the information and tools you need to get the most out of your vehicle.

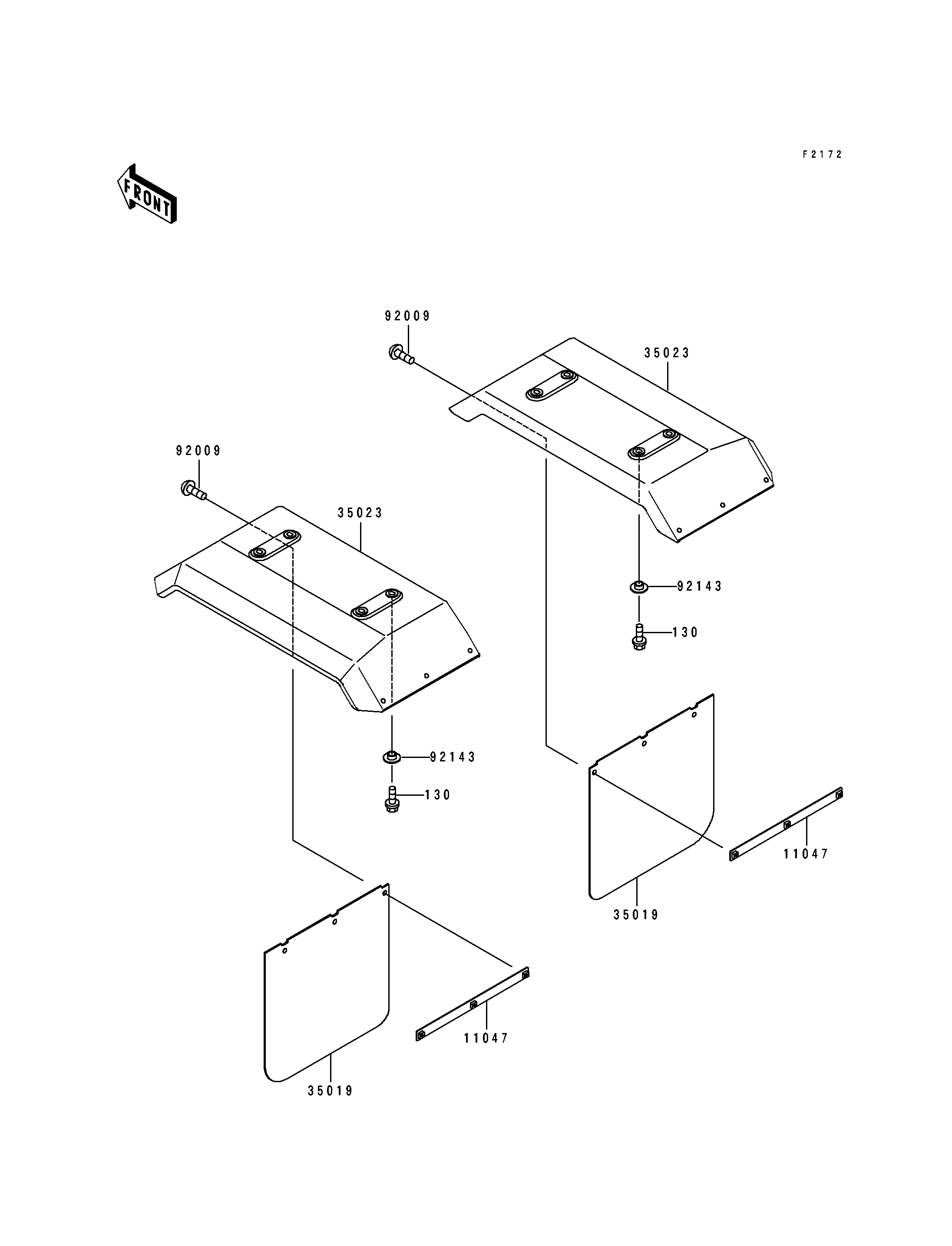
Part Item Information
ITEM NAME REF # PART NUMBER QUANTITY DESTINATION REMARKS
BRACKET,REAR FLAP 11047 11047-1172 2
FLAP,REAR FENDER 35019 35019-1244 2
FENDER-REAR 35023 35023-1298 2
SCREW,6X14 92009 92009-1288 6
COLLAR,L=5 92143 92143-1087 8
BOLT-FLANGED,6X14,BLACK 130 130J0614 8