Skip to main content

Parts Diagrams

customer service agent speaking with a customer

Welcome, Kawasaki owners. Access the information and tools you need to get the most out of your vehicle.

Welcome, Kawasaki owners. Access the information and tools you need to get the most out of your vehicle.

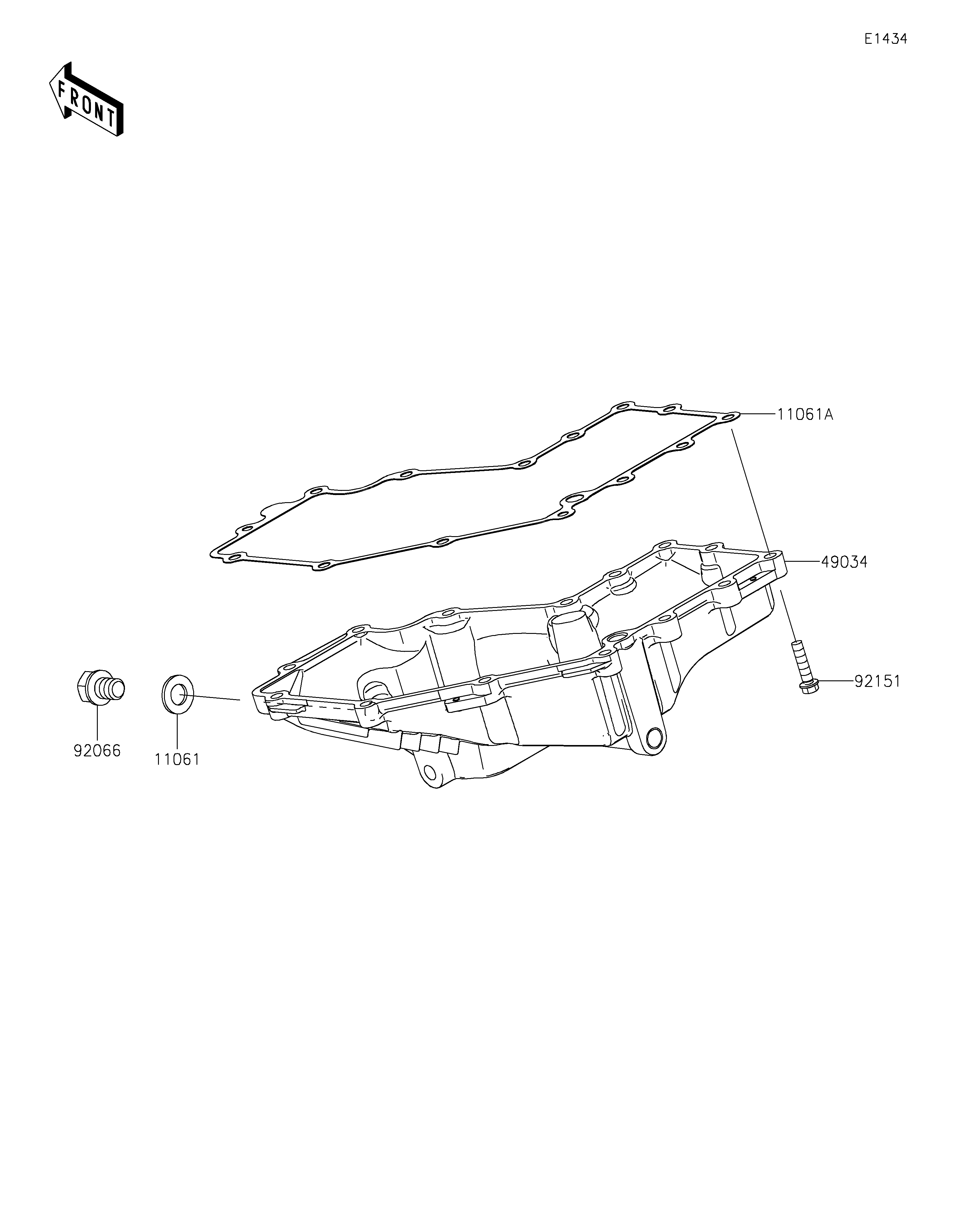
11061
11061A
49034
92066
92151
Part Item Information
ITEM NAME REF # PART NUMBER QUANTITY DESTINATION REMARKS
GASKET,12X22X2 11061 11061-0417 1
GASKET,OILPAN 11061A 11061-1251 1
PAN-OIL 49034 49034-0594 1
PLUG,OIL DRAIN,12X15 92066 92066-0767 1
BOLT,FLANGED-SMALL,6X25 92151 92151-1930 14