Skip to main content

Parts Diagrams

customer service agent speaking with a customer

Welcome, Kawasaki owners. Access the information and tools you need to get the most out of your vehicle.

Welcome, Kawasaki owners. Access the information and tools you need to get the most out of your vehicle.

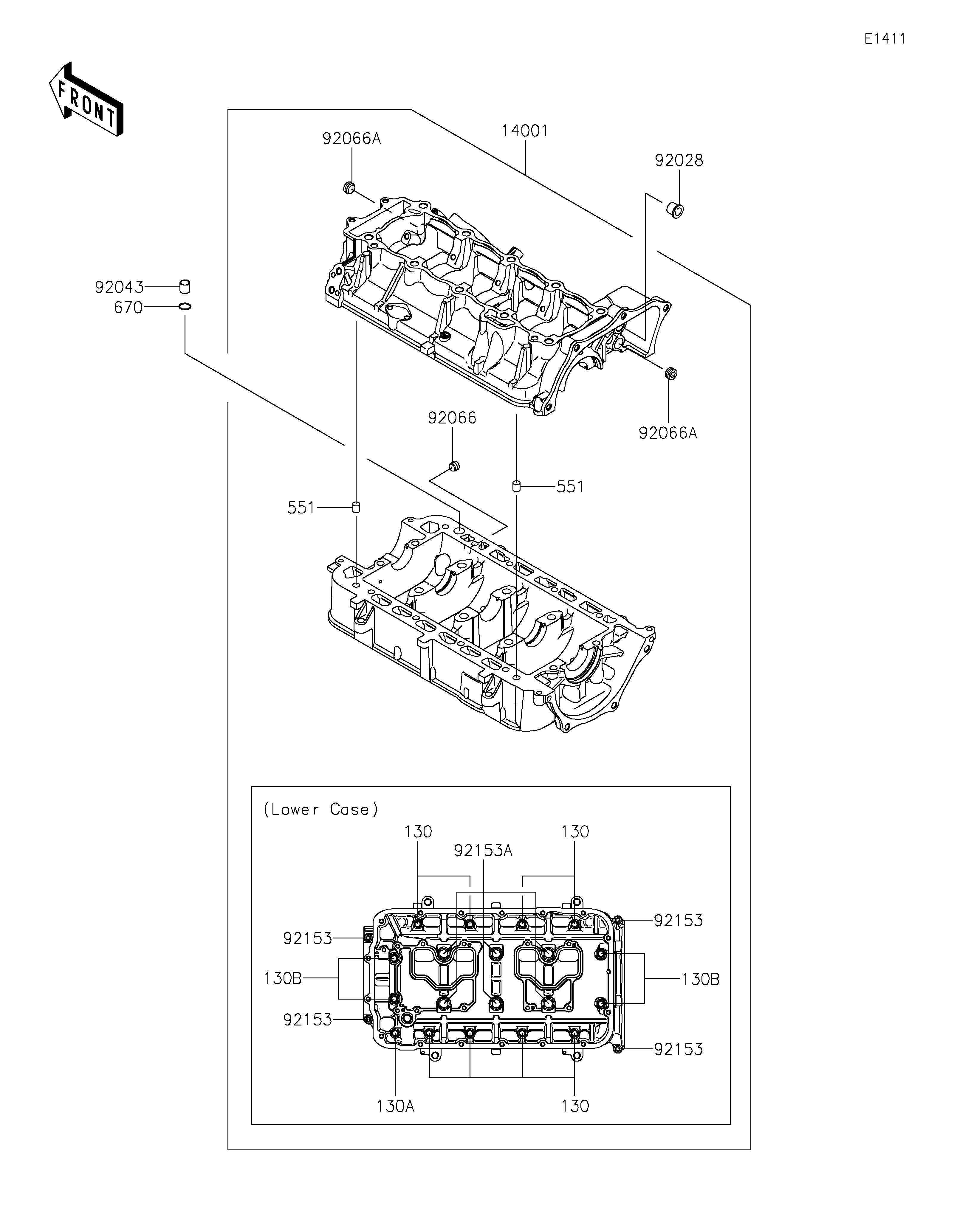
14001
92028
92043
92066
92066A
92066A
92153
92153
92153
92153
92153A
130
130
130
130A
130B
130B
551
551
670
Part Item Information
ITEM NAME REF # PART NUMBER QUANTITY DESTINATION REMARKS
SET-CRANKCASE 14001 14001-0574 1
BUSHING 92028 92028-3718 1
PIN,11.5X14X14 92043 92043-1279 1
PLUG 92066 92066-3778 1
PLUG 92066A 92066-3782 2
BOLT,6X30 92153 92153-3707 4
BOLT,10X85 92153A 92153-3711 6
BOLT-FLANGED,8X45 130 130CD0845 8
BOLT-FLANGED,8X55 130A 130CD0855 1
BOLT-FLANGED,8X85 130B 130CD0885 4
PIN-DOWEL 551 551R1012 2
O RING,14MM 670 670D2014 1