Skip to main content

Parts Diagrams

customer service agent speaking with a customer

Welcome, Kawasaki owners. Access the information and tools you need to get the most out of your vehicle.

Welcome, Kawasaki owners. Access the information and tools you need to get the most out of your vehicle.

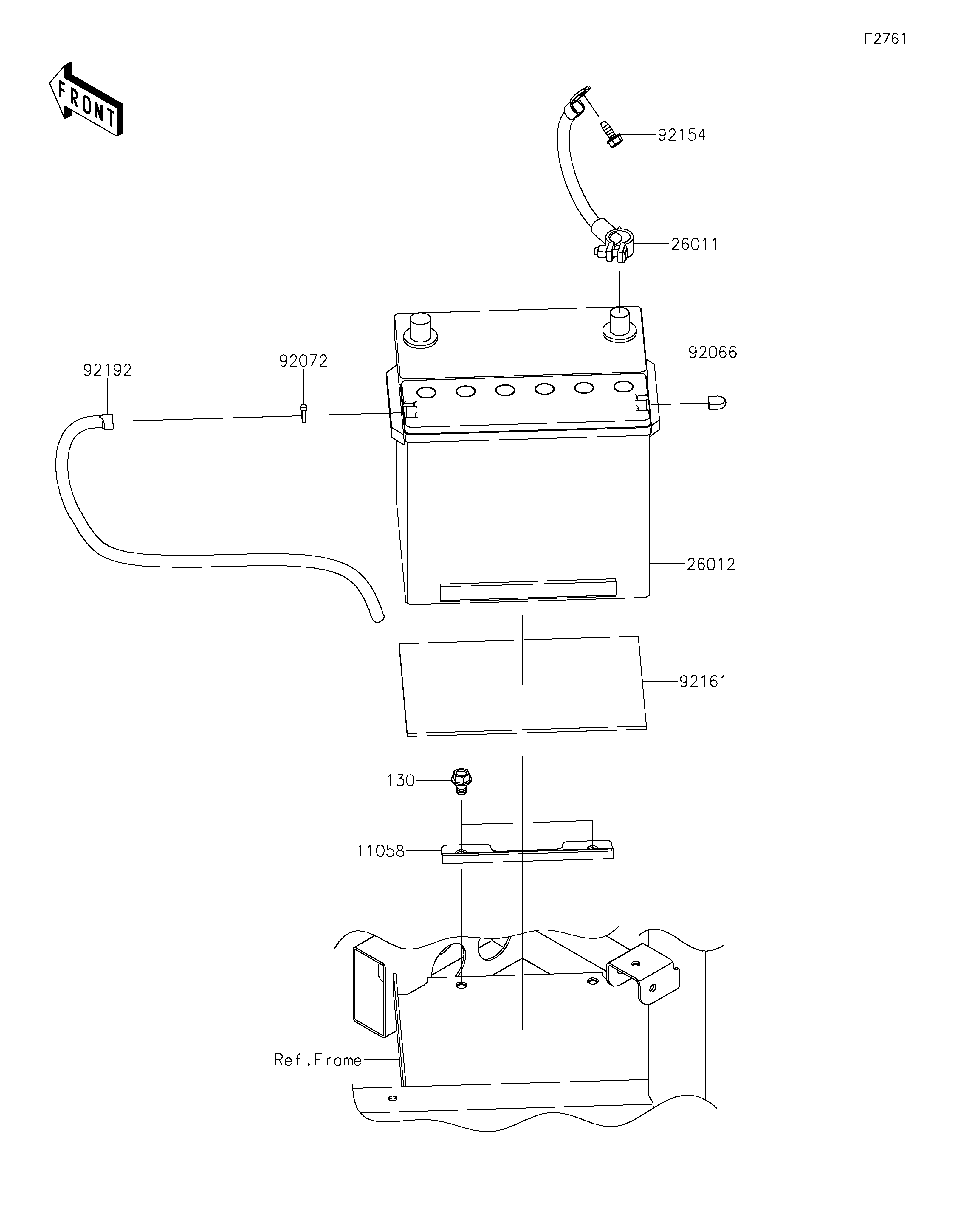
11058
26011
26012
92066
92072
92154
92161
92192
130
Part Item Information
ITEM NAME REF # PART NUMBER QUANTITY DESTINATION REMARKS
BRACKET,BATTERY 11058 11058-0790 1
WIRE-LEAD,BATTERY(-) 26011 26011-1871 1
BATTERY,12V 32AH 26012 26012-0619 1
PLUG,BREATHER 92066 92066-1592 1
BAND,92X2.4 92072 92072-0791 1
BOLT,FLANGED,6X16 92154 92154-0551 1
DAMPER 92161 92161-0578 1
TUBE,BREATHER,7X10X450 92192 92192-1694 1
BOLT-FLANGED,8X12 130 130BA0812 2