main content of page
Parts Diagrams
OWNER CENTER |
Welcome, Kawasaki owners. Access the information and tools you need to get the most out of your vehicle.
OWNER CENTER |
Welcome, Kawasaki owners. Access the information and tools you need to get the most out of your vehicle.
Parts Diagrams |
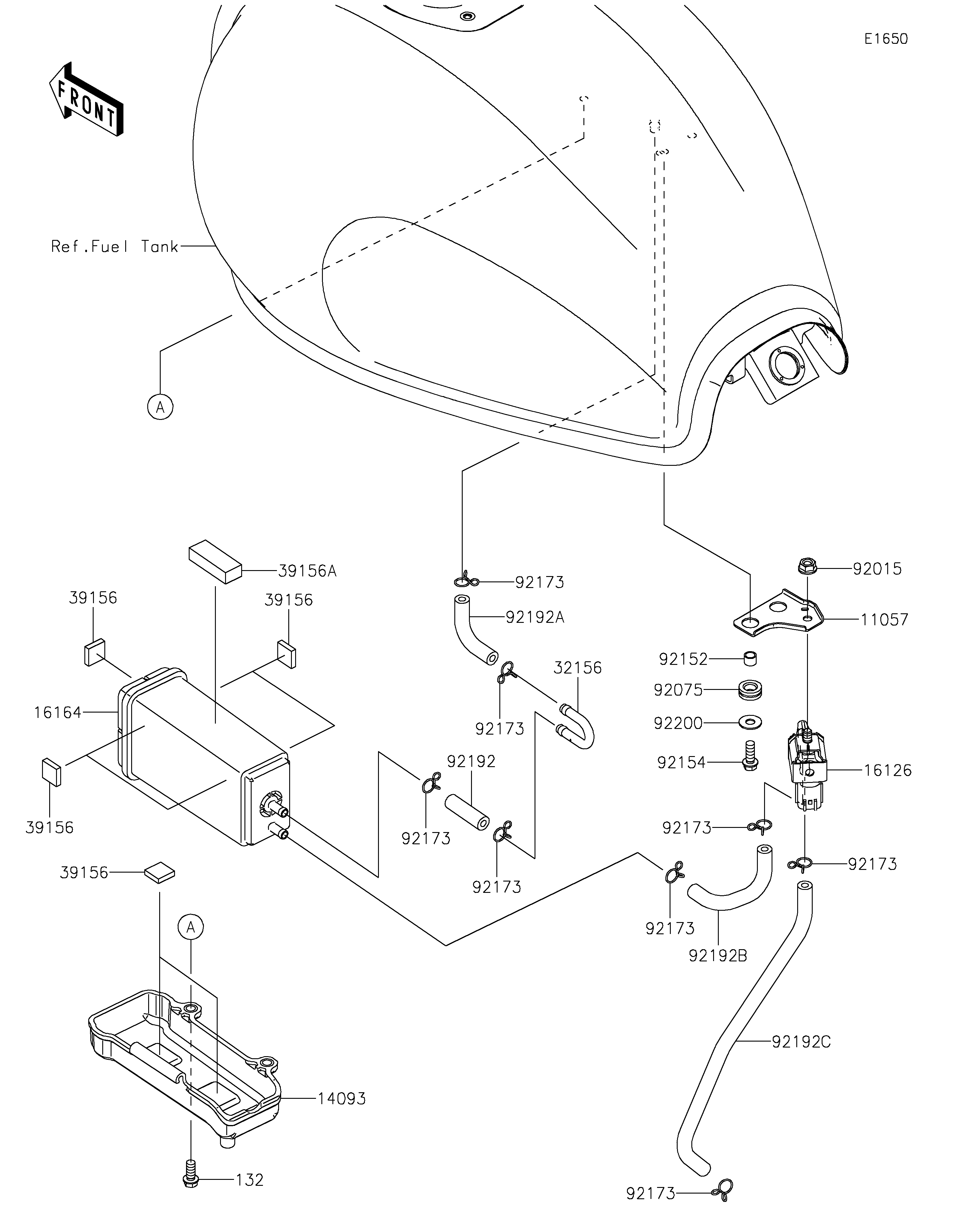
2026 W175 LTD ABS - Fuel Evaporative System
11057
14093
16126
16164
32156
39156
39156
39156
39156
39156A
92015
92075
92152
92154
92173
92173
92173
92173
92173
92173
92173
92173
92192
92192A
92192B
92192C
92200
132
| ITEM NAME | REF # | PART NUMBER | QUANTITY | DESTINATION | REMARKS |
|---|---|---|---|---|---|
| BRACKET,VALVE | 11057 | 11057-7009 | 1 | ||
| COVER,CANISTER | 14093 | 14093-1091 | 1 | ||
| VALVE,PURGE | 16126 | 16126-0759 | 1 | ||
| CANISTER | 16164 | 16164-0020 | 1 | ||
| PIPE,TANK-CANISTER | 32156 | 32156-0465 | 1 | ||
| PAD,15X15X4 | 39156 | 39156-2671 | 7 | ||
| PAD,40X15X10 | 39156A | 39156-2749 | 1 | ||
| NUT,FLANGED,6MM | 92015 | 92015-1367 | 1 | ||
| DAMPER | 92075 | 92075-1947 | 2 | ||
| COLLAR,6.5X8.5X6.4 | 92152 | 92152-2872 | 2 | ||
| BOLT,FLANGED,6X16 | 92154 | 92154-4217 | 2 | ||
| CLAMP | 92173 | 92173-2277 | 8 | ||
| TUBE,INTAKE-MANIFOLD #1 | 92192 | 92192-2734 | 1 | ||
| TUBE,TANK-PIPE | 92192A | 92192-2880 | 1 | ||
| TUBE,CANISTER-VALVE | 92192B | 92192-2881 | 1 | ||
| TUBE,VALVE-INTAKE PIPE | 92192C | 92192-2882 | 1 | ||
| WASHER,6.5X16X1 | 92200 | 92200-1974 | 2 | ||
| BOLT-FLANGED-SMALL,6X14 | 132 | 132BB0614 | 2 |
| BRACKET,VALVE | |
| REF # | 11057 |
|---|---|
| PART NUMBER | |
| QUANTITY | 1 |
| DESTINATION | |
| REMARKS | |
| COVER,CANISTER | |
| REF # | 14093 |
|---|---|
| PART NUMBER | |
| QUANTITY | 1 |
| DESTINATION | |
| REMARKS | |
| VALVE,PURGE | |
| REF # | 16126 |
|---|---|
| PART NUMBER | |
| QUANTITY | 1 |
| DESTINATION | |
| REMARKS | |
| CANISTER | |
| REF # | 16164 |
|---|---|
| PART NUMBER | |
| QUANTITY | 1 |
| DESTINATION | |
| REMARKS | |
| PIPE,TANK-CANISTER | |
| REF # | 32156 |
|---|---|
| PART NUMBER | |
| QUANTITY | 1 |
| DESTINATION | |
| REMARKS | |
| PAD,15X15X4 | |
| REF # | 39156 |
|---|---|
| PART NUMBER | |
| QUANTITY | 7 |
| DESTINATION | |
| REMARKS | |
| PAD,40X15X10 | |
| REF # | 39156A |
|---|---|
| PART NUMBER | |
| QUANTITY | 1 |
| DESTINATION | |
| REMARKS | |
| NUT,FLANGED,6MM | |
| REF # | 92015 |
|---|---|
| PART NUMBER | |
| QUANTITY | 1 |
| DESTINATION | |
| REMARKS | |
| DAMPER | |
| REF # | 92075 |
|---|---|
| PART NUMBER | |
| QUANTITY | 2 |
| DESTINATION | |
| REMARKS | |
| COLLAR,6.5X8.5X6.4 | |
| REF # | 92152 |
|---|---|
| PART NUMBER | |
| QUANTITY | 2 |
| DESTINATION | |
| REMARKS | |
| BOLT,FLANGED,6X16 | |
| REF # | 92154 |
|---|---|
| PART NUMBER | |
| QUANTITY | 2 |
| DESTINATION | |
| REMARKS | |
| CLAMP | |
| REF # | 92173 |
|---|---|
| PART NUMBER | |
| QUANTITY | 8 |
| DESTINATION | |
| REMARKS | |
| TUBE,INTAKE-MANIFOLD #1 | |
| REF # | 92192 |
|---|---|
| PART NUMBER | |
| QUANTITY | 1 |
| DESTINATION | |
| REMARKS | |
| TUBE,TANK-PIPE | |
| REF # | 92192A |
|---|---|
| PART NUMBER | |
| QUANTITY | 1 |
| DESTINATION | |
| REMARKS | |
| TUBE,CANISTER-VALVE | |
| REF # | 92192B |
|---|---|
| PART NUMBER | |
| QUANTITY | 1 |
| DESTINATION | |
| REMARKS | |
| TUBE,VALVE-INTAKE PIPE | |
| REF # | 92192C |
|---|---|
| PART NUMBER | |
| QUANTITY | 1 |
| DESTINATION | |
| REMARKS | |
| WASHER,6.5X16X1 | |
| REF # | 92200 |
|---|---|
| PART NUMBER | |
| QUANTITY | 2 |
| DESTINATION | |
| REMARKS | |
| BOLT-FLANGED-SMALL,6X14 | |
| REF # | 132 |
|---|---|
| PART NUMBER | |
| QUANTITY | 2 |
| DESTINATION | |
| REMARKS | |