Skip to main content

Parts Diagrams

customer service agent speaking with a customer

Welcome, Kawasaki owners. Access the information and tools you need to get the most out of your vehicle.

Welcome, Kawasaki owners. Access the information and tools you need to get the most out of your vehicle.

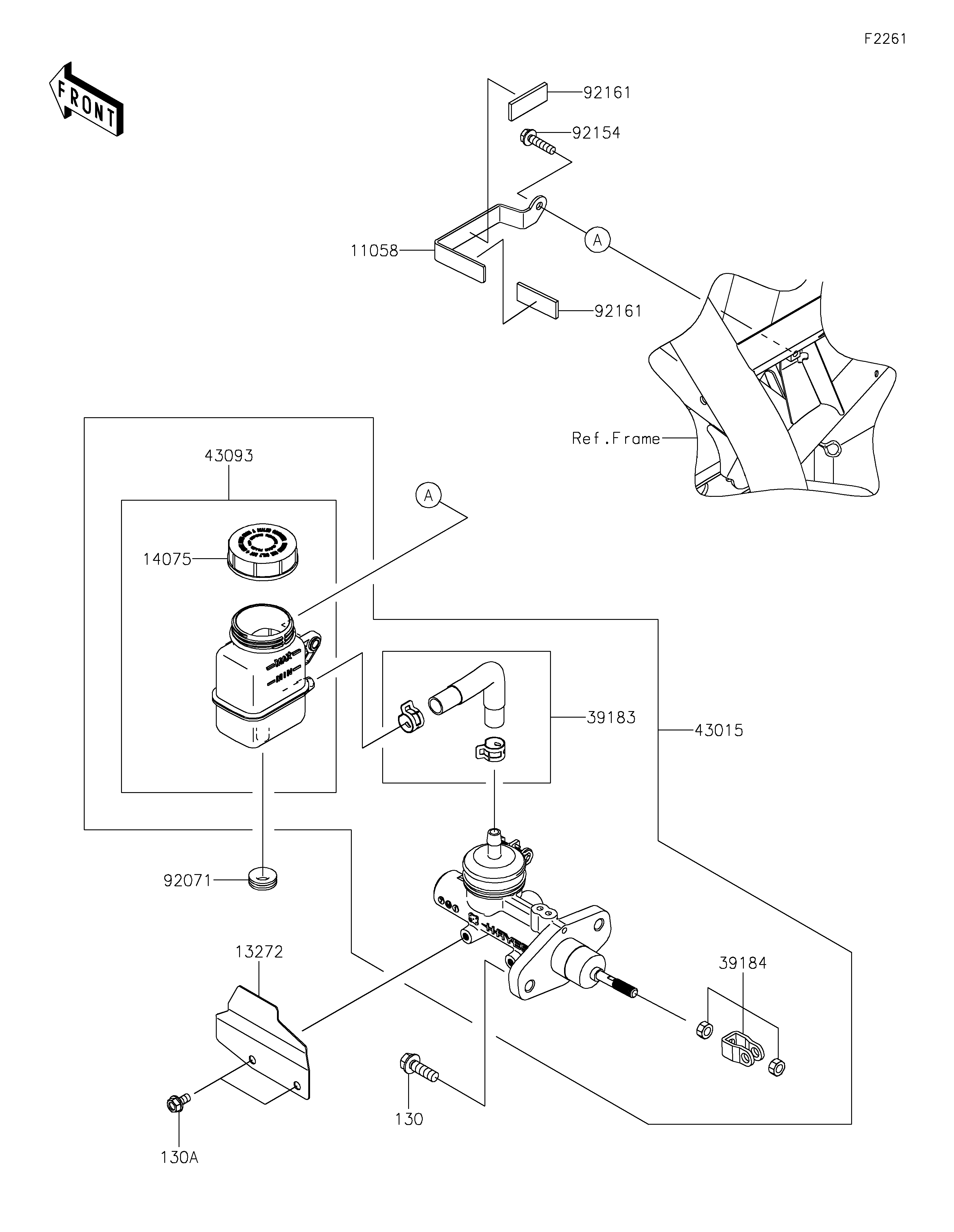
11058
13272
14075
39183
39184
43015
43093
92071
92154
92161
92161
130
130A
Part Item Information
ITEM NAME REF # PART NUMBER QUANTITY DESTINATION REMARKS
BRACKET,RESERVOIR TANK 11058 11058-7196 1
PLATE,MASTER CYLINDER 13272 13272-4451 1
CAP-ASSY 14075 14075-0038 1
BAND-ASSY,RESERVOIR HOSE 39183 39183-0011 1
BRACKET-ASSY 39184 39184-0031 1
CYLINDER-ASSY-MASTER 43015 43015-0811 1
RESERVOIR-ASSY-TANK 43093 43093-0018 1
GROMMET 92071 92071-1115 1
BOLT,FLANGED,6X25 92154 92154-0707 1
DAMPER,16X40X3 92161 92161-2817 2
BOLT-FLANGED,8X25 130 130BA0825 2
BOLT-FLANGED,6X12 130A 130CA0612 2