Skip to main content

Parts Diagrams

customer service agent speaking with a customer

Welcome, Kawasaki owners. Access the information and tools you need to get the most out of your vehicle.

Welcome, Kawasaki owners. Access the information and tools you need to get the most out of your vehicle.

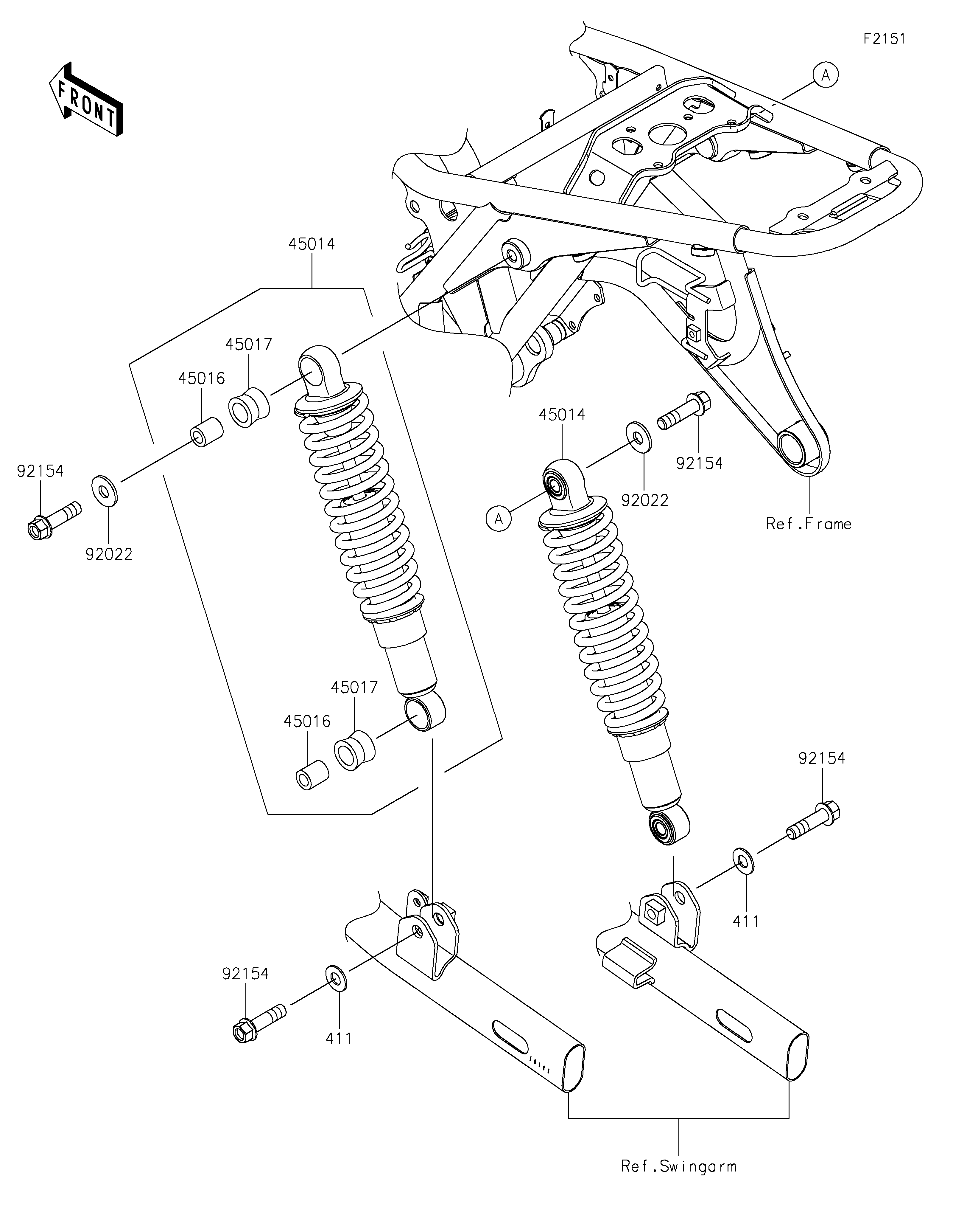
45014
45014
45016
45016
45017
45017
92022
92022
92154
92154
92154
92154
411
411
Part Item Information
ITEM NAME REF # PART NUMBER QUANTITY DESTINATION REMARKS
SHOCKABSORBER,BLACK 45014 45014-0832-10 2
COLLAR,SHOCKABSORBER 45016 45016-008 4
DAMPER,SHOCKABSORBER 45017 45017-012 4
WASHER,10.5X26X2.3 92022 92022-044 2
BOLT,FLANGED,10X38 92154 92154-7606 4
WASHER-PLAIN,10MM 411 411AA1000 2