main content of page
Parts Diagrams
OWNER CENTER |

Welcome, Kawasaki owners. Access the information and tools you need to get the most out of your vehicle.
OWNER CENTER |
Welcome, Kawasaki owners. Access the information and tools you need to get the most out of your vehicle.
Parts Diagrams |
13272
14092
16087
16087A
49019
49040
51004
51044
51049
51072
59071
92055
92152
92154
92154A
92161
92161
92161A
92161B
92161B
92173
92173
92173A
92173A
92173A
92173B
92173B
92173B
92173B
92192
92192A
92192B
92192C
92210
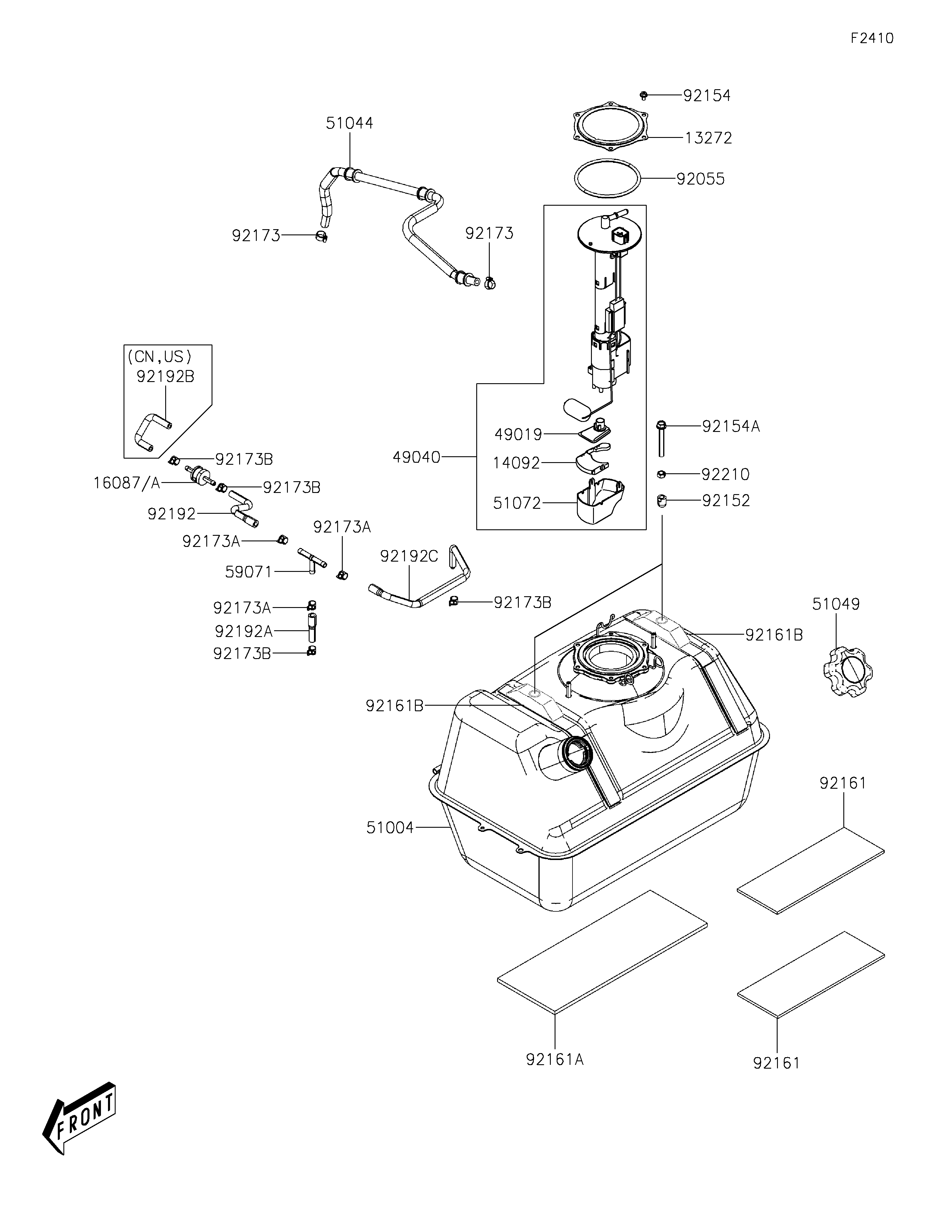
ITEM NAME | REF # | PART NUMBER | QUANTITY | DESTINATION | REMARKS |
---|---|---|---|---|---|
PLATE,FUEL PUMP | 13272 | 13272-Y030 | 1 | ||
COVER | 14092 | 14092-1044 | 1 | ||
VALVE-CHECK | 16087 | 16087-0008 | 1 | CN,US | |
VALVE-CHECK | 16087A | 16087-0009 | 1 | CA | |
FILTER-FUEL | 49019 | 49019-0013 | 1 | ||
PUMP-FUEL | 49040 | 49040-0832 | 1 | ||
TANK-FUEL | 51004 | 51004-Y001 | 1 | ||
TUBE-ASSY,FUEL TANK | 51044 | 51044-0896 | 1 | ||
CAP-TANK | 51049 | 51049-Y005 | 1 | ||
CHAMBER-FUEL | 51072 | 51072-0003 | 1 | ||
JOINT,3 WAY | 59071 | 59071-Y008 | 1 | ||
RING-O,FUEL PUMP | 92055 | 92055-Y057 | 1 | ||
COLLAR | 92152 | 92152-Y057 | 2 | ||
BOLT,5X10 | 92154 | 92154-Y119 | 6 | ||
BOLT,FLANGE,8X60 | 92154A | 92154-Y207 | 2 | ||
DAMPER,FUEL TANK | 92161 | 92161-Y040 | 2 | ||
DAMPER,FUEL TANK | 92161A | 92161-Y041 | 1 | ||
DAMPER | 92161B | 92161-Y042 | 2 | ||
CLAMP,12.5MM | 92173 | 92173-Y043 | 2 | ||
CLAMP | 92173A | 92173-Y051 | 3 | ||
CLAMP | 92173B | 92173-Y081 | 4 | ||
TUBE | 92192 | 92192-Y060 | 1 | ||
TUBE | 92192A | 92192-Y061 | 1 | ||
TUBE | 92192B | 92192-Y062 | 1 | CN,US | |
TUBE | 92192C | 92192-Y073 | 1 | ||
NUT,HEX,8MM | 92210 | 92210-Y079 | 2 |
PLATE,FUEL PUMP | |
REF # | 13272 |
---|---|
PART NUMBER | |
QUANTITY | 1 |
DESTINATION | |
REMARKS |
COVER | |
REF # | 14092 |
---|---|
PART NUMBER | |
QUANTITY | 1 |
DESTINATION | |
REMARKS |
VALVE-CHECK | |
REF # | 16087 |
---|---|
PART NUMBER | |
QUANTITY | 1 |
DESTINATION | CN,US |
REMARKS |
VALVE-CHECK | |
REF # | 16087A |
---|---|
PART NUMBER | |
QUANTITY | 1 |
DESTINATION | CA |
REMARKS |
FILTER-FUEL | |
REF # | 49019 |
---|---|
PART NUMBER | |
QUANTITY | 1 |
DESTINATION | |
REMARKS |
PUMP-FUEL | |
REF # | 49040 |
---|---|
PART NUMBER | |
QUANTITY | 1 |
DESTINATION | |
REMARKS |
TANK-FUEL | |
REF # | 51004 |
---|---|
PART NUMBER | |
QUANTITY | 1 |
DESTINATION | |
REMARKS |
TUBE-ASSY,FUEL TANK | |
REF # | 51044 |
---|---|
PART NUMBER | |
QUANTITY | 1 |
DESTINATION | |
REMARKS |
CAP-TANK | |
REF # | 51049 |
---|---|
PART NUMBER | |
QUANTITY | 1 |
DESTINATION | |
REMARKS |
CHAMBER-FUEL | |
REF # | 51072 |
---|---|
PART NUMBER | |
QUANTITY | 1 |
DESTINATION | |
REMARKS |
JOINT,3 WAY | |
REF # | 59071 |
---|---|
PART NUMBER | |
QUANTITY | 1 |
DESTINATION | |
REMARKS |
RING-O,FUEL PUMP | |
REF # | 92055 |
---|---|
PART NUMBER | |
QUANTITY | 1 |
DESTINATION | |
REMARKS |
COLLAR | |
REF # | 92152 |
---|---|
PART NUMBER | |
QUANTITY | 2 |
DESTINATION | |
REMARKS |
BOLT,5X10 | |
REF # | 92154 |
---|---|
PART NUMBER | |
QUANTITY | 6 |
DESTINATION | |
REMARKS |
BOLT,FLANGE,8X60 | |
REF # | 92154A |
---|---|
PART NUMBER | |
QUANTITY | 2 |
DESTINATION | |
REMARKS |
DAMPER,FUEL TANK | |
REF # | 92161 |
---|---|
PART NUMBER | |
QUANTITY | 2 |
DESTINATION | |
REMARKS |
DAMPER,FUEL TANK | |
REF # | 92161A |
---|---|
PART NUMBER | |
QUANTITY | 1 |
DESTINATION | |
REMARKS |
DAMPER | |
REF # | 92161B |
---|---|
PART NUMBER | |
QUANTITY | 2 |
DESTINATION | |
REMARKS |
CLAMP,12.5MM | |
REF # | 92173 |
---|---|
PART NUMBER | |
QUANTITY | 2 |
DESTINATION | |
REMARKS |
CLAMP | |
REF # | 92173A |
---|---|
PART NUMBER | |
QUANTITY | 3 |
DESTINATION | |
REMARKS |
CLAMP | |
REF # | 92173B |
---|---|
PART NUMBER | |
QUANTITY | 4 |
DESTINATION | |
REMARKS |
TUBE | |
REF # | 92192 |
---|---|
PART NUMBER | |
QUANTITY | 1 |
DESTINATION | |
REMARKS |
TUBE | |
REF # | 92192A |
---|---|
PART NUMBER | |
QUANTITY | 1 |
DESTINATION | |
REMARKS |
TUBE | |
REF # | 92192B |
---|---|
PART NUMBER | |
QUANTITY | 1 |
DESTINATION | CN,US |
REMARKS |
TUBE | |
REF # | 92192C |
---|---|
PART NUMBER | |
QUANTITY | 1 |
DESTINATION | |
REMARKS |
NUT,HEX,8MM | |
REF # | 92210 |
---|---|
PART NUMBER | |
QUANTITY | 2 |
DESTINATION | |
REMARKS |