Skip to main content

Parts Diagrams

customer service agent speaking with a customer

Welcome, Kawasaki owners. Access the information and tools you need to get the most out of your vehicle.

Welcome, Kawasaki owners. Access the information and tools you need to get the most out of your vehicle.

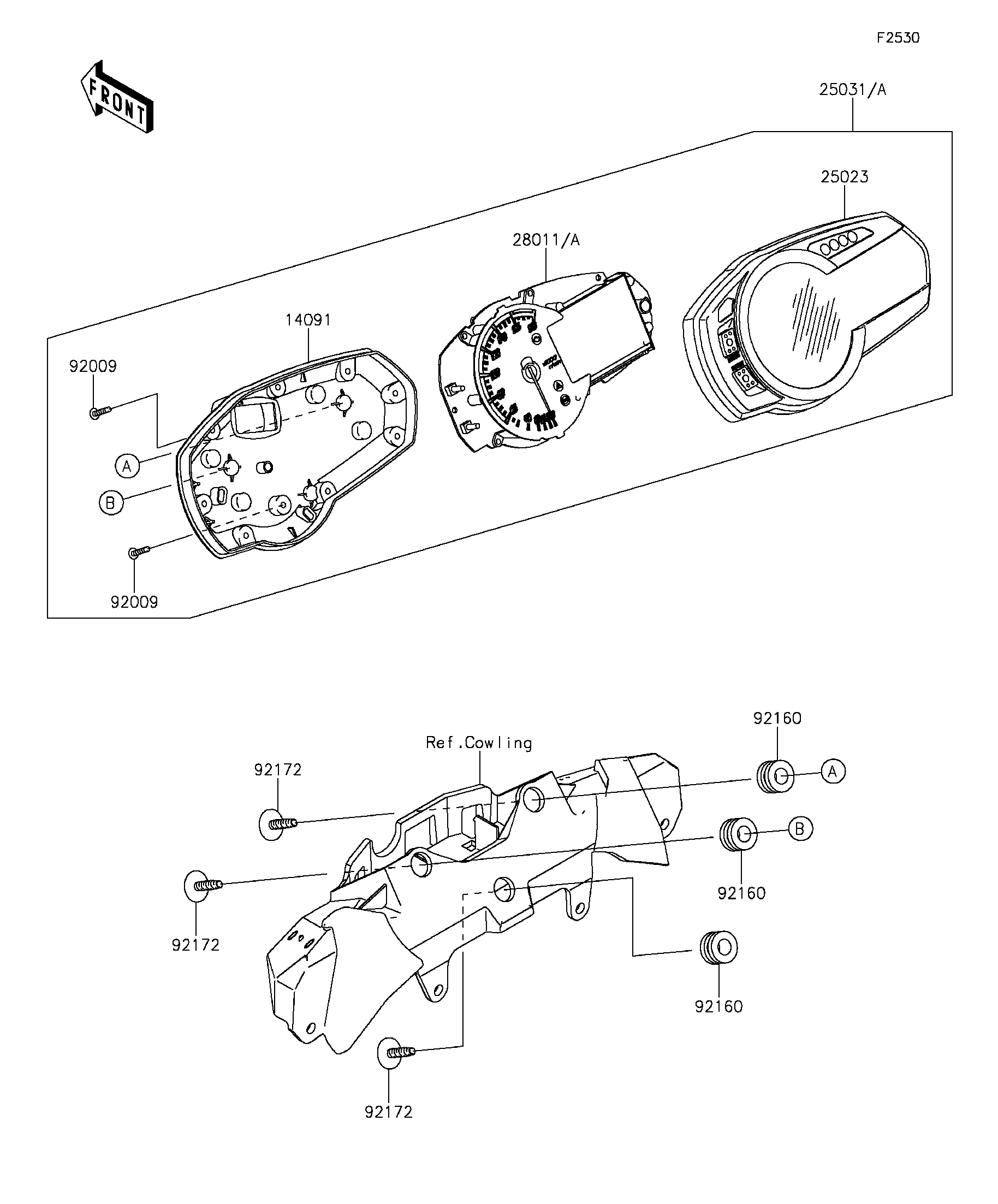
14091
25023
25031
25031A
28011
28011A
92009
92009
92160
92160
92160
92172
92172
92172
Part Item Information
ITEM NAME REF # PART NUMBER QUANTITY DESTINATION REMARKS
COVER,METER,LWR 14091 14091-1739 1
COVER-METER CASE,UPP 25023 25023-0047 1
METER-ASSY,COMBINATION 25031 25031-0436 1
METER-ASSY,COMBINATION,ABS 25031A 25031-0618 1
METER,TACHO&LCD 28011 28011-0583 1
METER,TACHO&LCD 28011A 28011-0631 1
SCREW,TAPPING,3X16 92009 92009-1391 9
DAMPER,10X20X12 92160 92160-1167 3
SCREW,TAPPING,WP,5X14 92172 92172-0441 3