Skip to main content

Parts Diagrams

customer service agent speaking with a customer

Welcome, Kawasaki owners. Access the information and tools you need to get the most out of your vehicle.

Welcome, Kawasaki owners. Access the information and tools you need to get the most out of your vehicle.

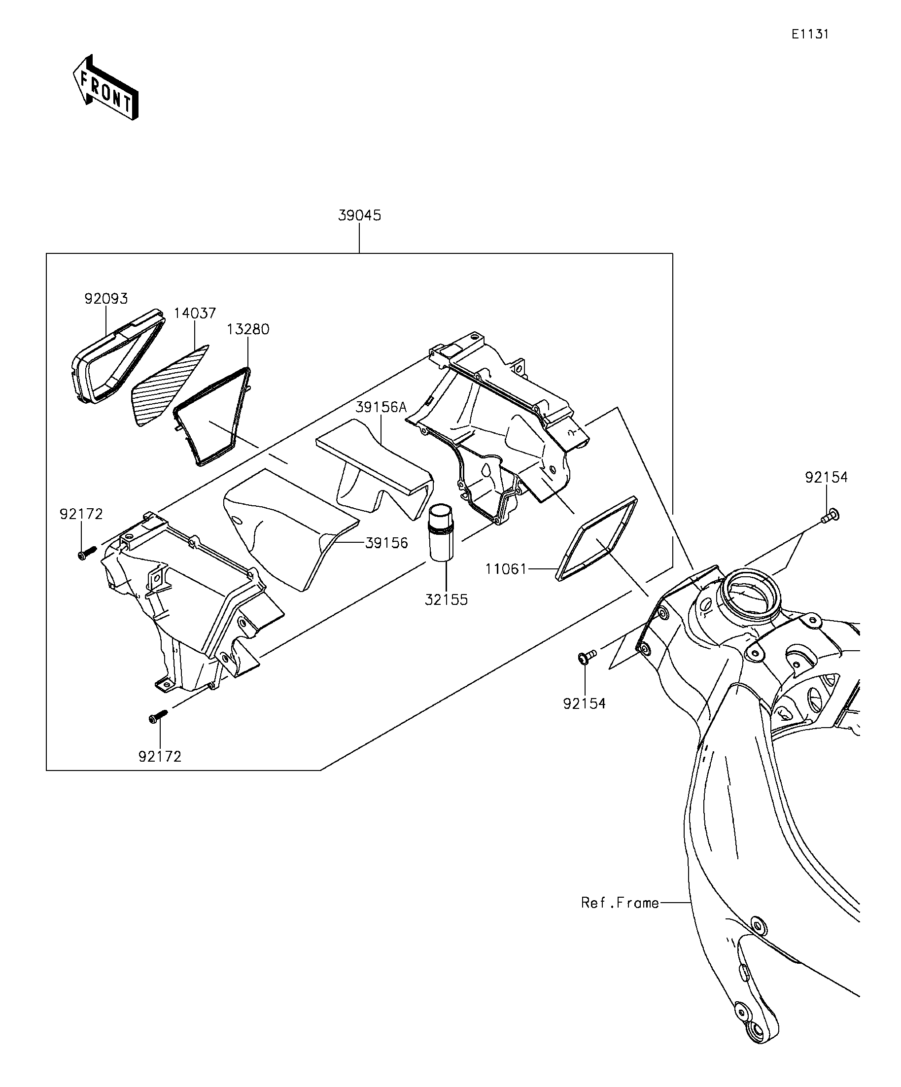
11061
13280
14037
32155
39045
39156
39156A
92093
92154
92154
92172
92172
Part Item Information
ITEM NAME REF # PART NUMBER QUANTITY DESTINATION REMARKS
GASKET 11061 11061-0825 1
HOLDER,DUST 13280 13280-0757 1
SCREEN 14037 14037-0746 1
PIPE 32155 32155-1275 1
DUCT-ASSY,RAM AIR 39045 39045-0057 1
PAD,LH 39156 39156-0901 1
PAD,RH 39156A 39156-0902 1
SEAL 92093 92093-0589 1
BOLT,FLANGE BUTTON,6X18 92154 92154-0996 4
SCREW,TAPPING,5X20 92172 92172-0009 7