Skip to main content

Parts Diagrams

customer service agent speaking with a customer

Welcome, Kawasaki owners. Access the information and tools you need to get the most out of your vehicle.

Welcome, Kawasaki owners. Access the information and tools you need to get the most out of your vehicle.

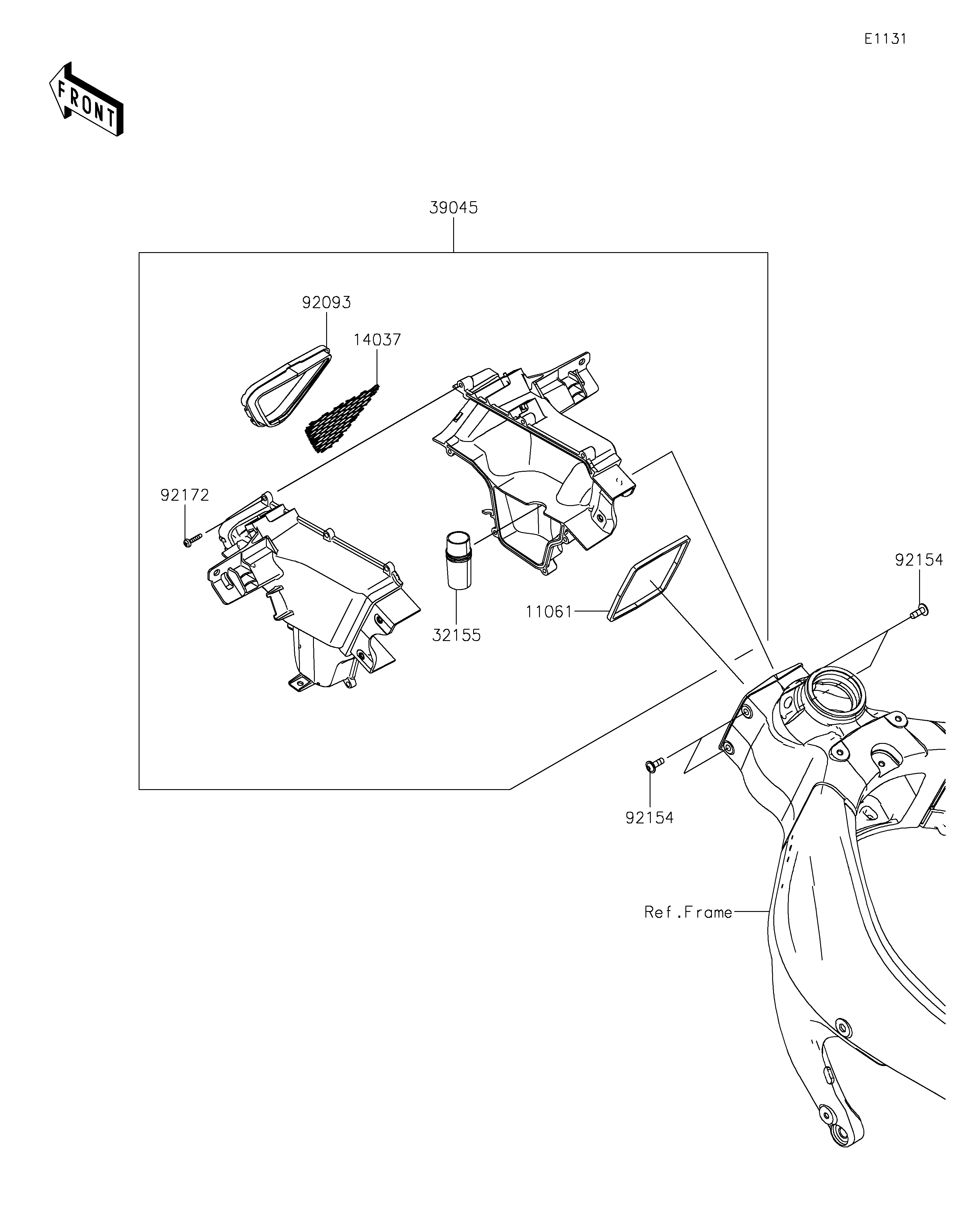
11061
14037
32155
39045
92093
92154
92154
92172
Part Item Information
ITEM NAME REF # PART NUMBER QUANTITY DESTINATION REMARKS
GASKET 11061 11061-0825 1
SCREEN 14037 14037-0796 1
PIPE 32155 32155-1275 1
DUCT-ASSY,RAM AIR 39045 39045-0047 1
SEAL 92093 92093-0724 1
BOLT,FLANGED,BUTTON,6X18 92154 92154-1882 4
SCREW,TAPPING,5X20 92172 92172-0009 7