Skip to main content

Parts Diagrams

customer service agent speaking with a customer

Welcome, Kawasaki owners. Access the information and tools you need to get the most out of your vehicle.

Welcome, Kawasaki owners. Access the information and tools you need to get the most out of your vehicle.

35038
92039
92039
92153
92153
92154
92154
92173
92173A
92200
92200
92200A
92200A
92200A
92200A
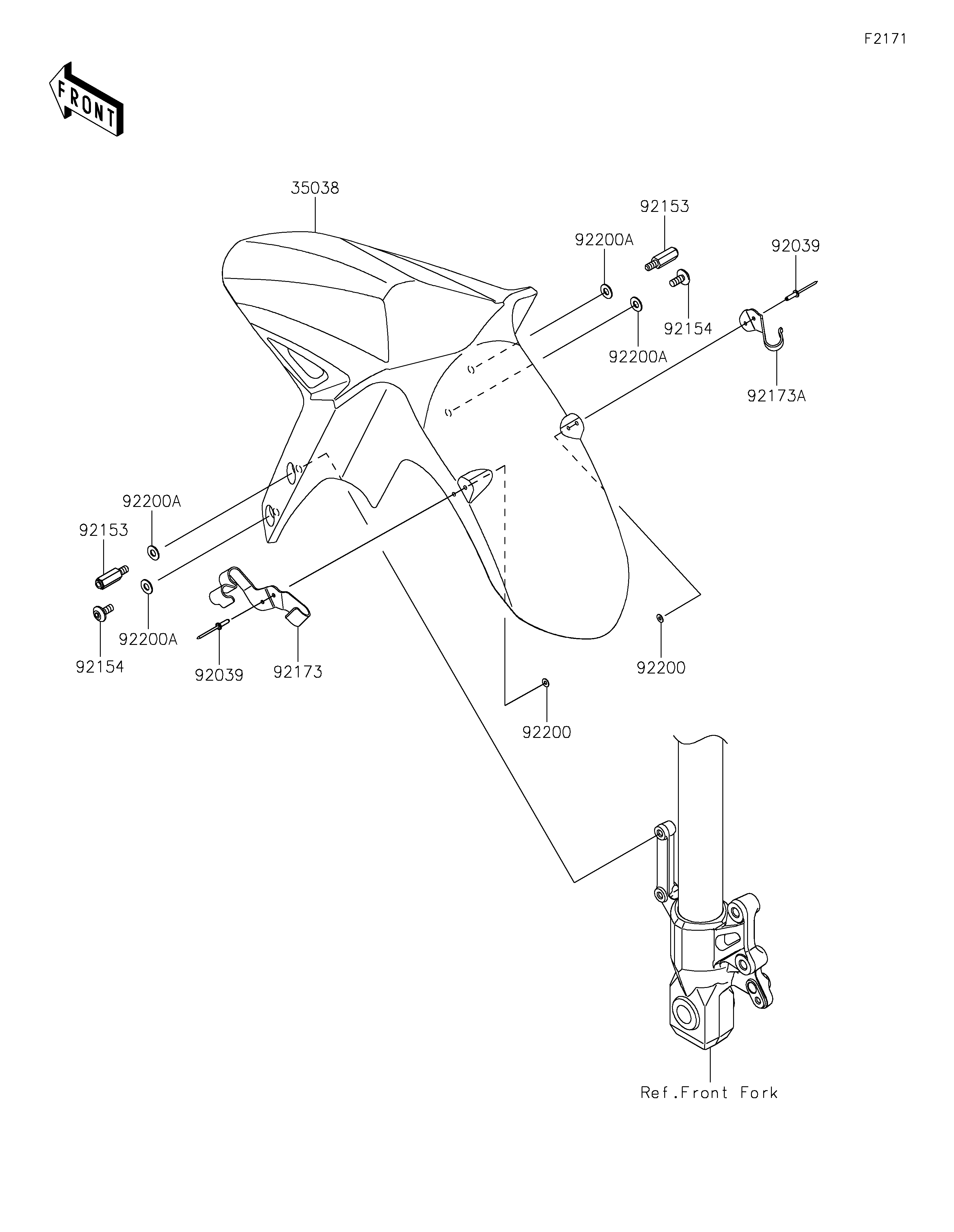
Part Item Information
ITEM NAME REF # PART NUMBER QUANTITY DESTINATION REMARKS
FENDER-FRONT,M.D.BLUE 35038 35038-0010-79L 1
RIVET 92039 92039-0705 4
BOLT,6MM 92153 92153-1533 2
BOLT,SOCKET,6X14 92154 92154-0932 2
CLAMP,FENDER,LH 92173 92173-1286 1
CLAMP,FENDER,RH 92173A 92173-1287 1
WASHER,3.3X8X0.5 92200 92200-0514 4
WASHER,6.5X14X1 92200A 92200-1388 4