Skip to main content

Parts Diagrams

customer service agent speaking with a customer

Welcome, Kawasaki owners. Access the information and tools you need to get the most out of your vehicle.

Welcome, Kawasaki owners. Access the information and tools you need to get the most out of your vehicle.

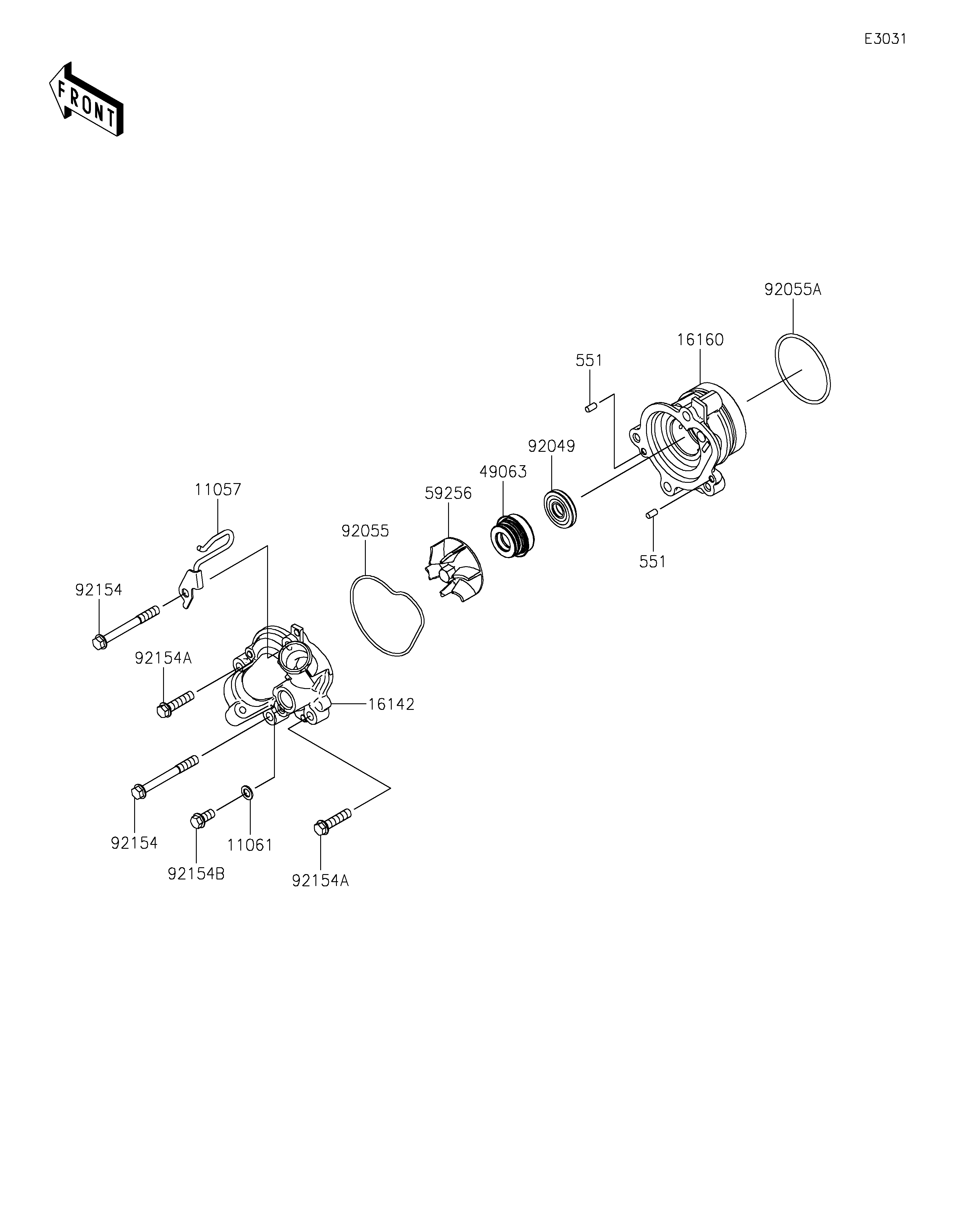
2025 NINJA® ZX-4RR KRT EDITION ABS - Water Pump

11057
11061
16142
16160
49063
59256
92049
92055
92055A
92154
92154
92154A
92154A
92154B
551
551
Part Item Information
ITEM NAME REF # PART NUMBER QUANTITY DESTINATION REMARKS
BRACKET 11057 11057-4085 1
GASKET 11061 11061-0107 1
COVER-PUMP,WATER 16142 16142-0775 1
BODY,WATER PUMP 16160 16160-0846 1
SEAL-MECHANICAL 49063 49063-1055 1
IMPELLER 59256 59256-0554 1
SEAL-OIL 92049 92049-0798 1
RING-O,WATER PUMP COVER 92055 92055-0942 1
RING-O,WATER PUMP BODY 92055A 92055-0943 1
BOLT,FLANGED,6X55 92154 92154-1288 2
BOLT,FLANGED,6X25 92154A 92154-7030 2
BOLT,FLANGED,6X12 92154B 92154-7036 1
PIN-DOWEL,4X8 551 551A0408 2