Skip to main content

Parts Diagrams

customer service agent speaking with a customer

Welcome, Kawasaki owners. Access the information and tools you need to get the most out of your vehicle.

Welcome, Kawasaki owners. Access the information and tools you need to get the most out of your vehicle.

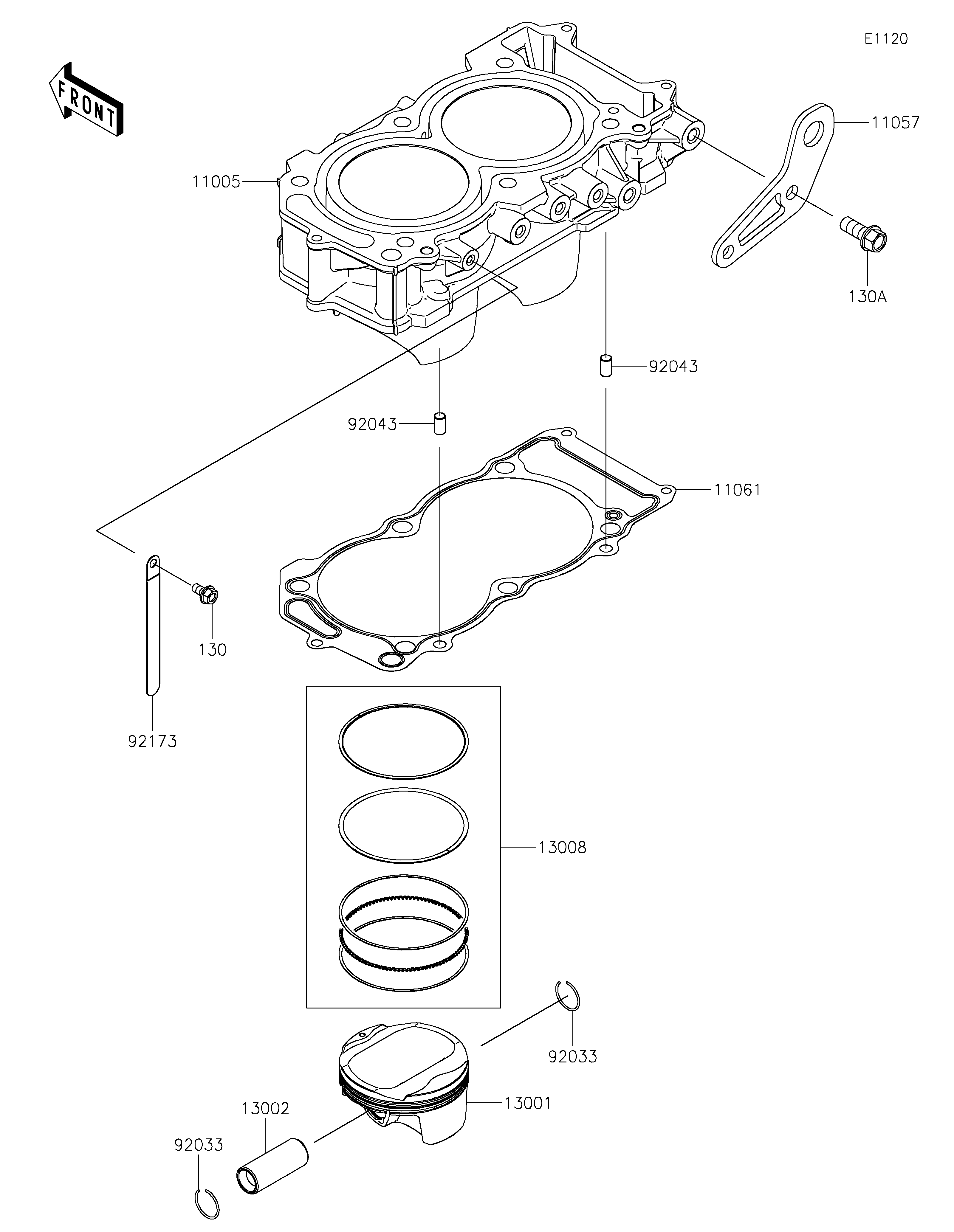
2026 Teryx KRX 1000 Blackout Edition - Cylinder/Piston(s)

11005
11057
11061
13001
13002
13008
92033
92033
92043
92043
92173
130
130A
Part Item Information
ITEM NAME REF # PART NUMBER QUANTITY DESTINATION REMARKS
CYLINDER-ENGINE 11005 11005-0695 1
BRACKET 11057 11057-2438 1
GASKET,CYLINDER BASE 11061 11061-1309 1
PISTON-ENGINE 13001 13001-0824 2
PIN-PISTON 13002 13002-0719 2
RING-SET-PISTON 13008 13008-0581 2
RING-SNAP 92033 92033-1188 4
PIN,8X14 92043 92043-1567 2
CLAMP 92173 92173-0098 1
BOLT-FLANGED,6X12 130 130BA0612 1
BOLT-FLANGED,10X25 130A 130BA1025 2